GM Service Manual Online
For 1990-2009 cars only
Connector 1: Amplifier C1 (UQ3)
Connector 2: Amplifier C1 (UQA)
Connector 3: Amplifier C2 (UQ3)
Connector 4: Amplifier C2 (UQA)
Connector 5: Amplifier C3 (UQ3)
Connector 6: Amplifier C3 (UQA)
Connector 7: Digital Radio Receiver (DRR) (U2K)
Connector 8: Noise Compensation Microphone (UQA)
Connector 9: Radio C1
Connector 10: Radio C2
Connector 11: Radio C3
Connector 12: Radio Antenna Module (B9Q)
Connector 13: Radio Antenna Module (w/o B9Q)
Connector 14: Speaker - Front Center (UQ3)
Connector 15: Speaker - Front Center (UQA)
Connector 16: Speaker - LF Door (UQ3)
Connector 17: Speaker - LF Door (UQA)
Connector 18: Speaker - LF Tweeter (UQ3)
Connector 19: Speaker - LF Tweeter (UQA)
Connector 20: Speaker - LR Door (UQ3)
Connector 21: Speaker - LR Door (UQA)
Connector 22: Speaker - RF Door (UQ3)
Connector 23: Speaker - RF Door (UQA)
Connector 24: Speaker - RF Tweeter (UQ3)
Connector 25: Speaker - RF Tweeter (UQA)
Connector 26: Speaker - RR Door (UQ3)
Connector 27: Speaker - RR Door (UQA)
Connector 28: Speaker - Subwoofer (UQ3)
Connector 29: Speaker - Subwoofer (UQA)
Connector 30: Video Display (U3Q, Japan)

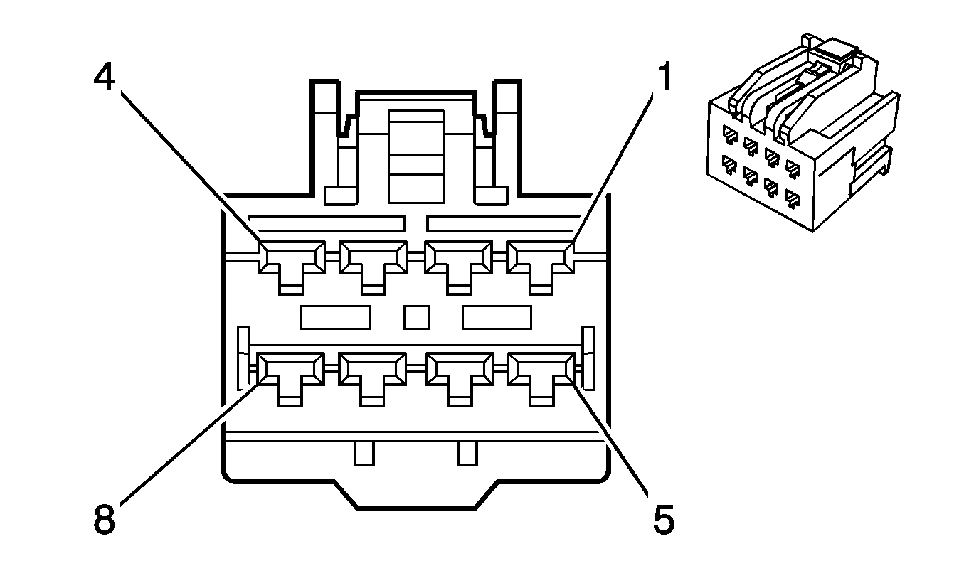
Amplifier C1 (UQ3)


Object Number: 1664463  Size: CH

Connector Part Information

  • OEM: 6098-4713
  • Service: 88988652
  • Description: 8-Way F (BK)

Terminal Part Information

  • Pins: 1, 2
  • Terminal/Tray: 8100-4445/22
  • Core/Insulation Crimp: F/D
  • Release Tool/Test Probe: 15315247/J-35616-35 (VT)
  • Pins: 3, 4, 7, 8
  • Terminal/Tray: 8100-4444/22
  • Core/Insulation Crimp: 2/A
  • Release Tool/Test Probe: 15315247/J-35616-35 (VT)

Amplifier C1 (UQ3)

Pin

Wire Color

Circuit No.

Function

1

TN/D-BU

3440

Battery Positive Voltage

2

BK

550

Ground

3

YE

1860

Front Center Speaker (+)

4

L-BU

1960

Front Center Speaker (-)

5-6

--

--

Not Used

7

PK

6766

Subwoofer Low Level Audio (-)

8

WH

6765

Subwoofer Low Level Audio Signal

Amplifier C1 (UQA)


Object Number: 1664464  Size: CH

Connector Part Information

  • OEM: 6098-4798
  • Service: See Catalog
  • Description: 8-Way F (GY)

Terminal Part Information

  • Pins: 1, 2, 4, 8
  • Terminal/Tray: 8100-4445/22
  • Core/Insulation Crimp: Pins 1, 2 - 4/4
  • Core/Insulation Crimp: Pins 4, 8 - F/D
  • Release Tool/Test Probe: 15315247/J-35616-35 (VT)

Amplifier C1 (UQA)

Pin

Wire Color

Circuit No.

Function

1

WH

6765

Subwoofer Low Level Audio Signal

2

TN/PK

6766

Subwoofer Low Level Audio (-)

3

--

--

Not Used

4

TN/D-BU

3440

Battery Positive Voltage

5-7

--

--

Not Used

8

BK

550

Ground

Amplifier C2 (UQ3)


Object Number: 1664465  Size: CH

Connector Part Information

  • OEM: 6098-4611
  • Service: 15134091
  • Description: 16-Way F (BK)

Terminal Part Information

  • Pins: 1, 2, 3, 4
  • Terminal/Tray: 8240-0127/22
  • Core/Insulation Crimp: E/C
  • Release Tool/Test Probe: 15315247/J-35616-2A (GY)
  • Pins: 5, 6, 7, 8, 13, 14, 15, 16
  • Terminal/Tray: 8240-0128/22
  • Core/Insulation Crimp: C/A
  • Release Tool/Test Probe: 15315247/J-35616-2A (GY)

Amplifier C2 (UQ3)

Pin

Wire Color

Circuit No.

Function

1

TN/L-BU

1856

Left Front Tweeter Speaker (+)

2

YE

1956

Left Front Tweeter Speaker (-)

3

L-GN/BK

1852

Right Front Tweeter Speaker (+)

4

PU

1952

Right Front Tweeter Speaker (-)

5

WH

1959

Left Rear Midrange Speaker (-)

6

TN/OG

1859

Left Rear Midrange Speaker (+)

7

OG

1955

Right Rear Midrange Speaker (-)

8

TN/BK

1855

Right Rear Midrange Speaker (+)

9-12

--

--

Not Used

13

L-GN

200

Right Front Speaker (+)

14

PK/BK

117

Right Front Speaker Output (-)

15

TN

201

Left Front Speaker (+)

16

GY

118

Left Front Speaker Signal (-)

Amplifier C2 (UQA)


Object Number: 1664465  Size: CH

Connector Part Information

  • OEM: 6098-4611
  • Service: 15134091
  • Description: 16-Way F (BK)

Terminal Part Information

  • Pins: 1, 12, 13
  • Terminal/Tray: 8240-0127/22
  • Core/Insulation Crimp: E/C
  • Release Tool/Test Probe: 15315247/J-35616-2A (GY)
  • Pins: 4, 5, 6, 7, 8, 14, 15, 16
  • Terminal/Tray: 8240-0128/22
  • Core/Insulation Crimp: Pins 4, 5, 6, 7 - See Terminal Repair Kit
  • Core/Insulation Crimp: Pins 8, 14, 15, 16 - C/A
  • Release Tool/Test Probe: 15315247/J-35616-2A (GY)

Amplifier C2 (UQA)

Pin

Wire Color

Circuit No.

Function

1

D-GN

5060

Low Speed GMLAN Serial Data

2-3

--

--

Not Used

4

TN

201

Left Front Speaker (+)

5

GY

118

Left Front Speaker Signal (-)

6

PK/BK

117

Right Front Speaker Signal (-)

7

L-GN

200

Right Front Speaker (+) (Early Production)

L-GN/BK

200

Right Front Speaker (+) (Late Production)

8

OG

1955

Right Rear Midrange Speaker (-)

9-11

--

--

Not Used

12

L-BU

1960

Front Center Speaker (-)

13

YE

1860

Front Center Speaker (+)

14

WH

1959

Left Rear Midrange Speaker (-)

15

TN/OG

1859

Left Rear Midrange Speaker (+)

16

TN/BK

1855

Right Rear Midrange Speaker (+)

Amplifier C3 (UQ3)


Object Number: 1664488  Size: CH

Connector Part Information

  • OEM: 7283-9078-80
  • Service: 15136074
  • Description: 16-Way F (BN)

Terminal Part Information

  • Pins: 1, 2, 3, 4, 6, 9, 10, 11, 12, 16
  • Terminal/Tray: 7116-4618-02/14
  • Core/Insulation Crimp: P/P
  • Release Tool/Test Probe: J-38125-215/J-35616-64B (L-BU)

Amplifier C3 (UQ3)

Pin

Wire Color

Circuit No.

Function

1

TN

511

Left Front Low Level Audio Signal

2

D-GN/RD

1947

Left Front Low Level Audio (-)

3

BN

1999

Left Rear Low Level Audio (-)

4

BN/WH

599

Left Rear Low Level Audio Signal

5

--

--

Not Used

6

PK

5165

Antenna 14-Volt Switched Supply Voltage

7-8

--

--

Not Used

9

L-GN

1948

Right Front Low Level Audio (-)

10

L-GN/WH

512

Right Front Low Level Audio Signal

11

D-BU

546

Right Rear Low Level Audio Signal

12

TN/RD

1946

Right Rear Low Level Audio (-)

13-15

--

--

Not Used

16

PU

2334

Amplifier Control

Amplifier C3 (UQA)


Object Number: 1664490  Size: CH

Connector Part Information

  • OEM: 7283-9076-30
  • Service: 15136073
  • Description: 16-Way F (BK)

Terminal Part Information

  • Pins: 3, 4, 5, 6, 11, 12, 13, 14
  • Terminal/Tray: 7116-4618-02/14
  • Core/Insulation Crimp: P/P
  • Release Tool/Test Probe: J-38125-215/J-35616-64B (L-BU)

Amplifier C3 (UQA)

Pin

Wire Color

Circuit No.

Function

1-2

--

--

Not Used

3

L-GN/WH

512

Right Front Low Level Audio Signal

4

L-GN

1948

Right Front Low Level Audio (-)

5

D-BU

658

Cellular Telephone Voice Signal

6

BK

514

Drain Wire

7-10

--

--

Not Used

11

TN

511

Left Front Low Level Audio Signal

12

D-GN/RD

1947

Left Front Low Level Audio (-)

13

L-BU/BK

659

Cellular Telephone Voice Low Reference

14

D-GN/WH

1488

Noise Reduction Microphone (+)

15-16

--

--

Not Used

Digital Radio Receiver (DRR) (U2K)


Object Number: 1664490  Size: CH

Connector Part Information

  • OEM: 7283-9076-30
  • Service: 15136073
  • Description: 16-Way F (BK)

Terminal Part Information

  • Pins: 1, 2, 3, 4, 5, 9, 16
  • Terminal/Tray: 7116-4618-02/14
  • Core/Insulation Crimp: P/P
  • Release Tool/Test Probe: J-38125-215/J-35616-64B (L-BU)

Digital Radio Receiver (DRR) (U2K)

Pin

Wire Color

Circuit No.

Function

1

TN/WH

372

Remote Radio Audio (-)

2

BN/WH

367

Remote Radio Left Audio Signal

3

GY

388

Remote Radio Right Audio Signal (2)

4

D-GN/WH

368

Remote Radio Right Audio Signal (1)

5

D-GN

5060

Low Speed GMLAN Serial Data

6-8

--

--

Not Used

9

BK

550

Ground

10-15

--

--

Not Used

16

PK/BN

2340

Battery Positive Voltage

Noise Compensation Microphone (UQA)


Object Number: 258301  Size: CH

Connector Part Information

  • OEM: 12059254
  • Service: 12126020
  • Description: 2-Way M Metri-Pack 150 Series (GN)

Terminal Part Information

  • Terminal/Tray: 12047581/2
  • Core/Insulation Crimp: E/C
  • Release Tool/Test Probe: 12094429/J-35616-3 (GY)

Noise Compensation Microphone (UQA)

Pin

Wire Color

Circuit No.

Function

A

BK

514

Drain Wire

B

D-GN/WH

1488

Noise Reduction Microphone (+)

Radio C1


Object Number: 1664602  Size: CH

Connector Part Information

  • OEM: 7283-4490-30
  • Service: See Catalog
  • Description: 14-Way F (BK)

Terminal Part Information

  • Pins: 1, 8
  • Terminal/Tray: 12191812/19
  • Core/Insulation Crimp: C/A
  • Release Tool/Test Probe: 15315247/J-35616-2A (GY)
  • Pins: 2, 3, 4, 4, 5, 5, 6, 7, 9, 10, 11, 12, 13, 14
  • Terminal/Tray: 7116-4618-02/14
  • Core/Insulation Crimp: P/P
  • Release Tool/Test Probe: J-38125-215/J-35616-64B (L-BU)

Radio C1

Pin

Wire Color

Circuit No.

Function

1

D-GN/TN

2040

Battery Positive Voltage

2

TN

511

Left Front Low Level Audio Signal

3

L-GN/WH

512

Right Front Low Level Audio Signal

4

GY/WH

655

Navigation Voice Signal (w/o UE1)

GY/BK

7043

Voice Recognition Audio Signal (U3R, U3U)

5

BK

1489

Drain Wire (w/o UE1)

PK/BK

7044

Voice Recognition Audio Low Reference (w/U3R, U3U)

6

PK

5165

Antenna 14-Volt Switched Supply Voltage

7

YE

1491

Backlight Lamp Control

8

BK

550

Ground

9

D-GN/RD

1947

Left Front Low Level Audio (-)

10

L-GN

1948

Right Front Low Level Audio (-)

11

BK/WH

1573

Front Audio Drain Wire

12

OG

1486

FM Composite Band Selector Signal

13

D-GN

5060

Low Speed GMLAN Serial Data

14

D-GN

5060

Low Speed GMLAN Serial Data

Radio C2


Object Number: 1664490  Size: CH

Connector Part Information

  • OEM: 7283-9076-30
  • Service: 15136073
  • Description: 16-Way F (BK)

Terminal Part Information

  • Pins: 1, 2, 3, 5, 6, 7, 8, 9, 10, 11, 13, 14, 15
  • Terminal/Tray: 7116-4618-02/14
  • Core/Insulation Crimp: P/P
  • Release Tool/Test Probe: J-38125-215/J-35616-64B (L-BU)

Radio C2

Pin

Wire Color

Circuit No.

Function

1

BN/WH

367

Remote Radio Left Audio Signal

2

GY

388

Remote Radio Right Audio Signal (2)

3

BK/YE

1574

Rear Audio Drain Wire

4

--

--

Not Used

5

BN/WH

599

Left Rear Low Level Audio Signal

6

D-BU

546

Right Rear Low Level Audio Signal

7

OG/BK

1406

Remote Playback Device Left Audio Signal

8

PU

2334

Amplifier Control

9

TN/WH

372

Remote Radio Audio (-)

10

D-GN/WH

368

Remote Radio Right Audio Signal (1)

11

BK/TN

1705

Drain Wire

12

--

--

Not Used

13

BN

1999

Left Rear Low Level Audio (-)

14

TN/RD

1946

Right Rear Low Level Audio (-)

15

L-BU

1405

Remote Playback Device Audio Common Signal

16

--

--

Not Used

Radio C3


Object Number: 1664488  Size: CH

Connector Part Information

  • OEM: 7283-9078-80
  • Service: 15136074
  • Description: 16-Way F (BN)

Terminal Part Information

  • Pins: 1, 2, 5, 8, 9, 10, 15, 16
  • Terminal/Tray: 7116-4618-02/14
  • Core/Insulation Crimp: P/P
  • Release Tool/Test Probe: J-38125-215/J-35616-64B (L-BU)
  • Pins: 6, 7
  • Terminal/Tray: See Terminal Repair Kit
  • Core/Insulation Crimp: See Terminal Repair Kit
  • Release Tool/Test Probe: See Terminal Repair Kit

Radio C3

Pin

Wire Color

Circuit No.

Function

1

GY

5383

Navigation Display Serial Data Low

2

BK

1782

Ground

3-4

--

--

Not Used

5

D-GN/WH

817

Vehicle Speed Signal

6

TN/BK

5147

Video Synchronization Low Reference (1)

7

BK

5324

Video Screen

8

D-BU

658

Cellular Telephone Voice Signal (w/UQA, U3R)

9

BN

5384

Navigation Display Serial Data High

10

YE

5385

Switch Power

11-14

--

--

Not Used

15

BK/YE

701

Drain Wire (w/UQA, U3R)

16

L-BU/BK

659

Cellular Telephone Voice Low Reference (w/UQA, U3R)

Radio Antenna Module (B9Q)


Object Number: 333042  Size: CH

Connector Part Information

  • OEM: 12020013
  • Service: 12102668
  • Description: 3-Way F Metri-Pack Mixed Series (GY)

Terminal Part Information

  • Pins: A, C
  • Terminal/Tray: See Terminal Repair Kit
  • Core/Insulation Crimp: See Terminal Repair Kit
  • Release Tool/Test Probe: See Terminal Repair Kit
  • Pins: B
  • Terminal/Tray: 12015860/4
  • Core/Insulation Crimp: E/A
  • Release Tool/Test Probe: 12094430/J-35616-40 (BU)

Radio Antenna Module (B9Q)

Pin

Wire Color

Circuit No.

Function

A

PK/TN

3240

Battery Positive Voltage

B

PK

5165

Antenna 14-Volt Switched Supply Voltage

C

BK

450

Ground

Radio Antenna Module (w/o B9Q)


Object Number: 1664518  Size: CH

Connector Part Information

  • OEM: 172165-1
  • Service: 89046733
  • Description: 2-Way M (WH)

Terminal Part Information

  • Terminal/Tray: 770904-1/25
  • Core/Insulation Crimp: E/2
  • Release Tool/Test Probe: J-38125-220/J-35616-6 (BN)

Radio Antenna Module (w/o B9Q)

Pin

Wire Color

Circuit No.

Function

1

PK

5165

Antenna 14-Volt Switched Supply Voltage

2

OG

1486

FM Composite Band Selector Signal

Speaker - Front Center (UQ3)


Object Number: 130724  Size: CH

Connector Part Information

  • OEM: 12064869
  • Service: 12117323
  • Description: 2-Way F Metri-Pack 150 Series (BU)

Terminal Part Information

  • Terminal/Tray: 12047767/2
  • Core/Insulation Crimp: E/A
  • Release Tool/Test Probe: 12094429/J-35616-2A (GY)

Speaker - Front Center (UQ3)

Pin

Wire Color

Circuit No.

Function

A

L-BU

1960

Front Center Speaker (-)

B

YE

1860

Front Center Speaker (+)

Speaker - Front Center (UQA)


Object Number: 280768  Size: CH

Connector Part Information

  • OEM: 12052832
  • Service: 12101825
  • Description: 2-Way F Metri-Pack 150 Series (BK)

Terminal Part Information

  • Terminal/Tray: 12064971/5
  • Core/Insulation Crimp: E/C
  • Release Tool/Test Probe: 12094429/J-35616-2A (GY)

Speaker - Front Center (UQA)

Pin

Wire Color

Circuit No.

Function

A

L-BU

1960

Front Center Speaker (-)

B

YE

1860

Front Center Speaker (+)

Speaker - LF Door (UQ3)


Object Number: 130724  Size: CH

Connector Part Information

  • OEM: 12064869
  • Service: 12117323
  • Description: 2-Way F Metri-Pack 150 Series (BU)

Terminal Part Information

  • Terminal/Tray: 12047767/2
  • Core/Insulation Crimp: E/A
  • Release Tool/Test Probe: 12094429/J-35616-2A (GY)

Speaker - LF Door (UQ3)

Pin

Wire Color

Circuit No.

Function

A

GY

118

Left Front Speaker Signal (-)

B

TN

201

Left Front Speaker (+)

Speaker - LF Door (UQA)


Object Number: 280768  Size: CH

Connector Part Information

  • OEM: 12052832
  • Service: 12101825
  • Description: 2-Way F Metri-Pack 150 Series (BK)

Terminal Part Information

  • Terminal/Tray: 12047767/2
  • Core/Insulation Crimp: E/A
  • Release Tool/Test Probe: 12094429/J-35616-2A (GY)

Speaker - LF Door (UQA)

Pin

Wire Color

Circuit No.

Function

A

GY

118

Left Front Speaker Signal (-)

B

TN

201

Left Front Speaker (+)

Speaker - LF Tweeter (UQ3)


Object Number: 766913  Size: CH

Connector Part Information

  • OEM: 12052833
  • Service: 12117275
  • Description: 2-Way M Metri-Pack 150 Series (BK)

Terminal Part Information

  • Terminal/Tray: 12047581/2
  • Core/Insulation Crimp: E/C
  • Release Tool/Test Probe: 12094429/J-35616-3 (GY)

Speaker - LF Tweeter (UQ3)

Pin

Wire Color

Circuit No.

Function

A

YE

1956

Left Front Tweeter Speaker (-)

B

TN/L-BU

1856

Left Front Tweeter Speaker (+)

Speaker - LF Tweeter (UQA)


Object Number: 766913  Size: CH

Connector Part Information

  • OEM: 12052833
  • Service: 12117275
  • Description: 2-Way M Metri-Pack 150 Series (BK)

Terminal Part Information

  • Terminal/Tray: 12047581/2
  • Core/Insulation Crimp: E/C
  • Release Tool/Test Probe: 12094429/J-35616-3 (GY)

Speaker - LF Tweeter (UQA)

Pin

Wire Color

Circuit No.

Function

A

GY

118

Left Front Speaker Signal (-)

B

TN

201

Left Front Speaker (+)

Speaker - LR Door (UQ3)


Object Number: 130724  Size: CH

Connector Part Information

  • OEM: 12064869
  • Service: 12117323
  • Description: 2-Way F Metri-Pack 150 Series (BU)

Terminal Part Information

  • Terminal/Tray: 12047767/2
  • Core/Insulation Crimp: E/A
  • Release Tool/Test Probe: 12094429/J-35616-2A (GY)

Speaker - LR Door (UQ3)

Pin

Wire Color

Circuit No.

Function

A

WH

1959

Left Rear Midrange Speaker (-)

B

TN/OG

1859

Left Rear Midrange Speaker (+)

Speaker - LR Door (UQA)


Object Number: 280768  Size: CH

Connector Part Information

  • OEM: 12052832
  • Service: 12101825
  • Description: 2-Way F Metri-Pack 150 Series (BK)

Terminal Part Information

  • Terminal/Tray: 12047767/2
  • Core/Insulation Crimp: E/A
  • Release Tool/Test Probe: 12094429/J-35616-2A (GY)

Speaker - LR Door (UQA)

Pin

Wire Color

Circuit No.

Function

A

WH

1959

Left Rear Midrange Speaker (-)

B

TN/OG

1859

Left Rear Midrange Speaker (+)

Speaker - RF Door (UQ3)


Object Number: 130724  Size: CH

Connector Part Information

  • OEM: 12064869
  • Service: 12117323
  • Description: 2-Way F Metri-Pack 150 Series (BU)

Terminal Part Information

  • Terminal/Tray: 12047767/2
  • Core/Insulation Crimp: E/A
  • Release Tool/Test Probe: 12094429/J-35616-2A (GY)

Speaker - RF Door (UQ3)

Pin

Wire Color

Circuit No.

Function

A

PK/BK

117

Right Front Speaker Signal (-)

B

L-GN

200

Right Front Speaker (+)

Speaker - RF Door (UQA)


Object Number: 280768  Size: CH

Connector Part Information

  • OEM: 12052832
  • Service: 12101825
  • Description: 2-Way F Metri-Pack 150 Series (BK)

Terminal Part Information

  • Terminal/Tray: 12047767/2
  • Core/Insulation Crimp: E/A
  • Release Tool/Test Probe: 12094429/J-35616-2A (GY)

Speaker - RF Door (UQA)

Pin

Wire Color

Circuit No.

Function

A

PK/BK

117

Right Front Speaker Signal (-)

B

L-GN

200

Right Front Speaker (+)

Speaker - RF Tweeter (UQ3)


Object Number: 766913  Size: CH

Connector Part Information

  • OEM: 12052833
  • Service: 12117275
  • Description: 2-Way M Metri-Pack 150 Series (BK)

Terminal Part Information

  • Terminal/Tray: 12047581/2
  • Core/Insulation Crimp: E/C
  • Release Tool/Test Probe: 12094429/J-35616-3 (GY)

Speaker - RF Tweeter (UQ3)

Pin

Wire Color

Circuit No.

Function

A

PU

1952

Right Front Tweeter Speaker (-)

B

L-GN/BK

1852

Right Front Tweeter Speaker (+)

Speaker - RF Tweeter (UQA)


Object Number: 766913  Size: CH

Connector Part Information

  • OEM: 12052833
  • Service: 12117275
  • Description: 2-Way M Metri-Pack 150 Series (BK)

Terminal Part Information

  • Terminal/Tray: 12047581/2
  • Core/Insulation Crimp: E/C
  • Release Tool/Test Probe: 12094429/J-35616-3 (GY)

Speaker - RF Tweeter (UQA)

Pin

Wire Color

Circuit No.

Function

A

PK/BK

117

Right Front Speaker Signal (-)

B

L-GN

200

Right Front Speaker (+) (Early Production)

L-GN/BK

200

Right Front Speaker (+) (Late Production)

Speaker - RR Door (UQ3)


Object Number: 130724  Size: CH

Connector Part Information

  • OEM: 12064869
  • Service: 12117323
  • Description: 2-Way F Metri-Pack 150 Series (BU)

Terminal Part Information

  • Terminal/Tray: See Terminal Repair Kit
  • Core/Insulation Crimp: See Terminal Repair Kit
  • Release Tool/Test Probe: See Terminal Repair Kit

Speaker - RR Door (UQ3)

Pin

Wire Color

Circuit No.

Function

A

OG

1955

Right Rear Midrange Speaker (-)

B

TN/BK

1855

Right Rear Midrange Speaker (+)

Speaker - RR Door (UQA)


Object Number: 280768  Size: CH

Connector Part Information

  • OEM: 12052832
  • Service: 12101825
  • Description: 2-Way F Metri-Pack 150 Series (BK)

Terminal Part Information

  • Terminal/Tray: See Terminal Repair Kit
  • Core/Insulation Crimp: See Terminal Repair Kit
  • Release Tool/Test Probe: See Terminal Repair Kit

Speaker - RR Door (UQA)

Pin

Wire Color

Circuit No.

Function

A

OG

1955

Right Rear Midrange Speaker (-)

B

TN/BK

1855

Right Rear Midrange Speaker (+)

Speaker - Subwoofer (UQ3)


Object Number: 130724  Size: CH

Connector Part Information

  • OEM: 12064869
  • Service: 12117323
  • Description: 2-Way F Metri-Pack 150 Series (BU)

Terminal Part Information

  • Terminal/Tray: 12047767/2
  • Core/Insulation Crimp: E/A
  • Release Tool/Test Probe: 12094429/J-35616-2A (GY)

Speaker - Subwoofer (UQ3)

Pin

Wire Color

Circuit No.

Function

A

PK

6766

Subwoofer Low Level Audio (-)

B

WH

6765

Subwoofer Low Level Audio Signal

Speaker - Subwoofer (UQA)


Object Number: 153645  Size: CH

Connector Part Information

  • OEM: 12129081
  • Service: 12129081
  • Description: 2-Way F Metri-Pack 280 Series, Flexlock (BK)

Terminal Part Information

  • Terminal/Tray: 12110842/4
  • Core/Insulation Crimp: A/B
  • Release Tool/Test Probe: 15315247/J-35616-4A (PU)

Speaker - Subwoofer (UQA)

Pin

Wire Color

Circuit No.

Function

A

TN/PK

6766

Subwoofer Low Level Audio (-)

B

WH

6765

Subwoofer Low Level Audio Signal

Video Display (U3Q, Japan)


Object Number: 1664622  Size: CH

Connector Part Information

  • OEM: 1-1355928-2
  • Service: 88988326
  • Description: 54-Way F (BK)

Terminal Part Information

  • Pins: 3
  • Terminal/Tray: See Terminal Repair Kit
  • Core/Insulation Crimp: See Terminal Repair Kit
  • Release Tool/Test Probe: See Terminal Repair Kit
  • Pins: 5, 6, 7, 8, 9, 13, 14, 19, 20
  • Terminal/Tray: 1411558-2/15
  • Core/Insulation Crimp: J/J
  • Release Tool/Test Probe: 12094429/J-35616-64B (L-BU)

Video Display (U3Q, Japan)

Pin

Wire Color

Circuit No.

Function

1-2

--

--

Not Used

3

D-GN

5060

Low Speed GMLAN Serial Data

4

--

--

Not Used

5

GY

388

Right TV Audio Signal

6

D-GN/WH

368

Right Audio Signal

7

BN/WH

367

Left TV Audio Signal

8

TN/WH

372

TV Audio Low Reference

9

BK/TN

1705

Drain Wire

10-12

--

--

Not Used

13

TN/BK

5147

Video Synchronization Low Reference

14

BK

5324

Video Screen

15-18

--

--

Not Used

19

BK

550

Ground

20

RD/WH

3840

Battery Positive Voltage

21-54

--

--

Not Used