GM Service Manual Online
For 1990-2009 cars only

Front Disc Brake Hardware Replacement J55

Caution: Refer to Brake Dust Caution in the Preface section.


    Object Number: 178630  Size: SH
  1. Remove the front brake caliper from the mounting bracket and support the brake caliper (2) with heavy mechanic's wire (1), or equivalent; do NOT disconnect the hydraulic brake flexible hose from the caliper. Refer to Front Brake Caliper Replacement.

  2. Object Number: 497759  Size: SH
  3. Remove the brake pads from the brake caliper bracket.
  4. Remove the brake pad retainers from the brake caliper bracket.

  5. Object Number: 696684  Size: SH
  6. Remove the front brake caliper bracket. Refer to Front Brake Caliper Bracket Replacement.
  7. Mount the brake caliper bracket in a vise.
  8. Using a flat bladed tool or punch carefully tap the pin bolt boots (1) from the brake caliper bracket (3).
  9. Use a screwdriver or a small hook and carefully pull the bushings inward and remove the bushings from the brake caliper.
  10. Remove the bushings (2) from the brake caliper bracket mounting bores.

  11. Object Number: 105270  Size: SH

    Important: 

       • Clean all parts in clean, denatured alcohol.
       • Dry with non-lubricated compressed air.
       • Inspect the brake caliper bracket for cracks. If cracked, replace the brake caliper bracket.

  12. Apply a thin coat of high temperature silicone lube to the new bushings (2).
  13. Install new bushings (2) into bracket mounting bores.
  14. Apply a thin coat of high temperature silicone lube to the new caliper pin bolt boots (3).
  15. Install the front brake caliper bracket. Refer to Front Brake Caliper Bracket Replacement.
  16. Install the brake pad retainer to the caliper bracket.
  17. Install the brake pads to the caliper bracket.
  18. Install the front brake caliper. Refer to Front Brake Caliper Replacement.

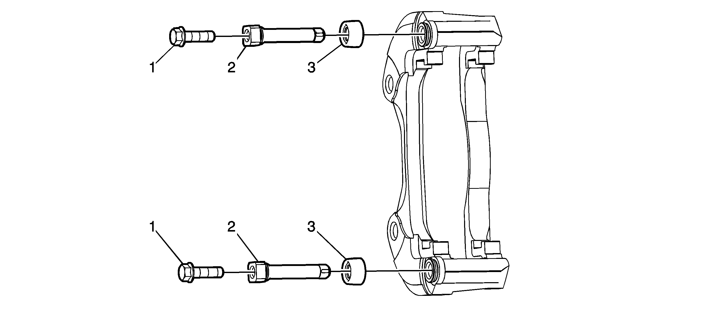
Front Disc Brake Hardware Replacement JL9


Object Number: 1656343  Size: SF

Callout

Component Name

Caution: Refer to Brake Dust Caution in the Preface section.

Notice: Support the brake caliper with heavy mechanic wire, or equivalent, whenever it is separated from its mount and the hydraulic flexible brake hose is still connected. Failure to support the caliper in this manner will cause the flexible brake hose to bear the weight of the caliper, which may cause damage to the brake hose and in turn may cause a brake fluid leak.

Preliminary Procedures

  1. Raise and support the vehicle. Refer to Lifting and Jacking the Vehicle.
  2. Remove the tire and wheel. Refer to Tire and Wheel Removal and Installation.

1

Guide Pin Bolt (Qty: 2)

Notice: Refer to Fastener Notice in the Preface section.

Important: Install an open end wrench to hold the caliper guide pin in line with the brake caliper while removing or installing the caliper guide pin bolt. DO NOT allow the open end wrench to come in contact with the brake caliper.

Tip

    • Hold the guide pin stationary when removing or installing the guide pin bolt.
    • Remove the brake caliper from the caliper bracket and support with heavy mechanics wire or equivalent.

Tighten
36 N·m (27 lb ft)

2

Guide Pin (Qty: 2)

Tip
Apply a small amount of high temperature silicone grease to the guide pins and in the bore for the guide pins.

3

Guide Pin Seal (Qty: 2)

Tip
Ensure the lip of the seal is fully seated in the groove of the guide pin and the caliper bracket.