GM Service Manual Online
For 1990-2009 cars only

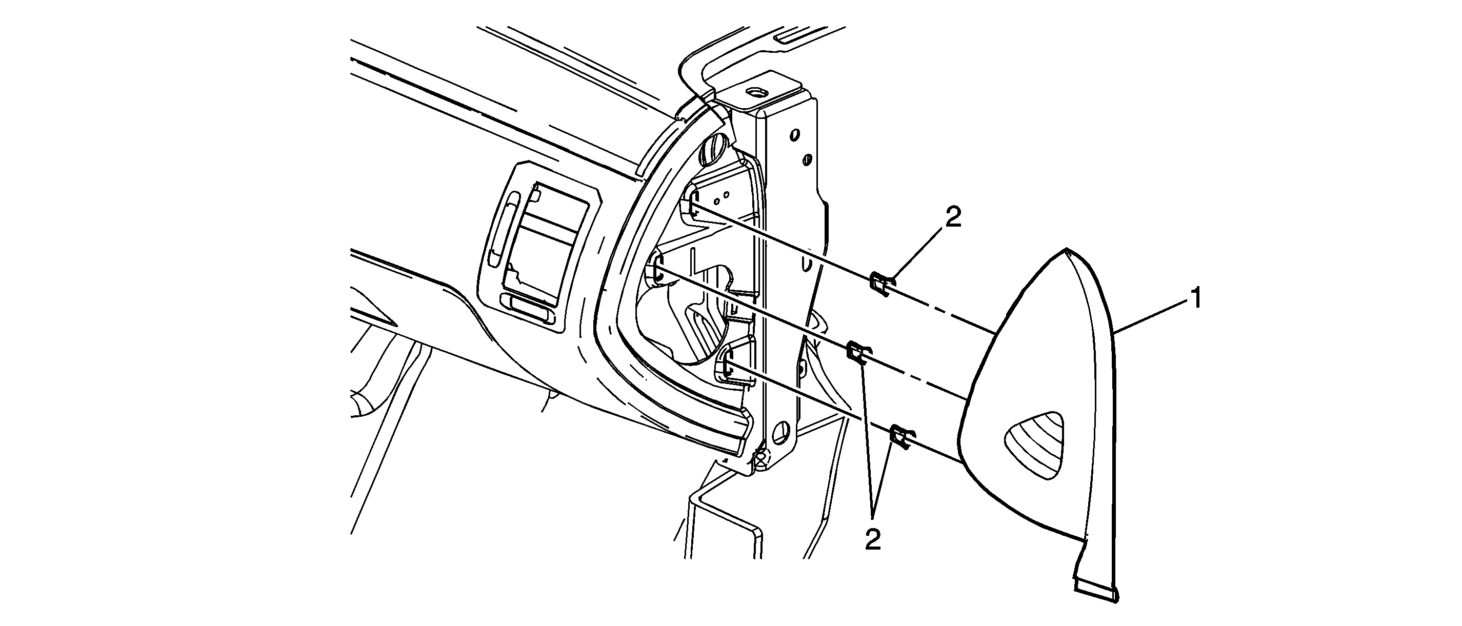
Object Number: 1588034  Size: SF

Callout

Component Name

Fastener Tightening Specifications: Refer to Fastener Tightening Specifications .

1

Instrument Panel Side Trim Panel Assembly

2

Retainer Clip (Qty: 3)