GM Service Manual Online
For 1990-2009 cars only
Makes
🢒
Cadillac
🢒
2006
🢒
DTS
🢒 w/ARC
w/ARC
Master Electrical Component List
Power Seats System Description and Operation
Control Module References
Left Rear Heated Seat Switch w/KA6
Rear Fuse Block B+ Bus
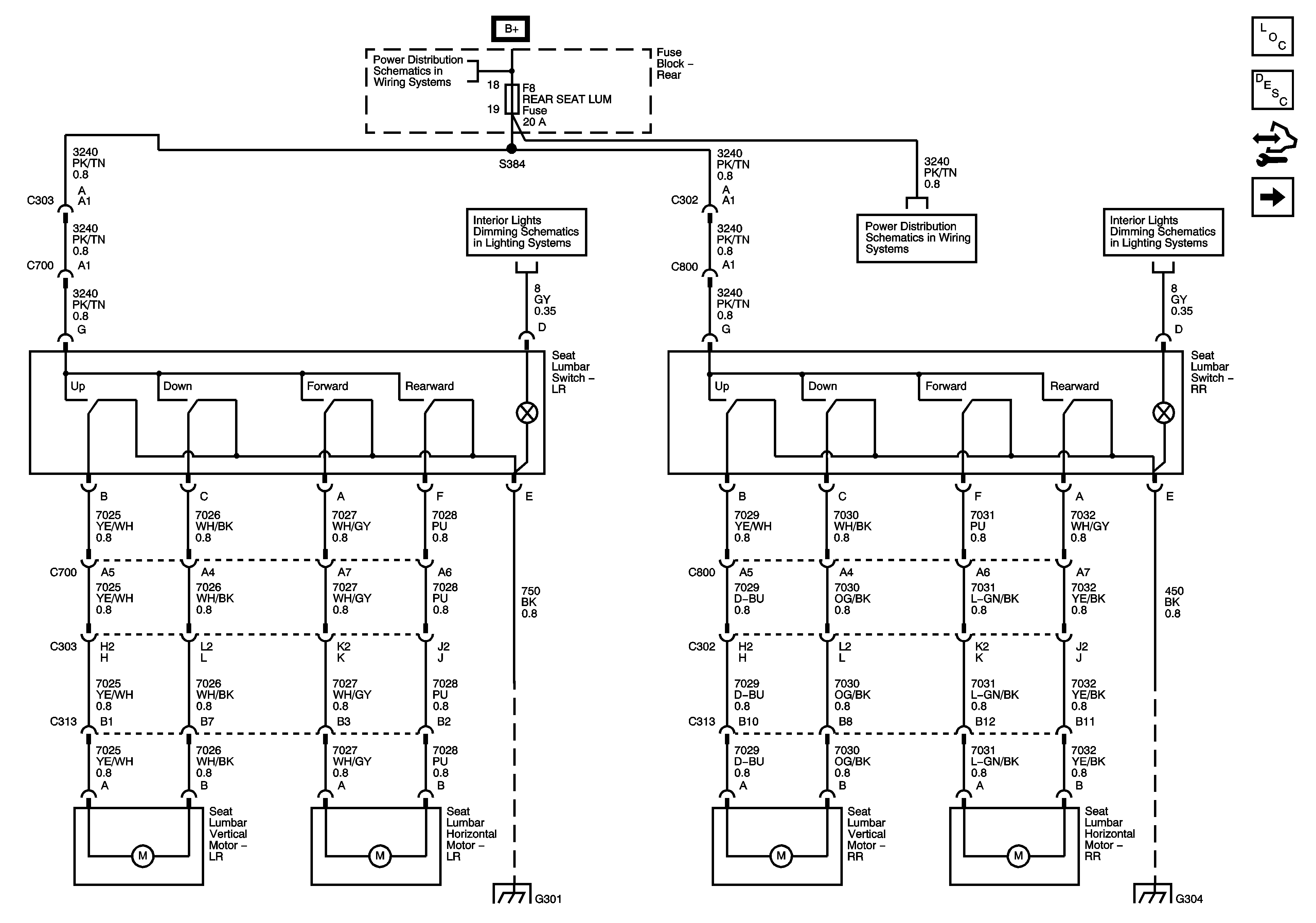
Window, Heated Seat, Seat Lumbar Switches
Rear Fuse Block - RAP Relay, CTSY/RF TRN, S/ROOF, SHFTR SOL, RAP, REAR SEAT LUM Fuses
Window, Heated Seat, Seat Lumbar Switches
G301
G304