GM Service Manual Online
For 1990-2009 cars only

Caution: Storing a jack, a tire, or other equipment in the passenger compartment of the vehicle could cause injury. In a sudden stop or collision, loose equipment could strike someone. Store all these in the proper place.

After you have put the spare tire on your vehicle, store the flat tire in your trunk.

Store the flat tire as far forward in the trunk as possible. Store the jack and wheel wrench in their compartment in the trunk. For storage, the jack must be raised until the screw end is flush with the edge of the jack.

The compact spare is for temporary use only. Replace the compact spare tire with a full-size tire as soon as you can.


Object Number: 1587760  Size: A4
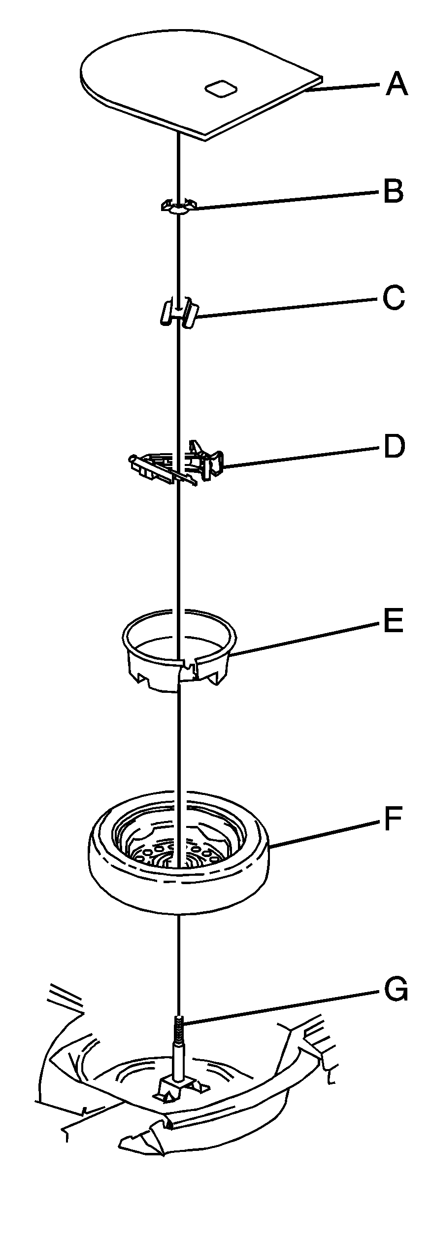
  1. Cover

  2. Wing Nut

  3. Retainer

  4. Jack and Wheel Wrench

  5. Jack Container

  6. Spare Tire

  7. Bolt

  1. Open the trunk. See Trunk .
  2. Reinstall the spare tire (F), face down, making sure to line up the wheel center hole with the bolt (G) and place it on the compartment floor.
  3. Insert the jack container (E) into the spare tire (F). Then insert the jack and wheel wrench (D) into the center of the spare tire making sure to line up the wheel nut hole with the bolt (G) on the compartment floor.
  4. Secure the spare tire and the jack container with the retainer (C) and then the wing nut (B).
  5. Reinstall the spare tire cover (A).