GM Service Manual Online
For 1990-2009 cars only

Object Number: 1589493  Size: MF

Callout

Component Name

Preliminary Procedure

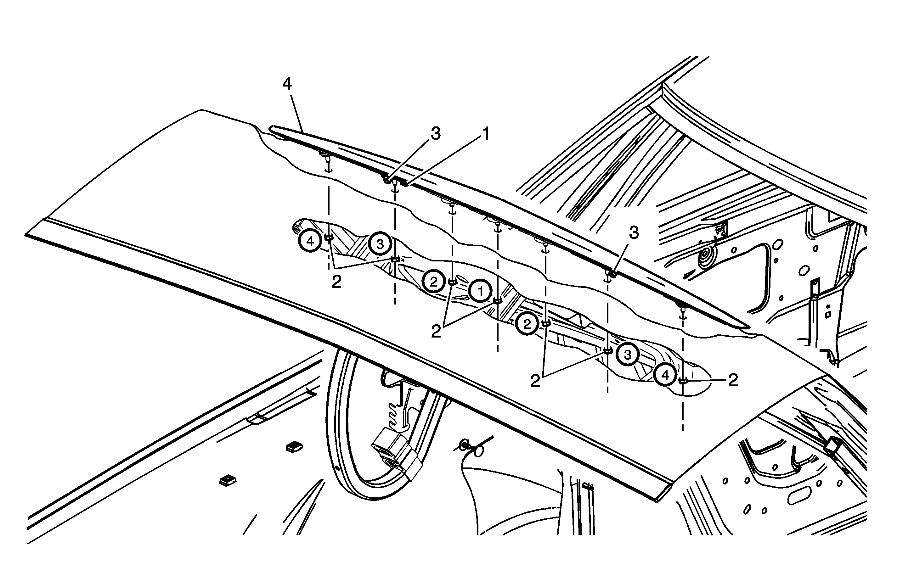
Remove the rear interior compartment lid trim. Refer to Rear Compartment Lid Inner Panel Trim Replacement.

1

High Mounted Stop Lamp Assembly Electrical Connection

Tip
Disconnect the electrical connector.

2

High Mounted Stop Lamp Nuts (Qty: 7)

Caution: Refer to Fastener Caution in the Preface section.

Tip
Tighten nuts in sequence, as shown.

Tighten
3.5 N·m (31 lb in)

3

High Mounted Stop Lamp Locking Tabs

Tip
Pinch both tabs at each side, second bolt in from the outer edge in order to remove the lamp housing from the rear compartment lid.

4

High Mounted Stop Lamp Assembly

Tip
The high mounted stop lamp is serviced as a unit, light emitting diode (LED) assembly.