GM Service Manual Online
For 1990-2009 cars only

Parking Brake Rear Cable Replacement - Right Side J55

Tools Required

J 37043 Parking Brake Cable Release Tool

Removal Procedure


    Object Number: 1696065  Size: SH
  1. Raise the vehicle. Refer to Lifting and Jacking the Vehicle .
  2. Pull down on the intermediate brake cable (4) to relieve the tension.
  3. Lift up on the rear tab (3) to remove the intermediate brake cable (4) from the front brake cable (2).

  4. Object Number: 1527974  Size: SH
  5. Remove the park brake cable retaining bolt from the right rear control arm.

  6. Object Number: 1527106  Size: SH
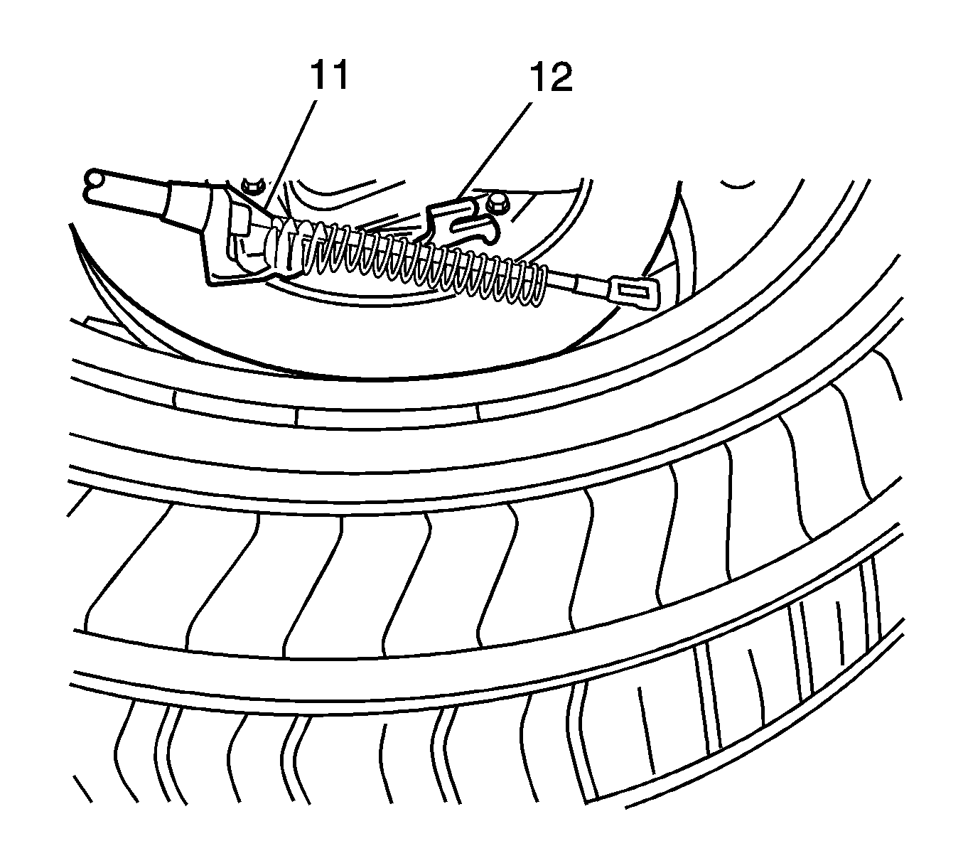
  7. Remove the brake cable (14) from the connector (15).
  8. Using the J 37043 , remove the park brake cable from the retaining bracket (13).
  9. Important: In the following service procedure, push the inner cable forward to gain enough inner cable to remove it from the actuator.

  10. Remove the cable end (11) from the actuator.
  11. Using the J 37043 , remove the brake cable (12) from the mounting bracket.

Installation Procedure

Important: Ensure the cable end is hooked over the park brake actuator arm BEFORE attaching the cable to the bracket.


    Object Number: 1527110  Size: SH
  1. Install a brake cable end (11) in the actuator arm.
  2. Important: Ensure that the park brake cable is properly attached to the actuator.

  3. Install the park brake cable (12) in the in the retaining bracket.

  4. Object Number: 1527974  Size: SH
  5. Position the park cable on the rear control arm.
  6. Install the retaining bolt for the park brake cable.
  7. Tighten
    Tighten the retaining bolt to 24 N·m (18 lb ft).


    Object Number: 1527106  Size: SH

    Important: In the following service procedures, ensure the locking tabs are properly seated.

  8. Install the park brake cable (14)  into the right rear frame bracket (13).
  9. Install the intermediate cable (14) into the connector (15).
  10. The park brake system is self-adjusting. No cable adjustment is needed.
  11. Lower vehicle.

Parking Brake Rear Cable Replacement - Right Side JL9

Removal Procedure

  1. Release the park brake.
  2. Raise the vehicle. Refer to Lifting and Jacking the Vehicle.
  3. Remove the tire and wheel. Refer to Tire and Wheel Removal and Installation.

  4. Object Number: 1665542  Size: SH
  5. Remove the front brake cable (1) from the connector (2).
  6. Note: If the equalizer (4) is damaged, replace the equalizer.

  7. Using the J 37043 , remove the right rear brake cable (3) from the equalizer (4).

  8. Object Number: 1665546  Size: SH
  9. Remove the 2 retaining bolts (1) and the retaining clip (2) from the chassis.

  10. Object Number: 1665547  Size: SH
  11. Slide the park brake cable (1) forward and remove it from the park brake actuator lever (2).
  12. Remove the park brake cable (1) from the caliper (3).

Installation Procedure


    Object Number: 1665547  Size: SH
  1. Install the park brake cable (1) into the bracket on the brake caliper (3).
  2. Slide the park brake cable forward and install to the park brake actuator lever (2).
  3. Caution: Refer to Fastener Caution in the Preface section.


    Object Number: 1665546  Size: SH
  4. Install the 2 retaining bolts (1).
  5. Tighten
    Tighten the retaining bolts to 6 N·m (53 lb in).

  6. Install the retaining clip (2).

  7. Object Number: 1665553  Size: SH
  8. Install the left park brake cable (2) to the equalizer (1).

  9. Object Number: 1665542  Size: SH
  10. Install the right rear brake cable (4)  to the equalizer (3).
  11. Install the front brake cable (1) in the connector (2).
  12. Install the tire and wheel. Refer to Tire and Wheel Removal and Installation.
  13. Lower the vehicle. Refer to Lifting and Jacking the Vehicle.