GM Service Manual Online
For 1990-2009 cars only

INFO. ON FUEL PRESSURE REGULATOR SERVICE PROCEDURE

SUBJECT: INFORMATION ON FUEL PRESSURE REGULATOR SERVICE PROCEDURE

MODELS: 1995 CADILLAC CONCOURS, ELDORADO, SEVILLE WITH 4.6L NORTHSTAR ENGINE (VINS 9, Y - RPOS L37, LD8)

1995 OLDSMOBILE AURORA WITH 4.0L ENGINE (VIN C - L47)

THE FUEL PRESSURE REGULATOR USED ON THE 4.0L AND 4.6L ENGINES EQUIPPED WITH LOST CORE INTAKE MANIFOLDS MAY BE SERVICED ON-VEHICLE.

1. RELIEVE FUEL SYSTEM PRESSURE FOLLOWING "FUEL PRESSURE RELIEF PROCEDURE" IN SECTION 6C OF YOUR SERVICE MANUAL.

2. REMOVE THE VACUUM HOSE TO THE FUEL PRESSURE REGULATOR.

3. PLACE A SHOP TOWEL AROUND THE FUEL PRESSURE REGULATOR TO CATCH ANY RESIDUAL FUEL THAT MAY LEAK FROM THE PRESSURE REGULATOR.

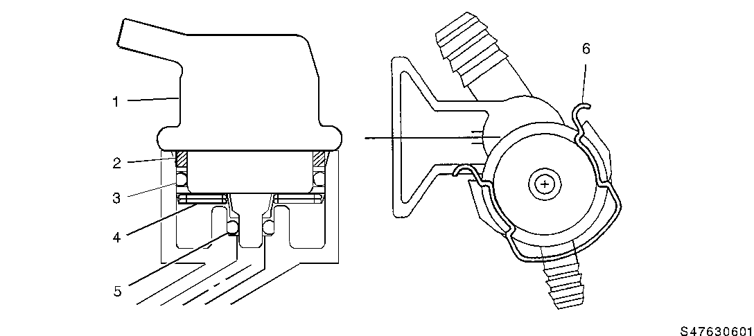
4. REMOVE THE SNAP RING (6) HOLDING THE FUEL PRESSURE REGULATOR TO THE FUEL RAIL SOCKET.

5. REMOVE THE FUEL PRESSURE REGULATOR FROM THE FUEL RAIL SOCKET. DO NOT USE ANY TOOLS SO AS NOT TO DAMAGE THE PLASTIC SOCKET.

6. REMOVE AND DISCARD FROM THE FUEL PRESSURE REGULATOR (1) OR THE FUEL RAIL SOCKET:

PLASTIC BACKUP RING (2) UPPER O-RING (LARGE O-RING) (3) FILTER SCREEN (4) LOWER O-RING (SMALL O-RING) (5)

7. INSPECT FUEL RAIL SOCKET FOR FOREIGN MATERIAL AND REMOVE.

8. USING NEW SERVICE COMPONENTS, REASSEMBLE THE FUEL PRESSURE REGULATOR AS SHOWN IN FIGURE 1 AS FOLLOWS:

PLASTIC BACKUP RING UPPER O-RING (LARGE O-RING) (NOTE: A SMALL AMOUNT OF CLEAN OIL MUST BE USED TO LUBRICATE BOTH O-RINGS TO ASSIST IN THE ASSEMBLY OF THE FUEL REGULATOR.) FILTER SCREEN LOWER O-RING

9. USING HAND PRESSURE ONLY, INSTALL THE FUEL PRESSURE REGULATOR ASSEMBLY INTO THE FUEL RAIL SOCKET. ROTATING THE FUEL REGULATOR ONE QUARTER OF TURN WHILE INSTALLING WILL ASSIST IN THE ASSEMBLY PROCESS.

10. WHILE HOLDING THE FUEL PRESSURE REGULATOR AGAINST THE FUEL RAIL SOCKET, INSTALL THE NEW SNAP RING. IMPORTANT: ENSURE THAT THE SNAP RING IS INSTALLED CORRECTLY--THE LARGE SIDE OF THE CLIP SURROUNDS THE SOCKET (DOWN SIDE) AND THE SMALL SIDE OF THE CLIP SURROUNDS THE FUEL PRESSURE REGULATOR (TOP SIDE) AND THE SNAP RING IS FULLY ENGAGED OVER THE SOCKET TABS AND THE FUEL PRESSURE REGULATOR BODY.

11. ROTATE THE FUEL PRESSURE REGULATOR TUBE CONNECTION TO THE CORRECT POSITION AND INSTALL THE VACUUM TUBE TO THE REGULATOR.

12. ENERGIZE THE FUEL PUMP AND CHECK FOR LEAKS AND BLEED DOWN.

WHENEVER ORDERING THE FUEL PRESSURE REGULATOR AND/OR ITS ASSOCIATED COMPONENTS, REFER TO THE FOLLOWING PART NUMBERS:

DESCRIPTION PART NUMBER ___________ ___________ PRESSURE REGULATOR 17107962

O-RINGS, FILTER, CLIP 17113219

PARTS ARE EXPECTED TO BE AVAILABLE ON FEBRUARY 27, 1995.

WARRANTY INFORMATION:

FOR VEHICLES REPAIRED UNDER WARRANTY, USE: LABOR OPERATION: J5560 LABOR TIME: 0.4 HRS.

FIGURES: 1 ATTACHMENTS: 0


Object Number: 82830  Size: FS

GENERAL MOTORS BULLETINS ARE INTENDED FOR USE BY PROFESSIONAL TECHNICIANS, NOT A "DO-IT-YOURSELFER". THEY ARE WRITTEN TO INFORM THOSE TECHNICIANS OF CONDITIONS THAT MAY OCCUR ON SOME VEHICLES, OR TO PROVIDE INFORMATION THAT COULD ASSIST IN THE PROPER SERVICE OF A VEHICLE. PROPERLY TRAINED TECHNICIANS HAVE THE EQUIPMENT, TOOLS, SAFETY INSTRUCTIONS AND KNOW-HOW TO DO A JOB PROPERLY AND SAFELY. IF A CONDITION IS DESCRIBED, DO NOT ASSUME THAT THE BULLETIN APPLIES TO YOUR VEHICLE, OR THAT YOUR VEHICLE WILL HAVE THAT CONDITION. SEE A GENERAL MOTORS DEALER SERVICING YOUR BRAND OF GENERAL MOTORS VEHICLE FOR INFORMATION ON WHETHER YOUR VEHICLE MAY BENEFIT FROM THE INFORMATION.

COPYRIGHT 1995 GENERAL MOTORS CORPORATION. ALL RIGHTS RESERVED.