GM Service Manual Online
For 1990-2009 cars only

Tools Required

    • J 29789 Piston Ring Compressor
    • J 39946 Crankshaft Rotation Socket
  1. Liberally lubricate the cylinder walls, piston rings and piston skirts with engine oil.

  2. Object Number: 54231  Size: SH
  3. Select the correctly numbered piston/connecting rod assembly for the cylinder.
  4. Coat the crankshaft bearing journal and installed connecting rod bearings with GM crankshaft prelube, GM P/N 1052367.
  5. Compress the piston rings using the J 29789 or equivalent.

  6. Object Number: 53230  Size: SH

    Important: Extreme care must be exercised when installing the piston and connecting rod in order to be sure the rod does not scrape or nick the cylinder bore or the crankshaft surfaces.

  7. Using both hands, slowly guide the piston and connecting rod assembly into the cylinder from the top and bottom of the cylinder. DO NOT allow the connecting rod to contact the cylinder wall.

  8. Object Number: 52042  Size: SH
  9. When the piston ring compressor contacts the deck surface, gently tap the piston into the cylinder using the handle end of a dead-blow hammer. Guide the connecting rod onto the crankshaft bearing journal while tapping the piston into the cylinder.

  10. Object Number: 54230  Size: SH
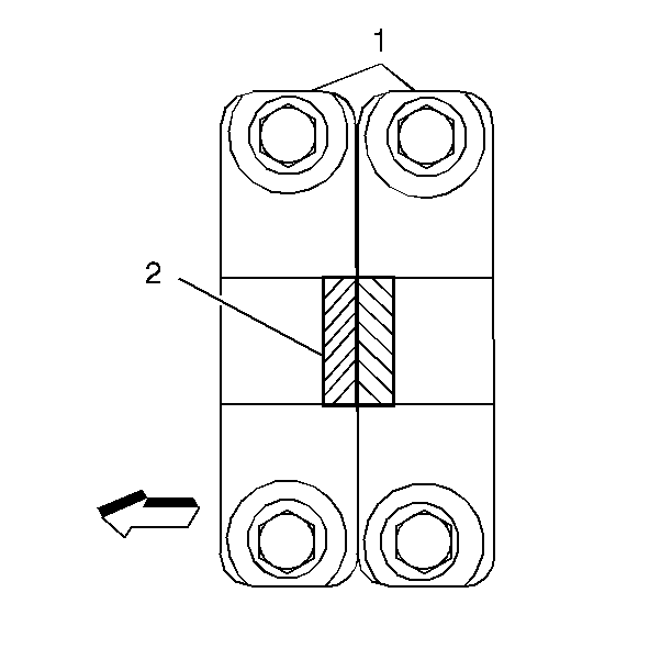
  11. Install the connecting rod end cap making sure the bearing lock tangs are aligned on the same side of the rod. When porperly installed, the connecting rod bearing cap notches(2) should point towards each other.
  12. Lubricate new connecting rod cap bolts with engine oil and install in the connecting rod.
  13. Tighten
    Tighten the connecting rod bolts to 25 N·m + 110 degrees (18 lb ft + 110 degrees).

    Notice: Use the correct fastener in the correct location. Replacement fasteners must be the correct part number for that application. Fasteners requiring replacement or fasteners requiring the use of thread locking compound or sealant are identified in the service procedure. Do not use paints, lubricants, or corrosion inhibitors on fasteners or fastener joint surfaces unless specified. These coatings affect fastener torque and joint clamping force and may damage the fastener. Use the correct tightening sequence and specifications when installing fasteners in order to avoid damage to parts and systems.

  14. Repeat these procedures for the remaining piston/connecting rod assemblies using the J 39946 in order to rotate the crankshaft.