GM Service Manual Online
For 1990-2009 cars only

Tools Required

    • J 39694 Spring Compressor
    • J 39054 Reverse Clutch Seal Protector

    Object Number: 11952  Size: SH
  1. Inspect the reverse clutch housing (500) for the following:
  2. • Plugged feed holes
    • Snap ring for overexpansion
    • Outer surface for scoring or burning
    • Reverse clutch housing checkball for damage, the checkball should move freely in the capsule.

    Object Number: 11953  Size: SH

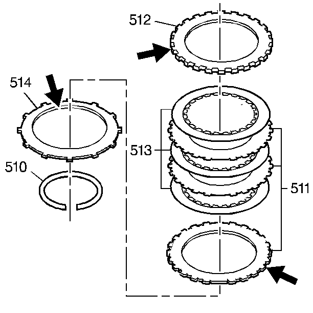
    Important: Some models will have a reverse clutch pack consisting of a belleville plate (514), three steel plates (511), three fiber clutch plate assemblies (513) and a backing plate (512) with identification marks of A, B or C.

    Some models will have a reverse clutch pack consisting of a waved plate (514), two steel plates (511), two fiber clutch plate assemblies (513) and a backing plate (512) with identification marks of 1, 2 or 3.

  3. Inspect the reverse clutch steel plates (511), the backing plate (512) and the belleville plate (514) for scoring or burning.
  4. Inspect the snap ring (510) for overexpansion.
  5. Replace all of the fiber clutch plate assemblies (513).

  6. Object Number: 11954  Size: SH
  7. Inspect the reverse clutch piston inner seal (506) and outer seal (507) for damage.
  8. Inspect the checkball orifices on the reverse clutch piston assembly (505) for damage caused by peening. The checkball should move freely in the piston capsule.

  9. Object Number: 11955  Size: SH
  10. Inspect the reverse clutch housing bushings (502, 503) for damage.

  11. Object Number: 11956  Size: SH
  12. Inspect the spring and retainer assembly (508) for damaged or missing springs.

  13. Object Number: 11957  Size: SH
  14. Inspect the second sprag (517) for flipped or damaged sprags. Inspect both of the second sprag races for damage.

  15. Object Number: 11958  Size: SH
  16. Install new seals (506, 507) on the reverse piston (505).

  17. Object Number: 11959  Size: SH
  18. Install the reverse clutch piston (505) into the reverse clutch housing. Install the J 39054 in order to protect the inner seal. Make sure that the outer seal does not roll backwards. Apply a light coating of Transjelâ„¢ so that the seal will slide easily.

  19. Object Number: 11960  Size: SH
  20. Install the spring and retainer assembly (508, 509) into the reverse clutch housing (500).

  21. Object Number: 11950  Size: SH
  22. Use the J 39694 spring compressor to compress the spring and install the snap ring (510). Remove the compressor tool.

  23. Object Number: 11949  Size: SH

    Important: Some models will have a reverse clutch pack consisting of a belleville plate (514), three steel plates (511), three fiber clutch plate assemblies (513) and a backing plate (512) with identification marks of A, B or C.

    Some models will have a reverse clutch pack consisting of a waved plate (514), two steel plates (511), two fiber clutch plate assemblies (513) and a backing plate (512) with identification marks of 1, 2 or 3.

  24. Install the following parts:
  25. 14.1. The belleville plate (514). Align the belleville plate tangs with the inserts in the reverse clutch piston.
    14.2. The three steel (511) and the three fiber (513) clutch plates, starting with steel and alternating with fiber
    14.3. The apply plate (512) with the stepped side up
    14.4. The snap ring (515)

    Object Number: 11961  Size: SH
  26. Install the following parts:
  27. 15.1. The 2nd clutch outer race thrust washer (520)
    15.2. The 2nd sprag clutch assembly (517) into the 2nd sprag outer race (516)
    15.3. The 2nd sprag race and clutch assembly onto the reverse clutch housing (500)

    Object Number: 11963  Size: SH
  28. Verify that the second sprag freewheels only in a clockwise direction.

  29. Object Number: 11964  Size: SH
  30. Install the sprag clutch retainer (518).

  31. Object Number: 11965  Size: SH
  32. Install the new spiral snap ring (519). Verify that the spiral snap ring tabs lock into place and that the snap ring is properly seated.