|
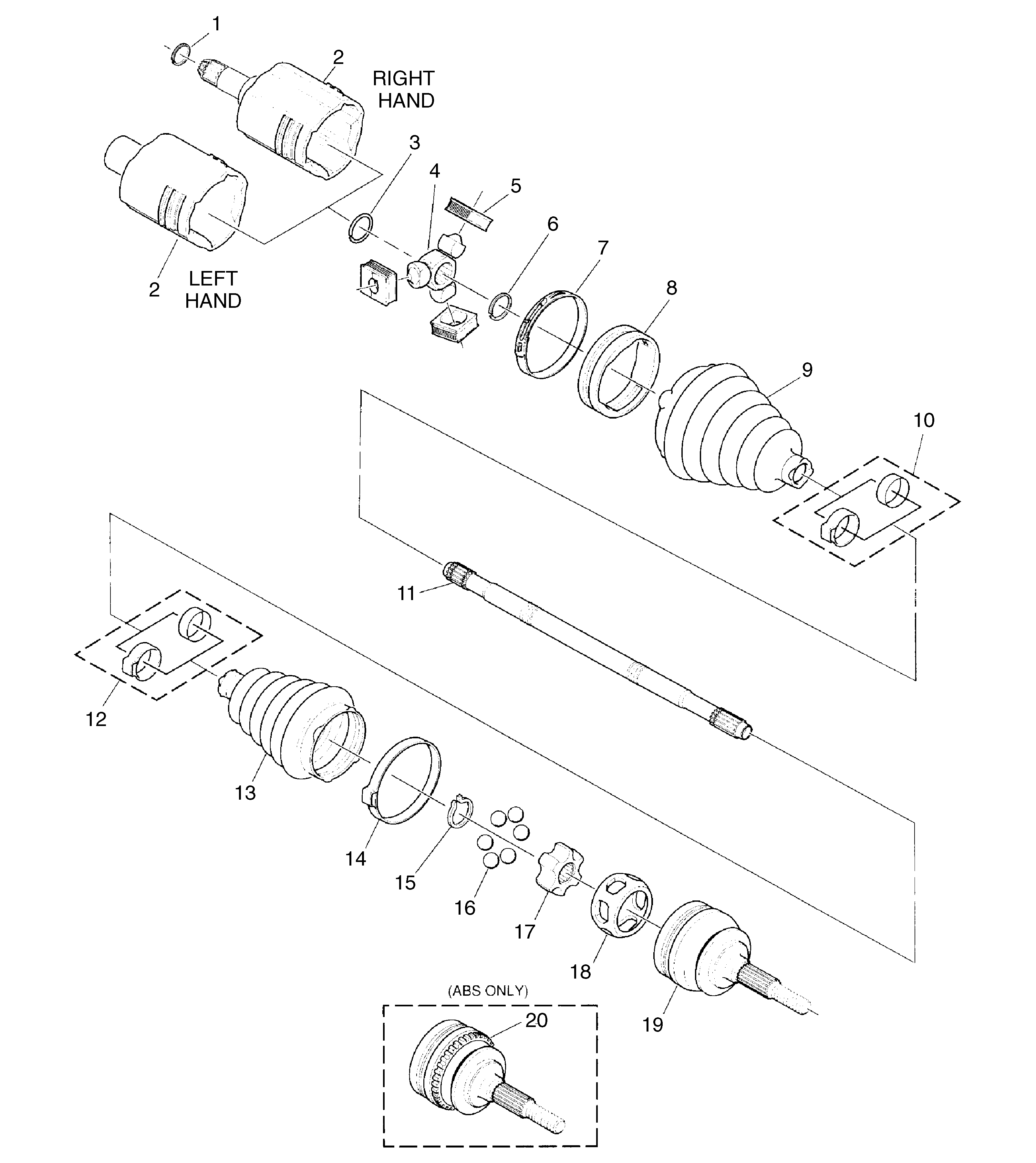
| (1) | Retaining Ring |
| (2) | S-Plan Housing Assembly |
| (2) | S-Plan Housing
Assembly |
| (3) | Shaft Retaining Ring |
| (4) | S-Plan Joint Spider |
| (5) | Bearing Block |
| (6) | Spacer Ring |
| (7) | Seal Retaining Clamp |
| (8) | Trilobal Tripot
Bushing |
| (9) | S-Plan Joint Seal |
| (10) | Seal Retaining Clamp/Ring |
| (11) | Axle Shaft |
| (12) | Seal Retaining Clamp/Ring |
| (13) | CV Joint Seal |
| (14) | Seal Retaining Clamp |
| (15) | Race Retaining
Ring |
| (16) | Chrome Alloy Ball |
| (17) | CV Joint Inner Race |
| (18) | CV Joint Cage |
| (19) | CV Joint
Outer Race |
| (20) | CV Joint Outer Race (Abs Only) |