GM Service Manual Online
For 1990-2009 cars only

Cell 150: Radio (w/UW6)


Object Number: 316417  Size: FS
Entertainment Components
Power Antenna System Circuit Description
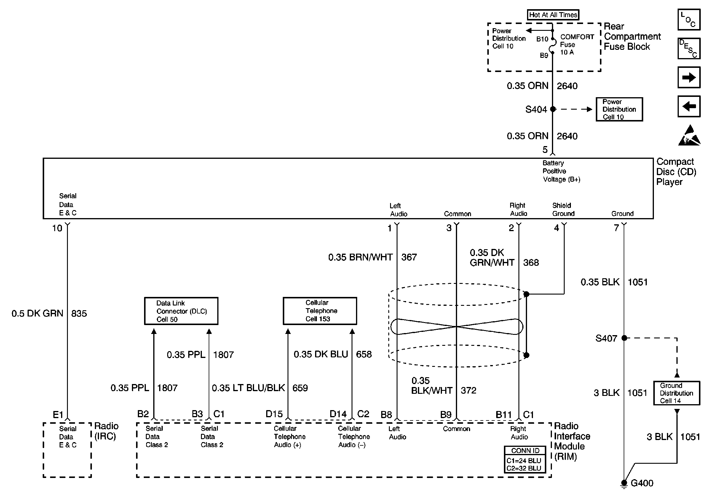
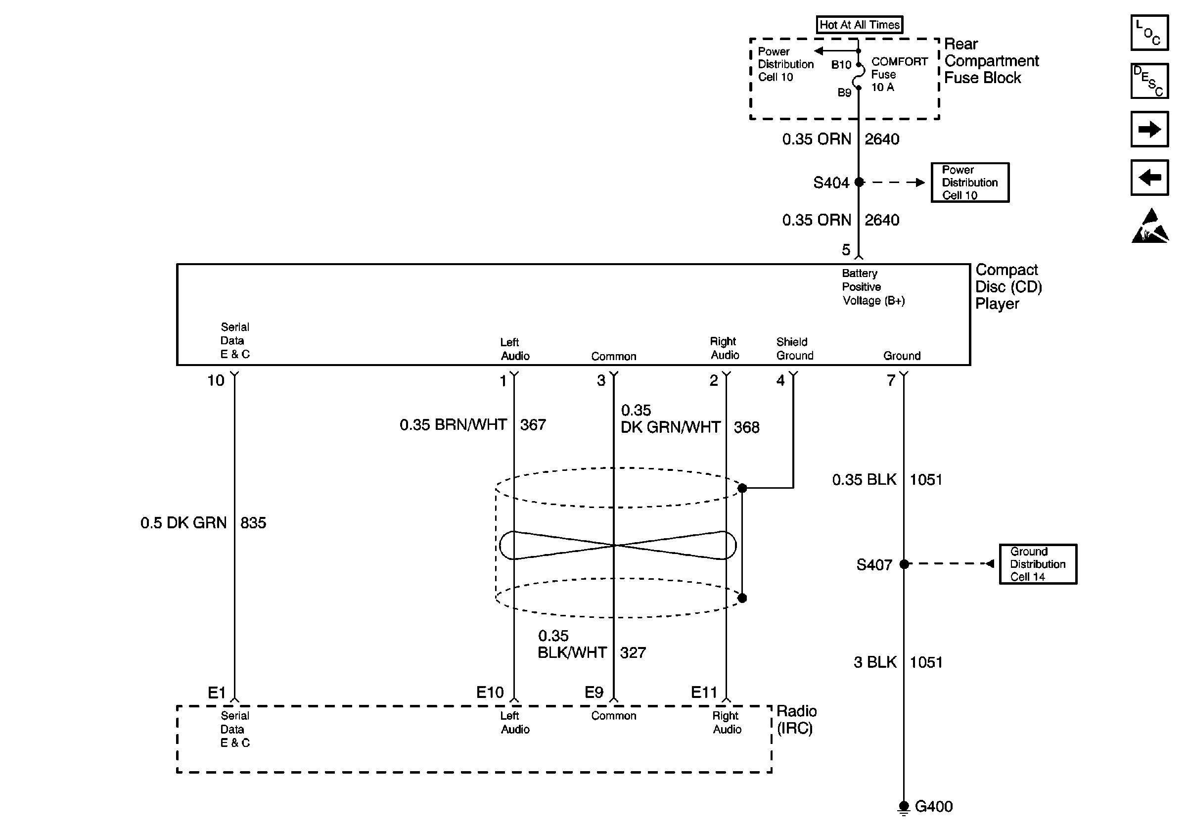
Cell 150: Compact Disc (CD) Player (w/UW6 and U1S)
Handling ESD Sensitive Parts Notice
Cell 10: BODY 3 Fuse
Cell 10: RADIO/PHONE Fuse
Cell 14: G401 (DeVille 1 of 2)
Cell 14: G400 (1 of 2)
Cell 117: Instrument Panel Backlighting
Cell 50: Class 2
Cell 153: Cellular Telephone Module
Cell 151

Cell 150: Compact Disc (CD) Player (w/UW6 and U1S)


Object Number: 316422  Size: FS
Entertainment Components
Power Antenna System Circuit Description
Cell 150: Speakers (Deville w/UW6)
Cell 150: Radio (w/UW6)
Handling ESD Sensitive Parts Notice
Cell 10: BODY 3 Fuse
Cell 10: COMFORT Fuse
Cell 14: G400 (1 of 2)

Cell 150: Speakers (Deville w/UW6)


Object Number: 316426  Size: FS
Entertainment Components
Power Antenna System Circuit Description
Cell 150: Speakers (Eldorado w/UW6)
Cell 150: Compact Disc (CD) Player (w/UW6 and U1S)
Handling ESD Sensitive Parts Notice

Cell 150: Speakers (Eldorado w/UW6)


Object Number: 316493  Size: FS
Entertainment Components
Power Antenna System Circuit Description
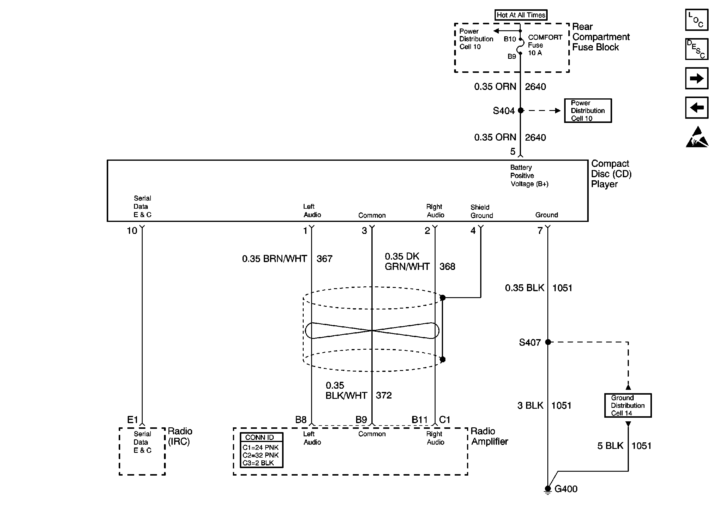
Cell 150: Radio and Radio Amplifier (w/UQ6)
Cell 150: Speakers (Deville w/UW6)
Handling ESD Sensitive Parts Notice

Cell 150: Radio and Radio Amplifier (w/UQ6)


Object Number: 316504  Size: FS
Entertainment Components
Power Antenna System Circuit Description
Cell 150: Compact Disc (CD) Player (w/UQ6 and U1S)
Cell 150: Speakers (Eldorado w/UW6)
Handling ESD Sensitive Parts Notice
Cell 10: BODY 3 Fuse
Cell 10: RADIO/PHONE Fuse
Cell 14: G400 (1 of 2)
Cell 14: G401 (DeVille 1 of 2)
Cell 117: Instrument Panel Backlighting
Cell 151
Cell 153: Cellular Telephone Module
Cell 50: Class 2
Cell 50: Power, Ground and Class 2

Cell 150: Compact Disc (CD) Player (w/UQ6 and U1S)


Object Number: 316509  Size: FS
Entertainment Components
Power Antenna System Circuit Description
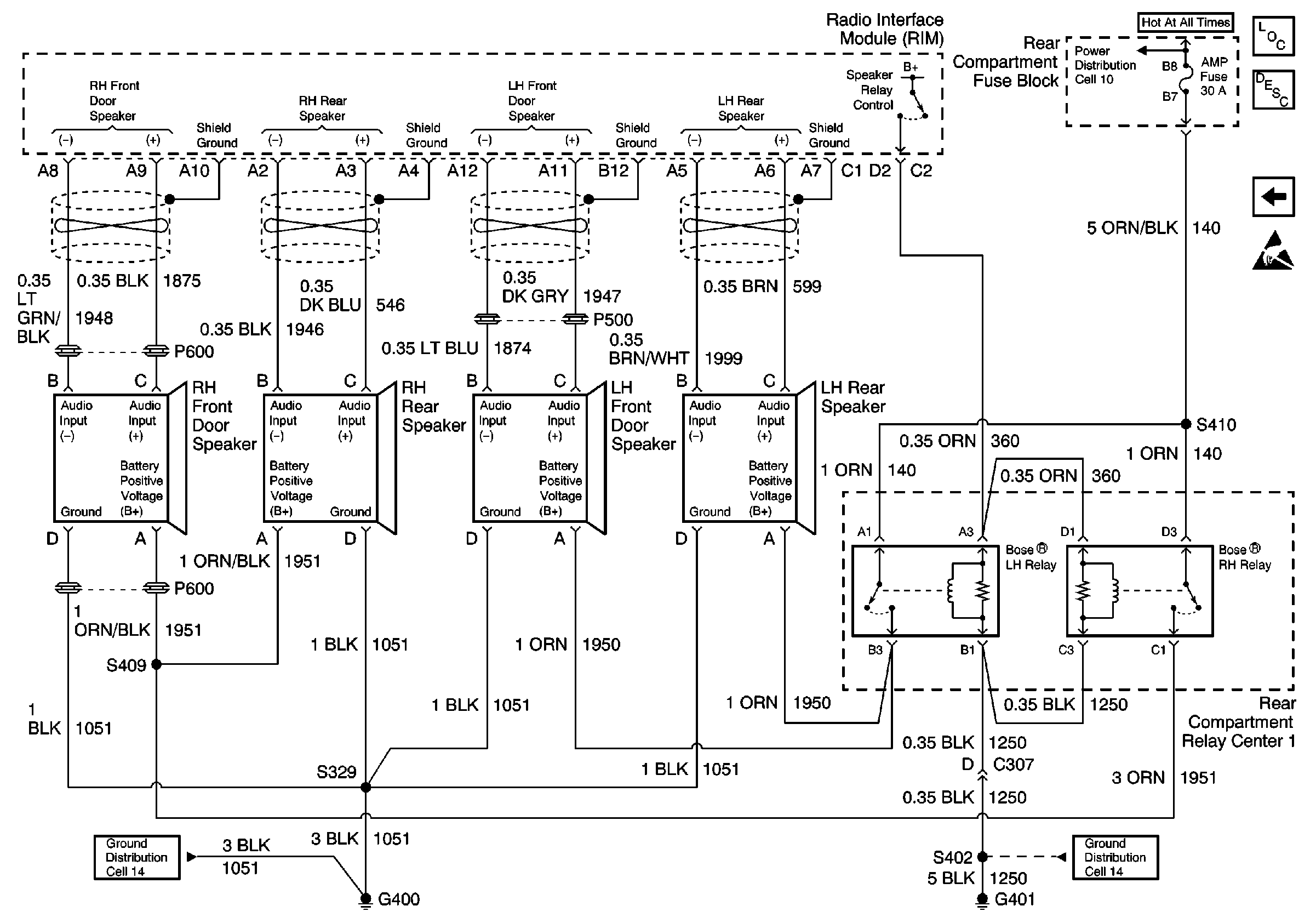
Cell 150: Radio Amplifier and Speakers (w/UQ6)
Cell 150: Radio and Radio Amplifier (w/UQ6)
Handling ESD Sensitive Parts Notice
Cell 10: BODY 3 Fuse
Cell 10: COMFORT Fuse
Cell 14: G400 (1 of 2)

Cell 150: Radio Amplifier and Speakers (w/UQ6)


Object Number: 316554  Size: FS
Entertainment Components
Power Antenna System Circuit Description
Cell 150: Radio Amplifier and Speakers (w/UQ6)
Cell 150: Compact Disc (CD) Player (w/UQ6 and U1S)
Handling ESD Sensitive Parts Notice

Cell 150: Radio Amplifier and Speakers (w/UQ6)


Object Number: 316585  Size: FS
Entertainment Components
Power Antenna System Circuit Description
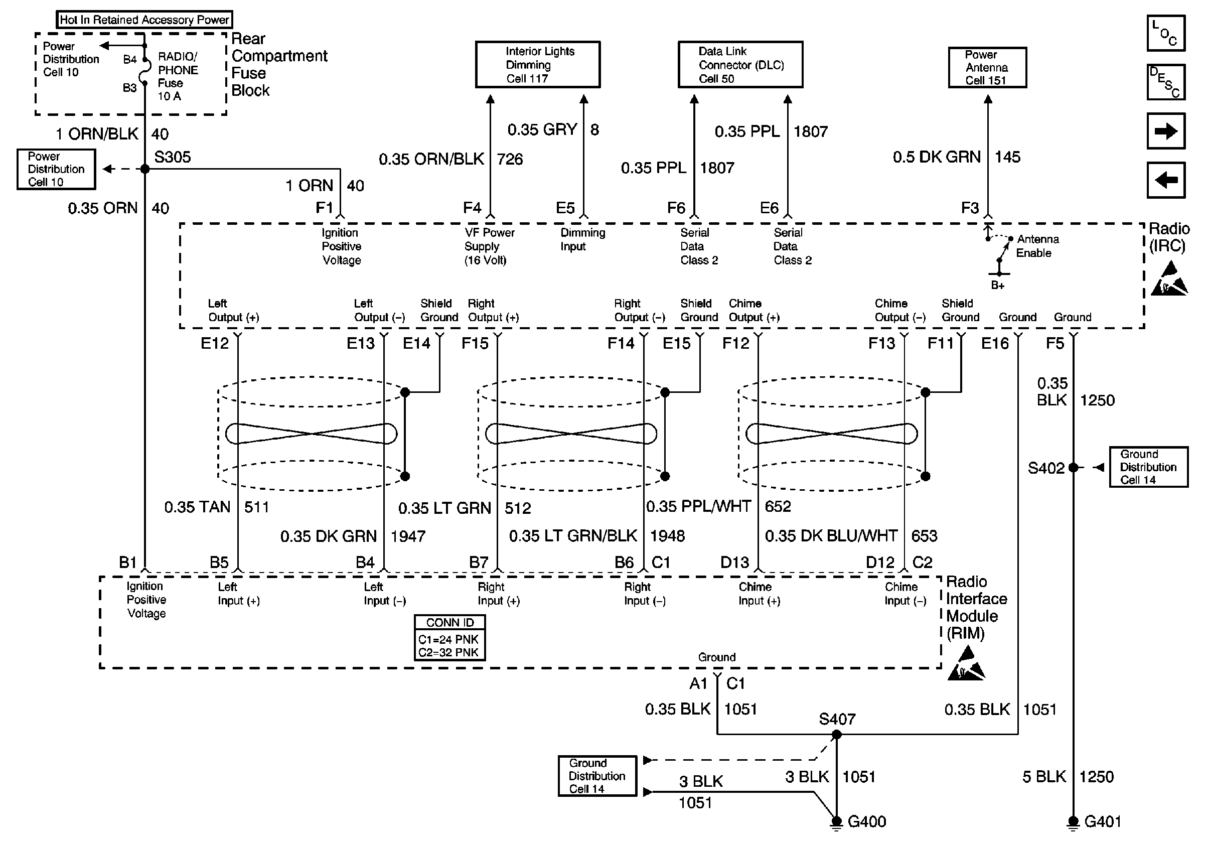
Cell 150: Radio and Radio Interface Module (RIM) (w/UQ4)
Cell 150: Radio Amplifier and Speakers (w/UQ6)
Handling ESD Sensitive Parts Notice

Cell 150: Radio and Radio Interface Module (RIM) (w/UQ4)


Object Number: 316593  Size: FS
Entertainment Components
Power Antenna System Circuit Description
Cell 150: Compact Disc (CD) Player (w/UQ4 and U1S)
Cell 150: Radio Amplifier and Speakers (w/UQ6)
Handling ESD Sensitive Parts Notice
Handling ESD Sensitive Parts Notice
Cell 10: BODY 3 Fuse
Cell 10: RADIO/PHONE Fuse
Cell 14: G401 (DeVille 1 of 2)
Cell 14: G400 (1 of 2)
Cell 117: Instrument Panel Backlighting
Cell 50: Class 2
Cell 151

Cell 150: Compact Disc (CD) Player (w/UQ4 and U1S)


Object Number: 316624  Size: FS
Entertainment Components
Power Antenna System Circuit Description
Cell 150: Radio Interface Module and Speakers (w/UQ4)
Cell 150: Radio and Radio Interface Module (RIM) (w/UQ4)
Handling ESD Sensitive Parts Notice
Cell 10: BODY 3 Fuse
Cell 10: COMFORT Fuse
Cell 14: G400 (1 of 2)
Cell 50: Power, Ground and Class 2
Cell 153: Cellular Telephone Module

Cell 150: Radio Interface Module and Speakers (w/UQ4)


Object Number: 316631  Size: FS
Entertainment Components
Power Antenna System Circuit Description
Cell 150: Compact Disc (CD) Player (w/UQ4 and U1S)
Handling ESD Sensitive Parts Notice
Cell 10: BODY 3 Fuse
Cell 14: G400 w/UQ4 (2 of 2)
Cell 14: G401 (Eldorado 1 of 2)