GM Service Manual Online
For 1990-2009 cars only
Makes
🢒
Cadillac
🢒
1999
🢒
DeVille
🢒
Body and Accessories
🢒
Instrument Panel, Gauges, and Console
🢒 Front Floor Console Armrest Replacement
Removal Procedure
Remove the console compartment door. Refer to
Console Compartment Door Replacement
.
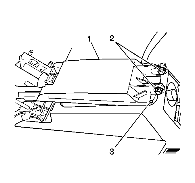
Remove the fasteners (2) retaining the door plate (1) to the console bracket.
Remove the door plate (1).
Remove the latch from the door plate. Refer to
Front Floor Console Compartment Door Latch Replacement
.
Installation Procedure
Install the latch to the door plate. Refer to
Front Floor Console Compartment Door Latch Replacement
.
Install the door plate to the console bracket.
Install the door plate fasteners (1).
Install the console compartment door. Refer to
Console Compartment Door Replacement
.