GM Service Manual Online
For 1990-2009 cars only
Figure 1:

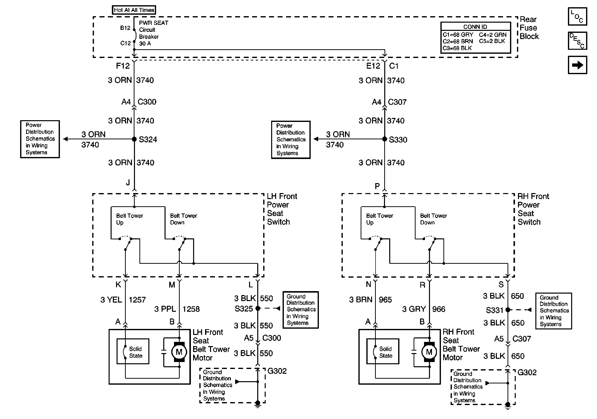
LH and RH Belt Tower PWR, GND, Switch, and Motors


Object Number: 620111  Size: FS
Seat Belt Components
Seat Belt System Circuit Description
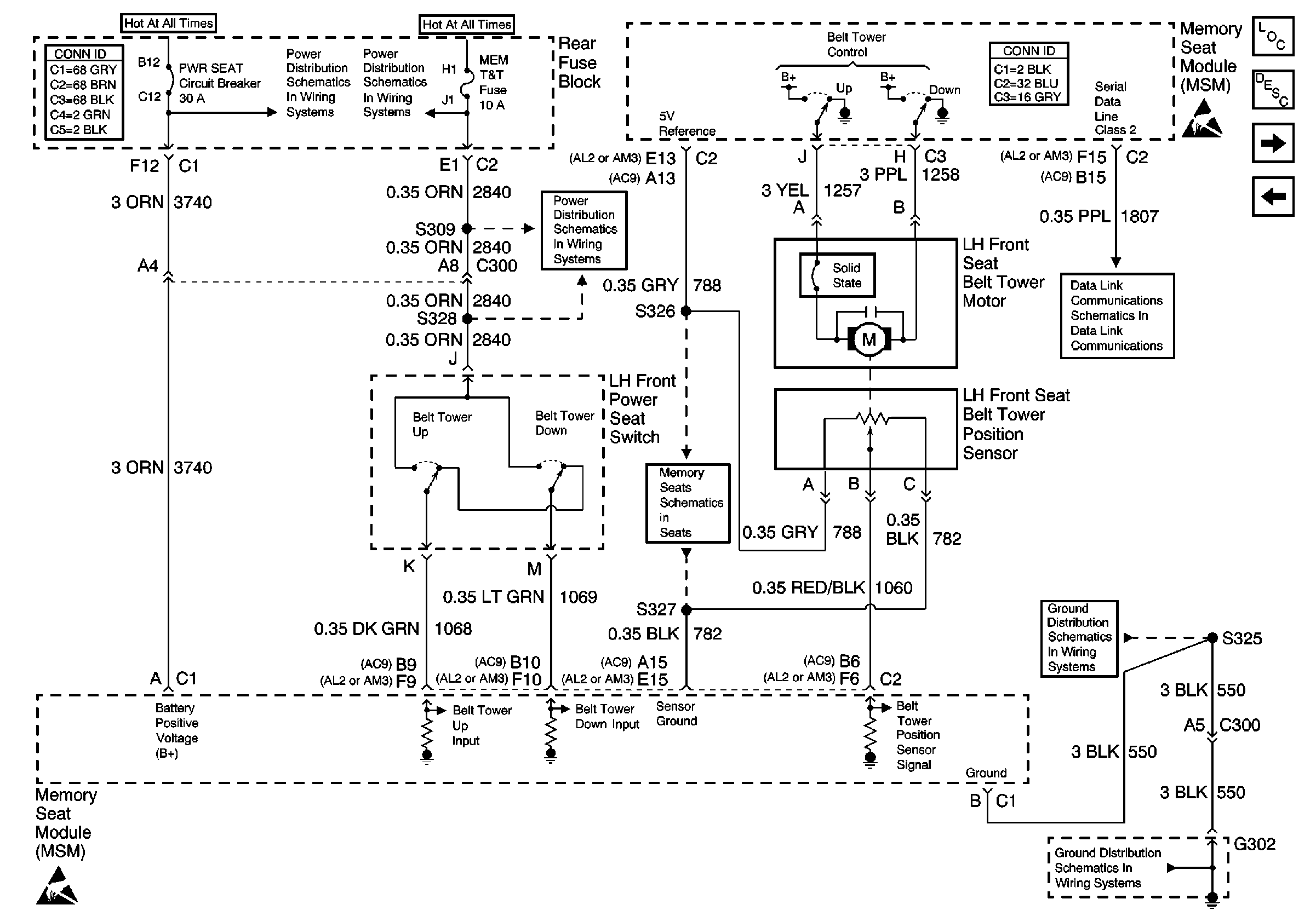
(A45 with AL2) PWR, GND, LH Belt Tower Switch, Motor, and MSM
NAV Fuse and POWER SEAT Circuit Breaker
NAV Fuse and POWER SEAT Circuit Breaker
G302 - LH Front Seat
G302 - LH Front Seat
G302 - RH Front Seat
G302 - RH Front Seat
Figure 2:

(A45 with AL2) PWR, GND, LH Belt Tower Switch, Motor, and MSM


Object Number: 620118  Size: FS
Seat Belt Components
Seat Belt System Circuit Description
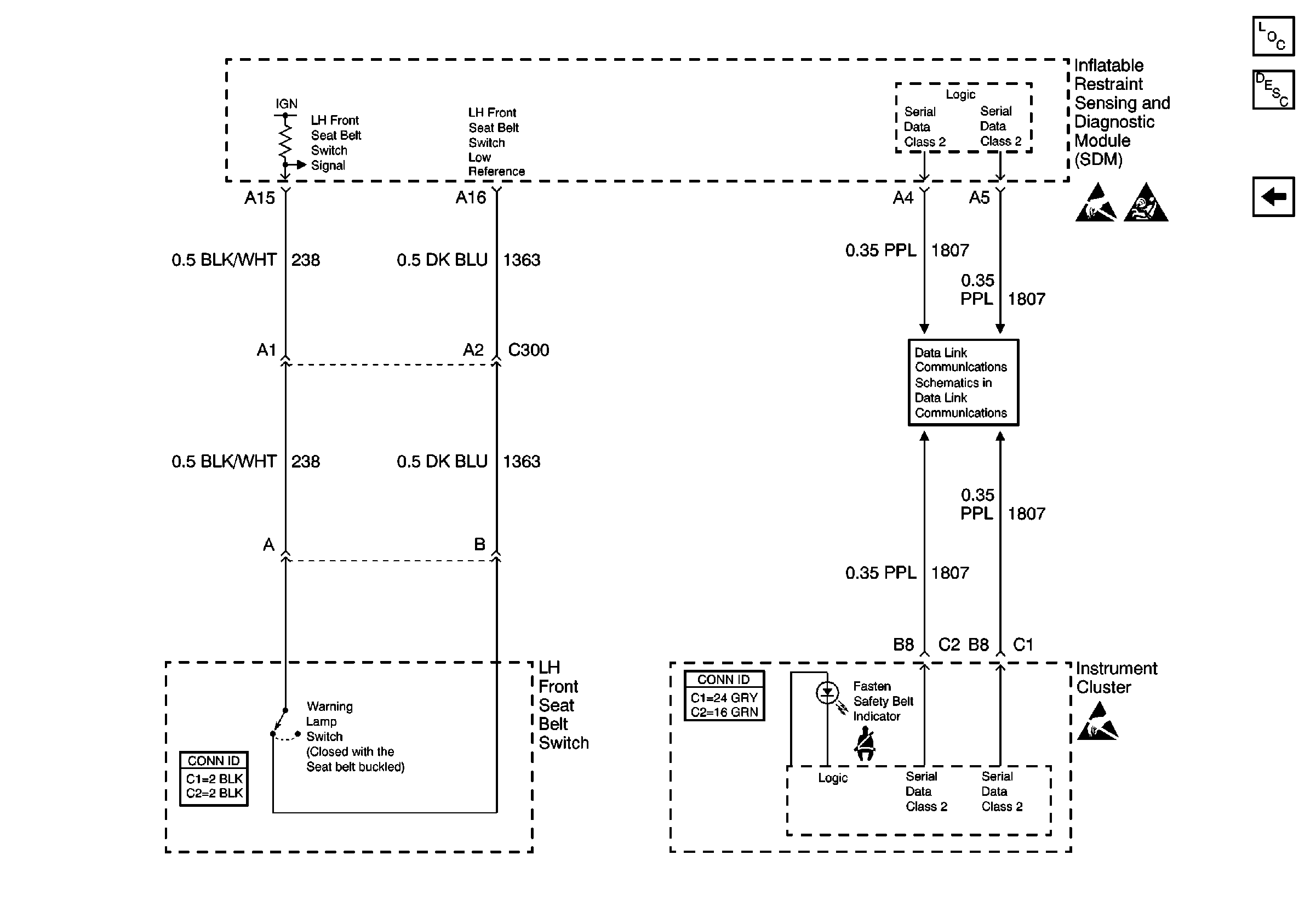
Fasten Seat Belt Switch and Indicator
LH and RH Belt Tower PWR, GND, Switch, and Motors
NAV Fuse and POWER SEAT Circuit Breaker
MEM T&T, RRLUM/ANT, and HTDST LF Fuses
MEM T&T, RRLUM/ANT, and HTDST LF Fuses
G302 - LH Front Seat
Data Link Connector Schematics
Memory Seats Schematics
Figure 3:

Fasten Seat Belt Switch and Indicator


Object Number: 595636  Size: FS
Seat Belt Components
Seat Belt System Circuit Description
(A45 with AL2) PWR, GND, LH Belt Tower Switch, Motor, and MSM
Handling ESD Sensitive Parts Notice
SIR Caution
Handling ESD Sensitive Parts Notice
Data Link Connector Schematics
Seat Belt Connector End Views
Instrument Panel, Gages, and Console Connector End Views