GM Service Manual Online
For 1990-2009 cars only

Object Number: 428185  Size: MF
SIR Components
Power, Ground, and Side Impact Sensors
SIR Handling Caution
Handling ESD Sensitive Parts Notice
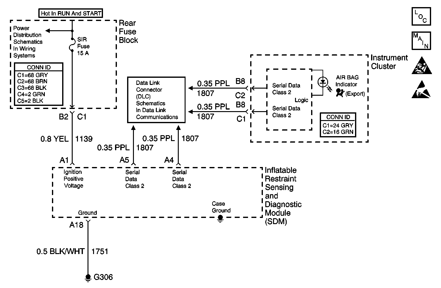
Data Link Connector Schematics
SIR, VENT SOL, and IGN 1 Fuses

Circuit Description

The ignition switch supplies Ignition voltage to the inflatable restraint sensing and diagnostic module (SDM) at terminal A1 using the SIR Fuse. The ignition switch also supplies Ignition 1 voltage to the instrument panel cluster (IP). The AIR BAG warning lamp is controlled by the SDM via Class 2 serial data. When the ignition switch is first turned ON, the SDM responds by performing tests on the SIR system and then commanding the AIR BAG warning lamp OFF after it has flashed seven times.

Diagnostic Aids

If battery voltage is outside of the normal operating voltage range (9 volts-16 volts), the AIR BAG warning lamp will come ON solid with no DTCs set.

Step

Action

Value(s)

Yes

No

DEFINITION: AIR BAG Warning Indicator Circuit Malfunction, No DTCs set.

1

Did you perform the SIR Diagnostic System Check?

--

Go to Step 2

Go to Diagnostic System Check - SIR

2

  1. Using a scan tool establish communication with the SDM.
  2. Use the scan tool to request the SIR data list display.
  3. With a scan tool, observe the ignition voltage parameter in the SIR data list.

Does the scan tool indicate that the ignition voltage is within the specified range?

9-16 V

Go to Step 3

Go to Diagnostic System Check - Engine Electrical in Engine Electrical

3

  1. Using the scan tool pull up Special Functions in Instrument Panel Cluster.
  2. Go to WOW Instrument Cluster in Output Control.
  3. In the WOW mode you can turn ON or OFF the instrument panel indicators.
  4. All of the indicators will turn ON when commanded on.

Does scan tool command the AIR BAG Warning Indicator ON then OFF?

--

Go to Step 4

Go to Step 5

4

Replace the inflatable restraint sensing and diagnostic module (SDM). Refer to Inflatable Restraint Sensing and Diagnostic Module Replacement .

Did you complete the replacement?

--

Go to Diagnostic System Check - SIR

--

5

The AIR BAG warning lamp is not serviceable separately. The instrument panel cluster (IPC) must be service as a complete unit. Refer to Instrument Cluster Replacement in Instrument Panel, Gauges, and Console.

Did you complete the repair?

--

Go to Diagnostic System Check - SIR

--