GM Service Manual Online
For 1990-2009 cars only
Makes
🢒
Cadillac
🢒
2000
🢒
DeVille
🢒
Body and Accessories
🢒
Garage Door Opener
🢒 Garage Door Opener Schematics
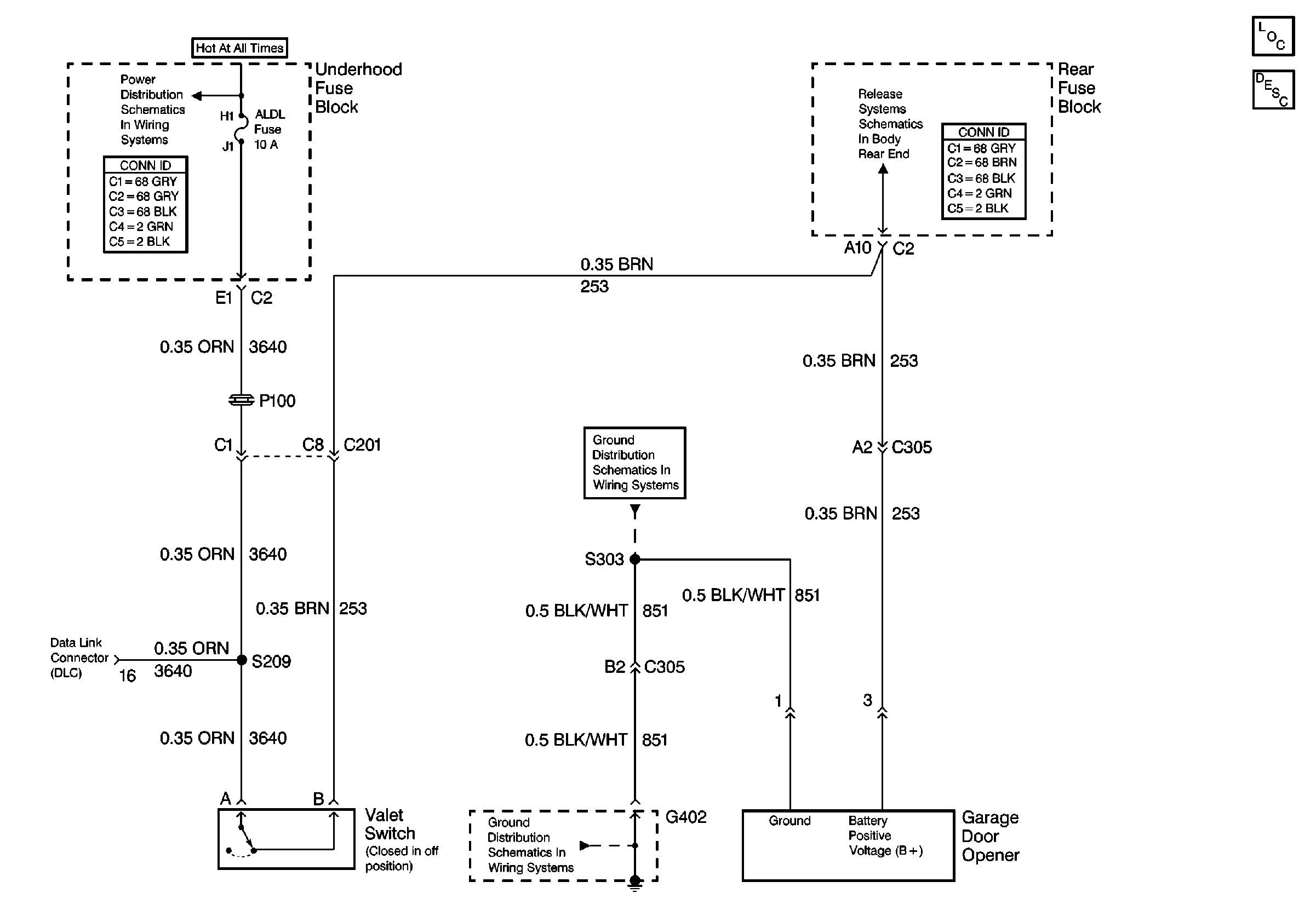
Garage Door Opener Components
Garage Door Opener Circuit Description
Fuse Blocks, Actuators, and Rear Integration Module (RIM)
Underhood Fuse Block Battery Voltage
G402 - Fuel Sender and Other Items
G402 - Fuel Sender and Other Items