GM Service Manual Online
For 1990-2009 cars only
Makes
🢒
Cadillac
🢒
2000
🢒
DeVille
🢒
Body and Accessories
🢒
Seats
🢒 Power Seats Schematics
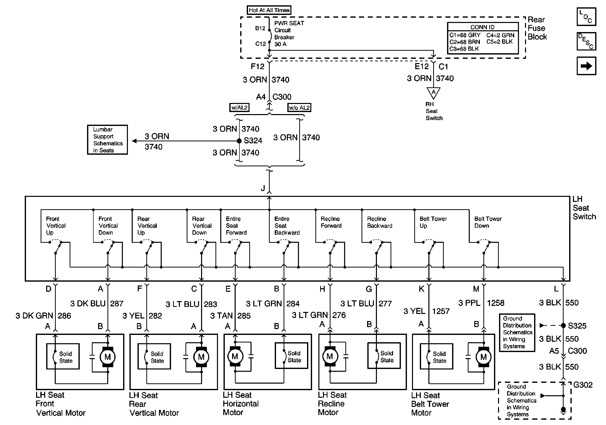
Figure
1:
LH Seat Switch and Motors
Power Seat Systems Components
Power Seats Circuit Description
RH Seat Switch and Motors
RH Seat Switch and Motors
Lumbar Support Schematics
G302 - LH Front Seat
G302 - LH Front Seat
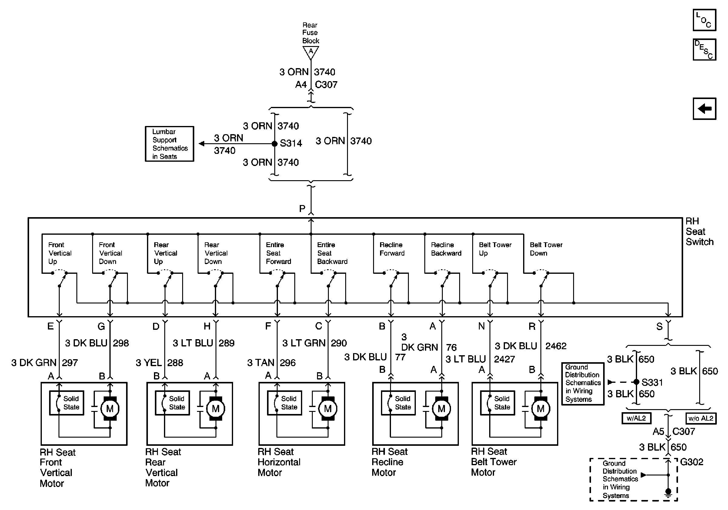
Figure
2:
RH Seat Switch and Motors
Power Seat Systems Components
Power Seats Circuit Description
LH Seat Switch and Motors
LH Seat Switch and Motors
Lumbar Support Schematics
G302 - RH Front Seat
G302 - RH Front Seat