GM Service Manual Online
For 1990-2009 cars only

Info - Rear Seat Belt Buckle Identification and Correct Positioning

Subject:Rear Seat Belt Buckle Identification and Correct Positioning

Models:2000-2001 Cadillac DeVille



The purpose of this bulletin is to assist dealer service personnel in responding to questions that may be received from vehicle owners on the identification and correct positioning of the LEFT and CENTER rear seat belt buckles.


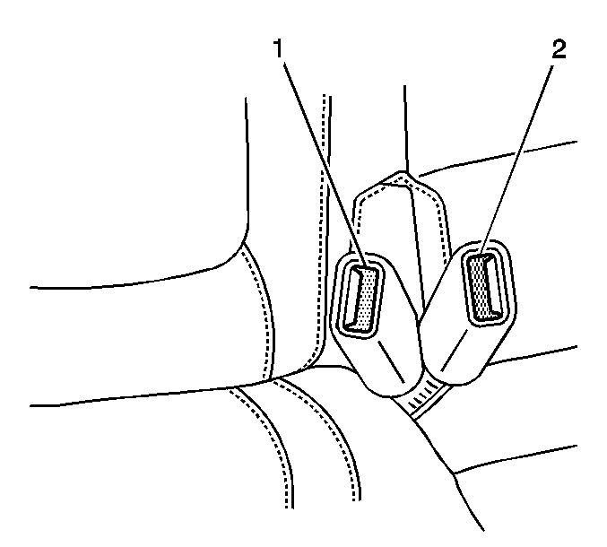
Object Number: 821848  Size: SH

The above illustration shows the correct positioning of the CENTER rear seat belt buckle (1) and the LEFT rear seat belt buckle (2) when not in use. Note that when positioned properly, the release buttons on the buckles will be facing TOWARDS each other.


Object Number: 821850  Size: SH

This illustration shows the correct positioning of the buckles with the shoulder/lap belt in place. Again note that the release buttons (1) are facing TOWARDS each other.


Object Number: 821852  Size: SH

This last illustration shows the buckles positioned INCORRECTLY with the CENTER buckle (1) located outboard of the LEFT buckle (2). Note that the release buttons on the buckles are facing AWAY from each other.

Owners should be reminded that both rear outboard seat belt latch plates and buckles are different from the center latch plate and buckle. As a result of the differences between the two outside seat belts and the center seat belt latch, the LEFT seat belt latch plate will NOT lock in the CENTER buckle and the CENTER seat belt latch plate will NOT lock in the LEFT buckle.

Dealership service personnel should be instructed to verify that the occupants have selected the correct seat belt buckle prior to replacing rear seat belt assemblies that the vehicle owner comments are inoperative.