GM Service Manual Online
For 1990-2009 cars only
Makes
🢒
Cadillac
🢒
2000
🢒
DeVille
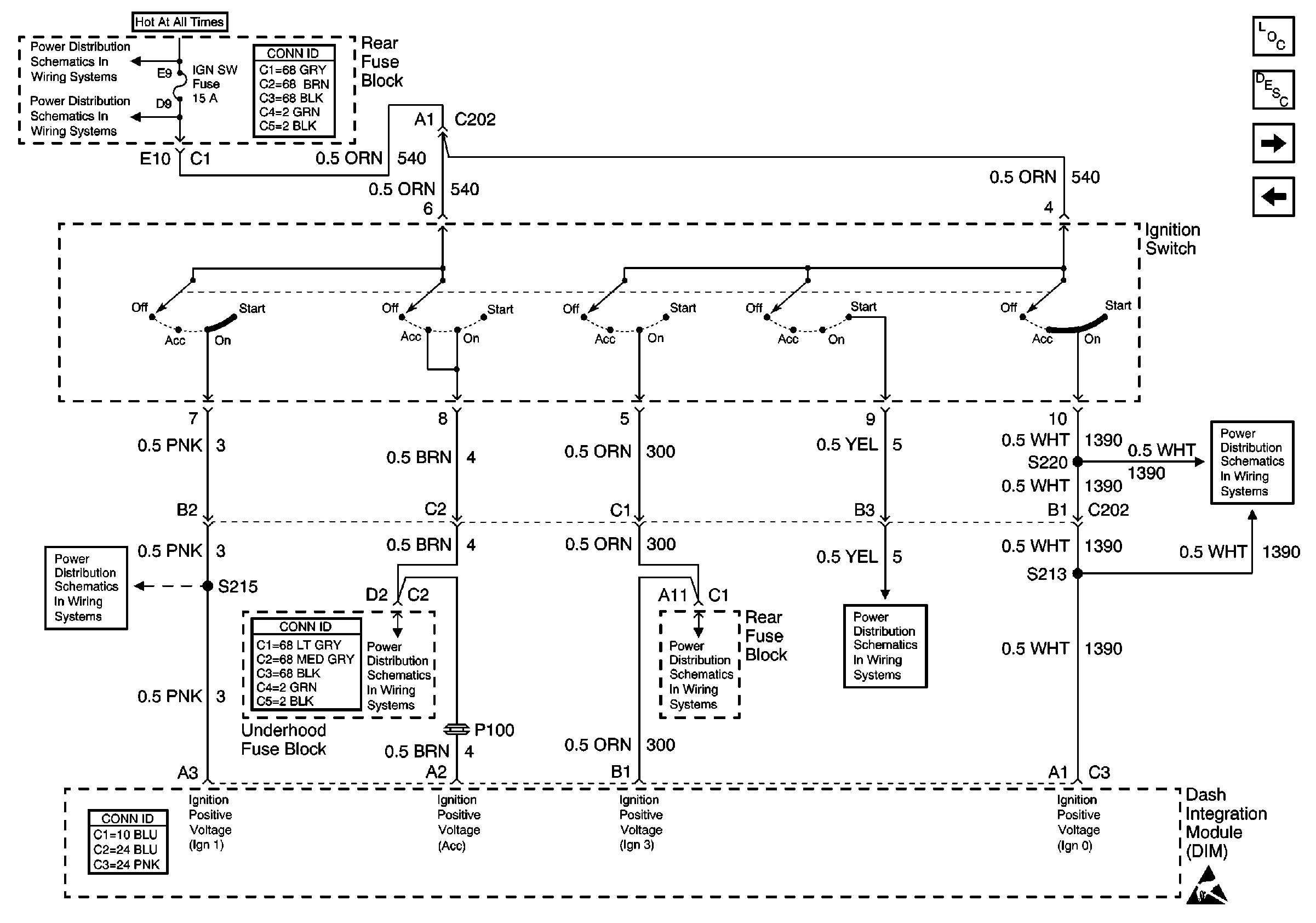
🢒 Dash Integration Module (DIM) - Ignition Switch Inputs
Dash Integration Module (DIM) - Ignition Switch Inputs
Dash Integration Module (DIM) -- Ignition Switch Inputs
Body Control Module Components
Body Control System Circuit Description
Dash Integration Module (DIM) - Lighting Inputs and Outputs
Dash Integration Module (DIM) - Power, Ground and Serial Data
Handling ESD Sensitive Parts Notice
Rear Fuse Block Battery Voltage
RR BLO, RRDR MDL, HVAC BLO, STOP LP, IGN SW, and TSIG/HAZ Fuses
Power and Grounding Connector End Views Fuse Blocks and Ignition Switch
Ignition Switch
Power and Grounding Connector End Views Fuse Blocks and Ignition Switch
Ignition Feed to Underhood and Rear Fuse Blocks
Ignition Switch
Body Control System Connector End Views
Ignition Switch