GM Service Manual Online
For 1990-2009 cars only
Makes
🢒
Cadillac
🢒
2000
🢒
DeVille
🢒 Object Sensors
Object Sensors
Object Sensors
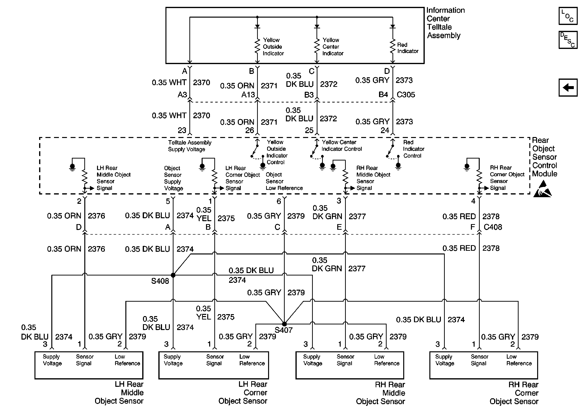
Rear Parking Assist Components
Rear Parking Assist Circuit Description
Rear Object Sensor Control Module - Power, Ground
Handling ESD Sensitive Parts Notice