GM Service Manual Online
For 1990-2009 cars only
Makes
🢒
Cadillac
🢒
2000
🢒
DeVille
🢒 Automatic Level Control w/F45
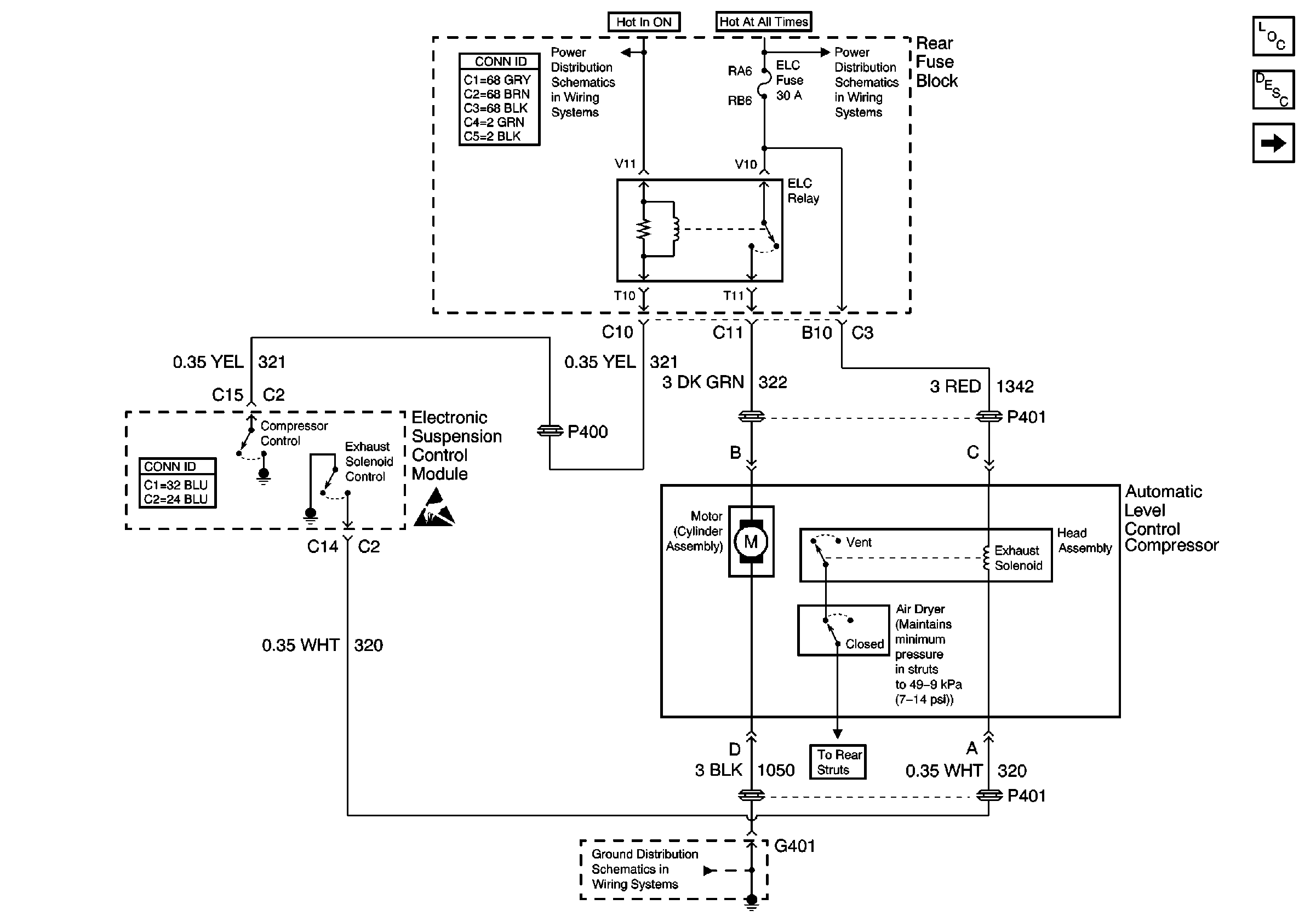
Automatic Level Control w/F45
Automatic Level Control w/F45
Automatic Level Control Suspension Components
Automatic Level Control General Description
Automatic Level Control w/o F45
Rear Fuse Block Battery Voltage
Ignition Feed to Underhood and Rear Fuse Blocks
Power and Grounding Connector End Views Fuse Blocks and Ignition Switch
Automatic Level Control Connector End Views
Handling ESD Sensitive Parts Notice
G401