GM Service Manual Online
For 1990-2009 cars only
Makes
🢒
Cadillac
🢒
2000
🢒
DeVille
🢒 (AL2) Front Seats
(AL2) Front Seats
(AL2) Front Seats
Power Seat Systems Components
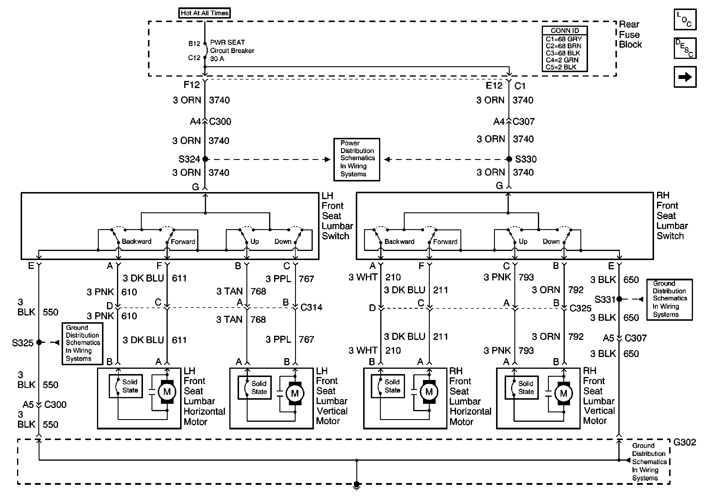
Power Lumbar Circuit Description w/o A45
(AL2) Rear Seats
NAV Fuse and POWER SEAT Circuit Breaker
G302 - LH Front Seat
G302 - RH Front Seat
G302 - RH Front Seat