GM Service Manual Online
For 1990-2009 cars only
Makes
🢒
Cadillac
🢒
2000
🢒
DeVille
🢒 Backup Lamps
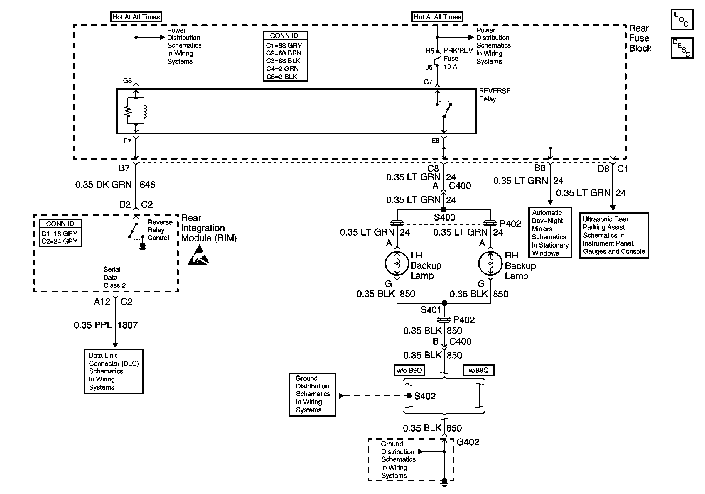
Backup Lamps
Backup Lamp Circuit Description
Rear Object Sensor Control Module - Power, Ground
Inside Rearview Mirror
G402 - Backup Lamps
G402 - Backup Lamps
Serial Data Class 2 (2 of 3)
Handling ESD Sensitive Parts Notice
Rear Fuse Block Battery Voltage
Rear Fuse Block Battery Voltage
Lighting Systems Components