GM Service Manual Online
For 1990-2009 cars only
Makes
🢒
Cadillac
🢒
2000
🢒
DeVille
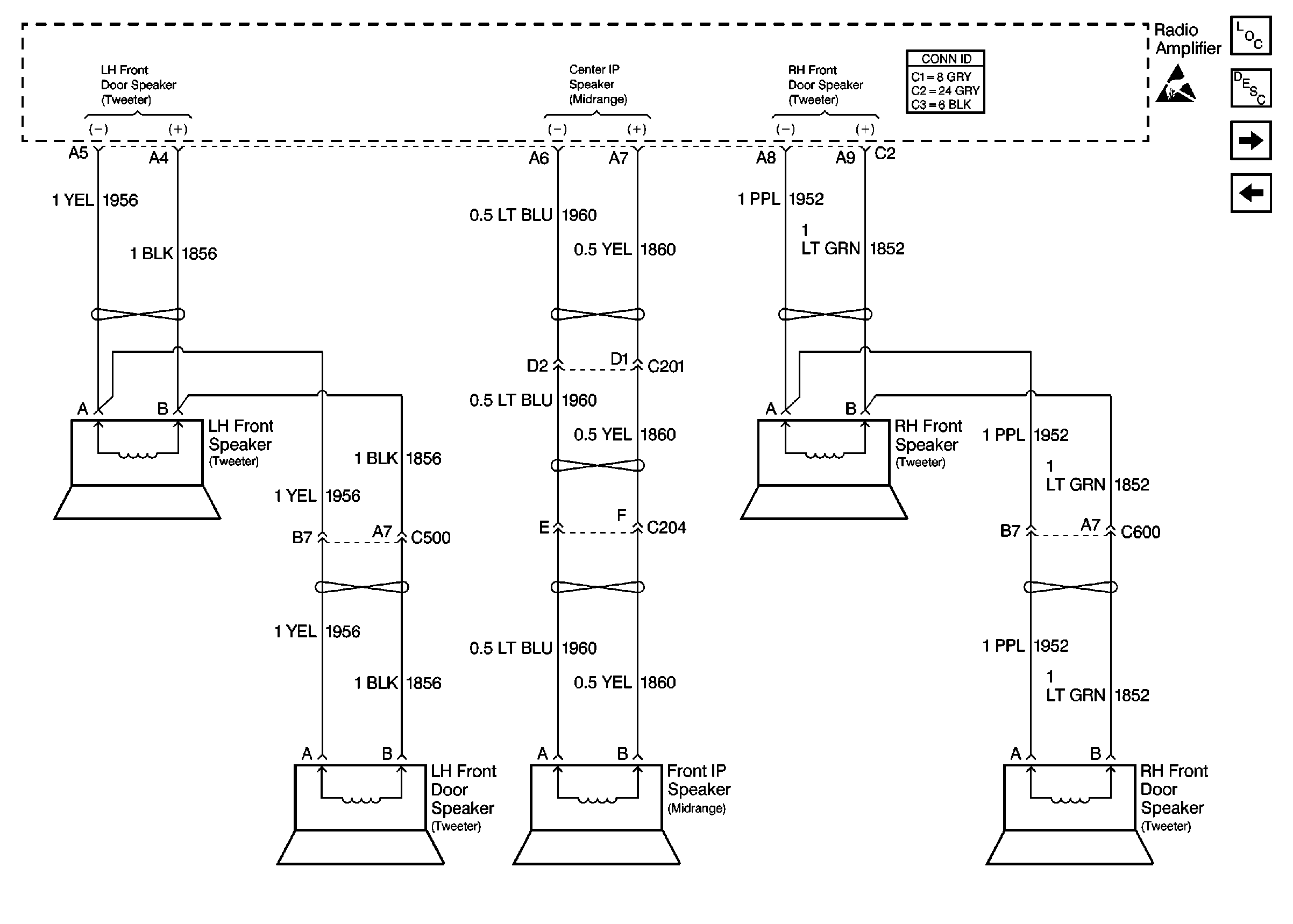
🢒 Front Speakers
Front Speakers
Front Speakers
Entertainment Components
Radio/Audio System Circuit Description exc UY4
Rear Speakers
Radio Amplifier
Handling ESD Sensitive Parts Notice