GM Service Manual Online
For 1990-2009 cars only
Makes
🢒
Cadillac
🢒
2000
🢒
DeVille
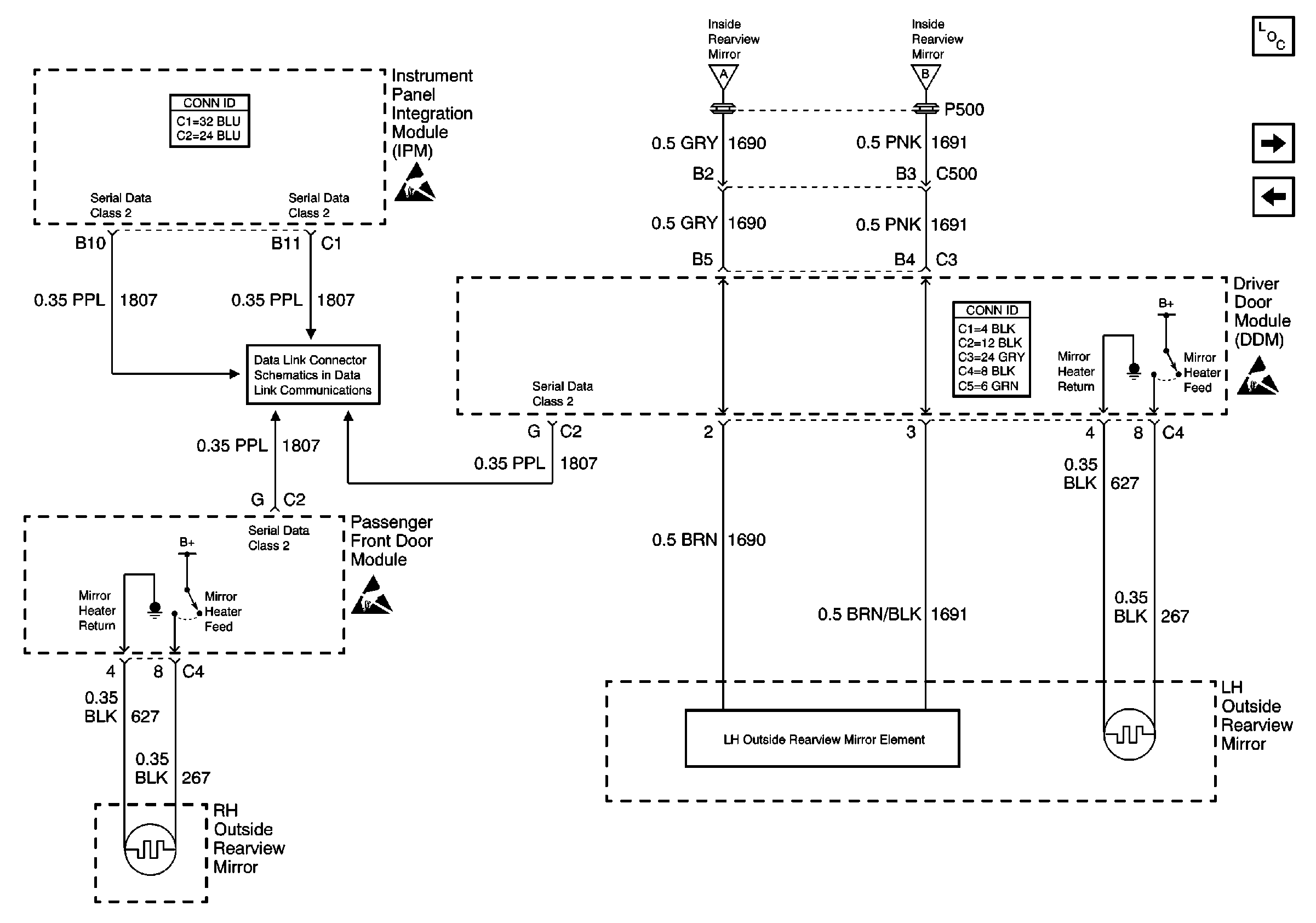
🢒 Heated Mirrors
Heated Mirrors
Heated Mirrors
Power Door Systems Components
Outside Mirrors Operation
RH Power Mirror w/ Memory (A45)
Express Folding Mirrors (Japan)
Handling ESD Sensitive Parts Notice
Handling ESD Sensitive Parts Notice
Handling ESD Sensitive Parts Notice
Data Link Connector Schematics