GM Service Manual Online
For 1990-2009 cars only
Makes
🢒
Cadillac
🢒
2000
🢒
DeVille
🢒 Instrument Panel Dimming
Instrument Panel Dimming
Instrument Panel Dimming
Lighting Systems Components
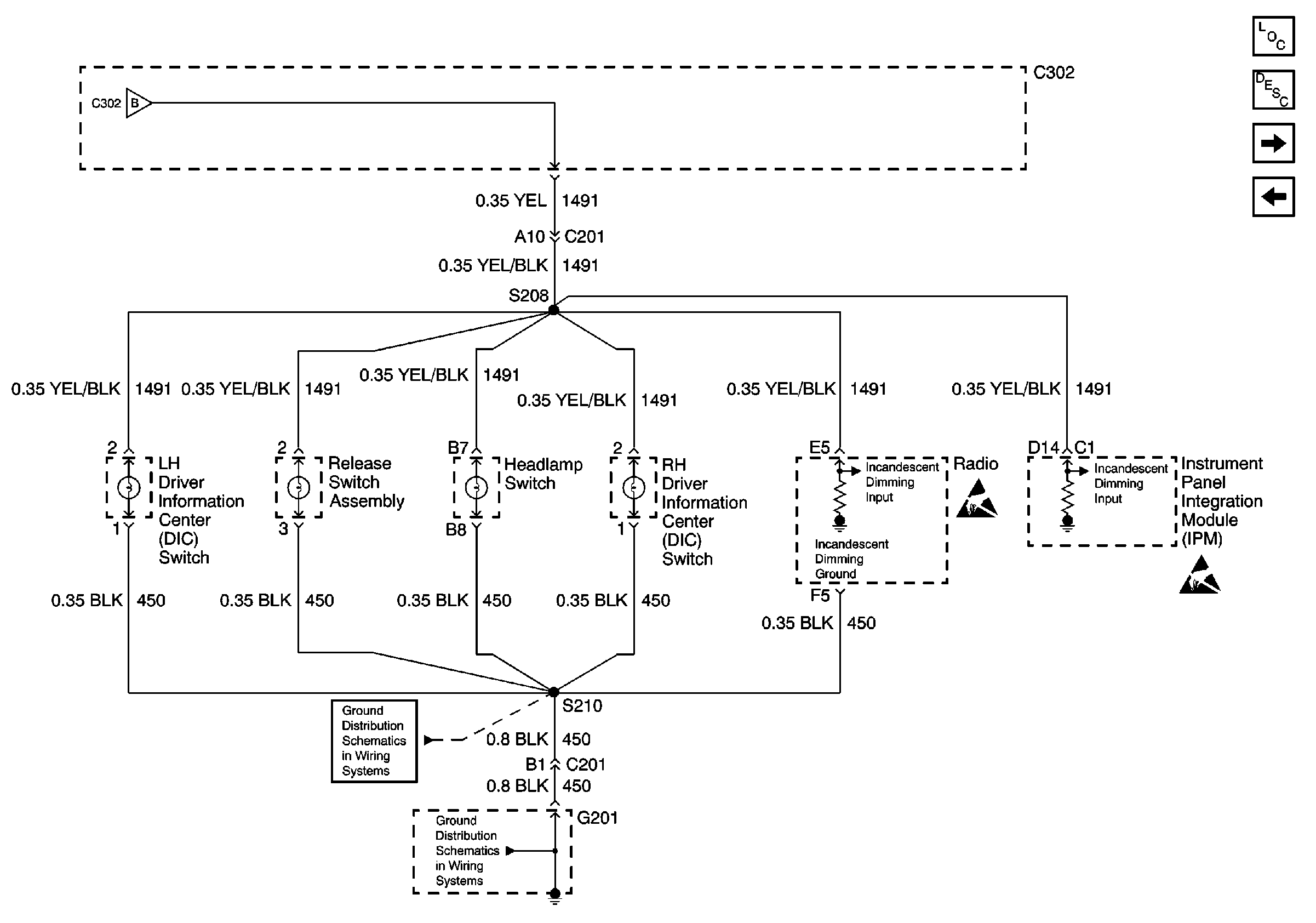
Interior Lights Dimming Circuit Description
Front Door Dimming
Ashtray Lamp, Steering Wheel Controls, Console Dimming
Handling ESD Sensitive Parts Notice
Handling ESD Sensitive Parts Notice
Ashtray Lamp, Steering Wheel Controls, Console Dimming
G201
G201