GM Service Manual Online
For 1990-2009 cars only

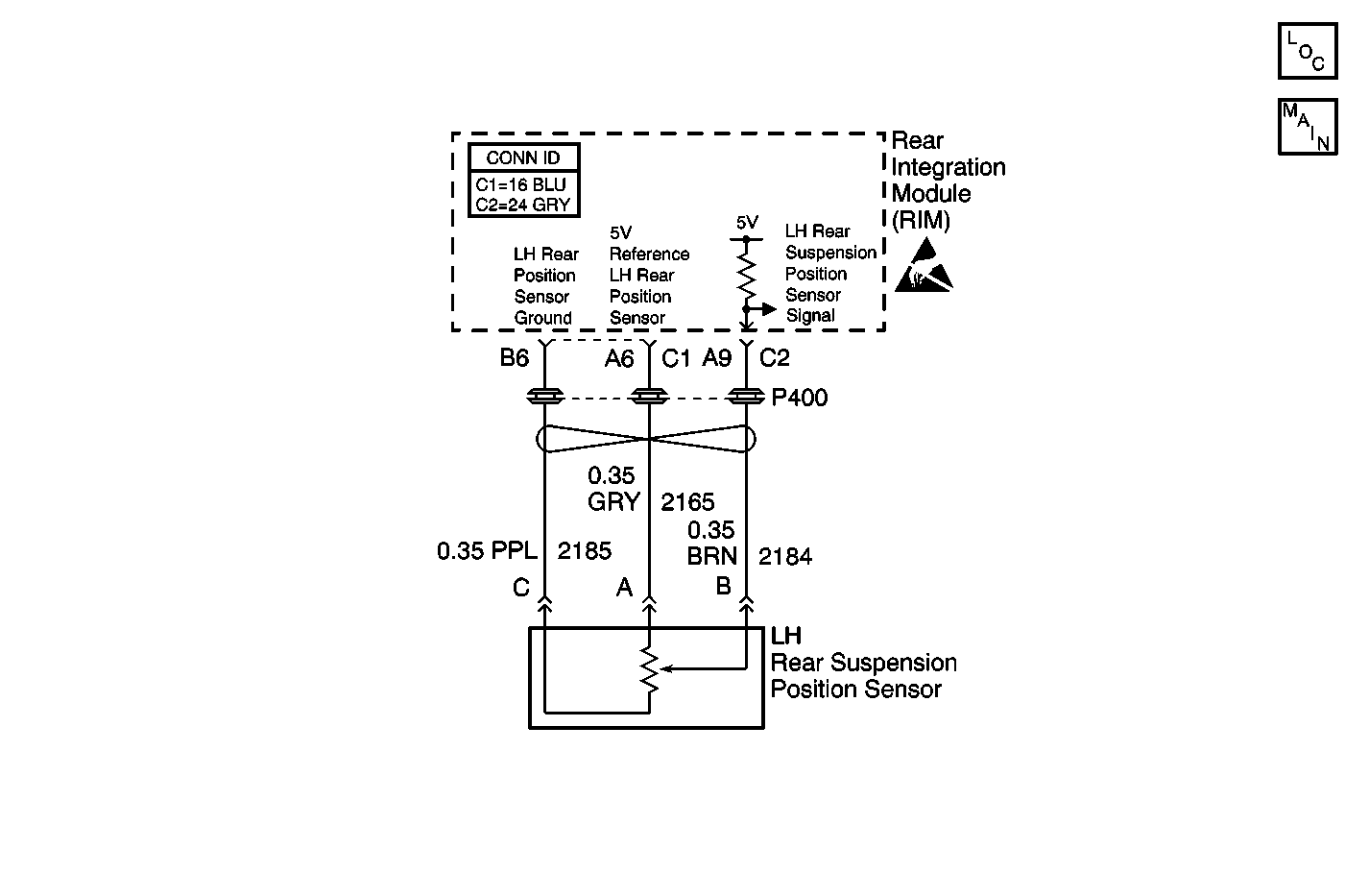
Object Number: 520695  Size: MF
Handling ESD Sensitive Parts Notice
Automatic Level Control Suspension Components
Automatic Level Control w/o F45
Body Control System Connector End Views

Circuit Description

The automatic level control sensor is a potentiometer. The RIM determines the height of the rear of the vehicle based on the voltage from the automatic level control sensor. The RIM raises or lowers the rear of the vehicle in order to keep the vehicle level.

Conditions for Running the DTC

The RIM detects a short to battery voltage on the reference or signal circuit.

Conditions for Setting the DTC

The leveling sensor input or feed circuit is found to be shorted to battery voltage for more than 10 seconds.

Action Taken When the DTC Sets

The automatic leveling control will be disabled.

Conditions for Clearing the MIL/DTC

When the RIM does not detect voltage out of the specified range in the signal or reference circuit during the diagnostic self test.

Diagnostic Aids

Refer to Testing for Intermittent Conditions and Poor Connections and Testing for Electrical Intermittents in Wiring Systems.

Test Description

The numbers below refer to the step numbers on the diagnostic table.

  1. Make sure the good ground used is separate from the grounds used by the Rear Integration Module.

Step

Action

Value(s)

Yes

No

1

Did you perform the Automatic Level Control Diagnostic System Check?

--

Go to Step 2

Go to Automatic Level Control Diagnostic System Check

2

  1. Install a scan tool.
  2. Turn ON the ignition leaving the engine OFF.
  3. With a scan tool, observe the Suspension Position Sensor parameter in the Body Control Module data list using the scan tool.

Does the scan tool indicate the voltage is within the specified range?

0.25--4.75 V

Go to Diagnostic Aids

Go to Step 3

3

  1. Turn OFF the ignition.
  2. Disconnect the suspension position sensor.
  3. Turn ON the ignition leaving the engine OFF.
  4. With a scan tool, observe the suspension position sensor voltage parameter.

Does the scan tool indicate that the voltage parameter is greater than the specified value?

0  V

Go to Step 4

Go to Step 10

4

Measure the voltage of the suspension position sensor signal circuit to ground.

Does the scan tool indicate that the voltage parameter is greater than the specified value?

5  V

Go to Step 6

Go to Step 5

5

Measure the voltage of the suspension position sensor reference circuit to ground.

Does the scan tool indicate that the parameter is greater than the specified value?

5 V

Go to Step 7

Go to Step 8

6

Test the 5-volt signal circuit of the suspension position sensor for a short to voltage. Refer to Circuit Testing and Wiring Repairs in Wiring Systems.

Did you find and correct the condition?

--

Go to Step 14

Go to Step 11

7

Test the 5-volt reference circuit of the suspension position sensor for a short to voltage. Refer to Circuit Testing and Wiring Repairs in Wiring Systems.

Did you find and correct the condition?

--

Go to Step 14

Go to Step 11

8

Measure the resistance of the suspension position sensor ground circuit to ground.

Is the resistance greater than the specified value?

5 ohms

Go to Step 9

Go to Step 10

9

Repair the open circuit or short to voltage on the suspension position sensor ground circuit.

Did you find and correct the condition?

--

Go to Step 14

--

10

Inspect for poor connections at the harness connector of the suspension position sensor. Refer to Testing for Intermittent Conditions and Poor Connections and Connector Repairs in Wiring Systems.

Did you find and correct the condition?

--

Go to Step 14

Go to Step 12

11

Inspect for poor connections at the harness connector of the RIM. Refer to Testing for Intermittent Conditions and Poor Connections and Connector Repairs in Wiring Systems.

Did you find and correct the condition?

--

Go to Step 14

Go to Step 13

12

Replace the suspension position sensor. Refer to Automatic Level Control Sensor Replacement .

Perform the ALC relearn procedure.

Did you complete the replacement?

--

Go to Step 14

--

13

Replace the RIM. Refer to Rear Integration Body Control Module Replacement in Body Control Systems.

Perform the ALC relearn procedure.

Did you complete the replacement?

--

Go to Step 14

--

14

  1. Clear the DTCs using the scan tool.
  2. Operate the vehicle within the Conditions for Running the DTC as specified in the supporting text.

Does the DTC reset?

--

Go to Step 2

System OK