GM Service Manual Online
For 1990-2009 cars only

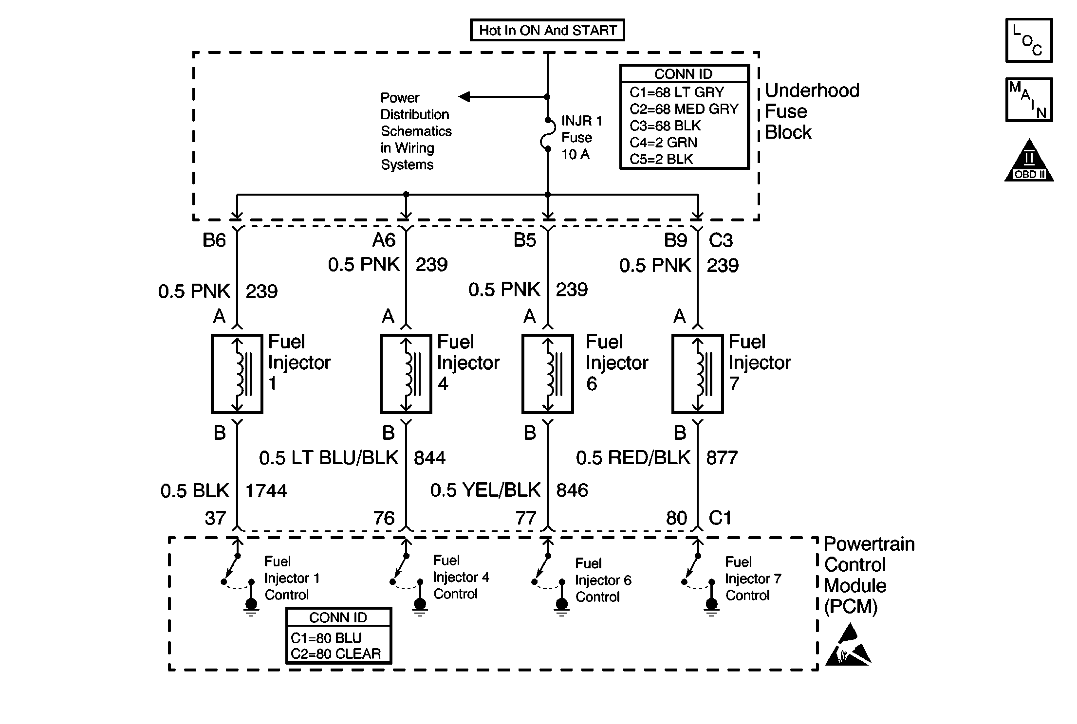
Object Number: 604258  Size: MF
Engine Controls Component Views
Fuel Injectors
OBD II Symbol Description Notice
Handling ESD Sensitive Parts Notice

Circuit Description

The fuel injector is a solenoid operated device. The fuel injectors receive 12 volts from the ignition switch through a fuse. The PCM provides the ground path for each injector through individual driver circuits. The PCM monitors the circuits for proper voltage levels. When an improper voltage level occurs, the driver signals the PCM. If the PCM detects an improper voltage level in the fuel injector circuit for cylinder #1, DTC P0201 will set.

Conditions for Running the DTC

    • No system voltage DTCs are set.
    • The system voltage is between 11-16 volts.

Conditions for Setting the DTC

The PCM detects an improper voltage level in the fuel injector circuit for cylinder #1.

Action Taken When the DTC Sets

    • The PCM illuminates the malfunction indicator lamp (MIL) the first time the malfunction is detected.
    • The PCM records and stores the conditions present when the DTC set as Freeze Frame and Fail Records data.

Conditions for Clearing the MIL/DTC

    • The PCM turns OFF the MIL after 3 consecutive trips during which the diagnostic runs and passes.
    • The History DTC clears after 40 consecutive warm-up cycles have occurred without a malfunction.
    • The DTC can be cleared by using the scan tool Clear DTC Information function.

Diagnostic Aids

If the condition is intermittent, refer to Intermittent Conditions in Symptoms.

Test Description

The numbers below refer to the step numbers in the diagnostic table.

  1. If DTCs P0204, P0206, and P0207 are not set, then the malfunction is isolated to fuel injector #1.

  2. This determines if the circuit is shorted. An open ignition feed circuit or a faulty splice is indicated if the DTCs are set and the fuse is OK.

  3. Checks whether the ignition feed or the fuel injector is shorted.

  4. Checks for a short to voltage on the fuel injector control circuit.

  5. Checks for an open or short to ground in the fuel injector control circuit.

  6. Checks whether the fuel injector is open or if poor terminal contact exists.

  7. This vehicle is equipped with a PCM which utilizes an electrically erasable programmable read only memory (EEPROM). When the PCM is replaced, the new PCM must be programmed.

Step

Action

Values

Yes

No

1

Did you perform the Powertrain On Board Diagnostic (OBD) System Check?

--

Go to Step 2

Go to Powertrain On Board Diagnostic (OBD) System Check

2

With the engine idling, view the DTC Information.

Does the scan tool indicate that DTC P0201 failed last test?

--

Go to Step 4

Go to Step 3

3

  1. Review and record the scan tool Fail Records data.
  2. Operate the vehicle within the Fail Records conditions.
  3. With the scan tool, monitor the Specific DTC Information for DTC P0201 until the test runs.

Does the scan tool indicate that DTC P0201 failed last test?

--

Go to Step 4

Go to Diagnostic Aids

4

Are DTCs P0204, P0206, and P0207 also set?

--

Go to Step 5

Go to Step 7

5

Check for an open injector fuse.

Is the injector fuse open?

--

Go to Step 6

Go to Step 15

6

  1. Remove the fuel injector fuse.
  2. With the DMM , check for the following conditions:
  3. • A short between the fuel injector ignition feed circuit and chassis ground
    • A short between the fuel injector feed circuit and the fuel injector control circuits
  4. If a condition is found, repair as necessary. Refer to Wiring Repairs in Wiring Systems.

Did you find and correct the condition?

--

Go to Step 18

Go to Fuel Injector Solenoid Coil Test - Engine Coolant Temperature Between 10-35 Degrees C (50-95 Degrees F) or Fuel Injector Solenoid Coil Test - Engine Coolant Temperature Outside 10-35 Degrees C (50-95 Degrees F)

7

  1. Disconnect fuel injector #1 connector.
  2. Turn ON the ignition, with the engine OFF.
  3. Connect DMM between the ignition feed circuit in the connector and chassis ground.

Does the DMM display a voltage near the specified value?

B+

Go to Step 8

Go to Step 13

8

  1. Leave the ignition ON.
  2. Leave the fuel injector disconnected.
  3. Turn OFF the ignition.
  4. Disconnect the PCM connector C1. Refer to Powertrain Control Module Replacement/Programming .
  5. Turn ON the ignition, with the engine OFF.
  6. Connect DMM between the fuel injector #1 control circuit in the PCM connector and chassis ground.

Does the DMM display a voltage near the specified value?

B+

Go to Step 14

Go to Step 9

9

  1. Turn OFF the ignition.
  2. Leave the fuel injector disconnected.
  3. Leave the PCM disconnected.
  4. With the DMM , check for the following conditions:
  5. • An open in the fuel injector #1 control circuit.
    • A short to ground in the fuel injector #1 control circuit.
  6. If a condition is found, repair as necessary. Refer to Wiring Repairs in Wiring Systems.

Did you find and correct the condition?

--

Go to Step 18

Go to Step 10

10

  1. Reconnect the fuel injector connector.
  2. Leave the PCM disconnected.
  3. Turn ON the ignition, with the engine OFF.
  4. Connect DMM between the fuel injector #1 control circuit and chassis ground.

Does the DMM display a voltage near the specified value?

B+

Go to Step 11

Go to Step 12

11

  1. Inspect for poor connections at the PCM. Refer to Testing for Intermittent Conditions and Poor Connections in Wiring Systems.
  2. If a condition is found, repair as necessary. Refer to Wiring Repairs in Wiring Systems.

Did you find and correct the condition?

--

Go to Step 18

Go to Step 17

12

  1. Inspect for poor connection at fuel injector #1. Refer to Testing for Intermittent Conditions and Poor Connections in Wiring Systems.
  2. If a condition is found, repair as necessary. Refer to Wiring Repairs in Wiring Systems.

Did you find and correct the condition?

--

Go to Step 18

Go to Step 16

13

Locate and repair the open circuit or faulty splice connection in the fuel injector #1 feed circuit. Refer to Connector Repairs in Wiring Systems.

Is the action complete?

--

Go to Step 18

--

14

Locate and repair the short to voltage in the fuel injector #1 control circuit. Refer to Wiring Repairs in Wiring Systems.

Is the action complete?

--

Go to Step 18

--

15

Locate and repair the open or faulty splice connections in the fuel injector feed circuit. Refer to Wiring Repairs in Wiring Systems.

Is the action complete?

--

Go to Step 18

--

16

Replace fuel injector #1. Refer to Fuel Injector Replacement .

Is the action complete?

--

Go to Step 18

--

17

Important: The replacement PCM must be programmed.

Replace the PCM. Refer to Powertrain Control Module Replacement/Programming .

Is the action complete?

--

Go to Step 18

--

18

  1. Review and record the scan tool Fail Records data.
  2. Clear the DTCs.
  3. Operate the vehicle within the Fail Records conditions.
  4. With the scan tool, monitor the Specific DTC Information for DTC P0201 until the test runs.

Does the scan tool indicate that DTC P0201 passed?

--

System OK

Go to Step 2