GM Service Manual Online
For 1990-2009 cars only

Object Number: 582620  Size: MF
Suspension Controls Components
Actuators and Sensors
Handling ESD Sensitive Parts Notice
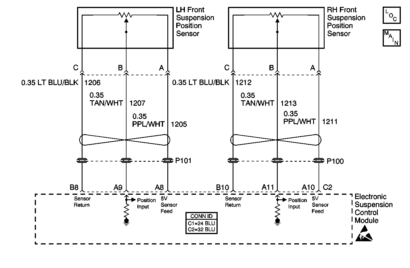
Automatic Level Control Connector End Views

Circuit Description

The Electronic Suspension Control Module position sensor provides an analog voltage (0-5 volts) to the Electronic Suspension Control Module which represents the position between the body and the wheel. The Electronic Suspension Control Module provides the sensor with a 5.0 volt supply. The sensor is grounded through the Electronic Suspension Control Module.

Conditions for Running the DTC

    • The ignition is on.
    • The fault is detected during three consecutive ignition cycles, or during the same igntion cycle after clearing the DTC using the scan tool.

Conditions for Setting the DTC

The DTC is set when the Electronic Suspension Control Module measures the position sensor signal voltage below 0.35 volts or above 4.75 volts for more than 1.0 second.

The DTC is stored as HISTORY when the Electronic Suspension Control Module sees voltage in the normal range (0.35-4.75 volts) for more than 1.0 second.

Action Taken When the DTC Sets

    • The Electronic Suspension Control will enter the Speed Dependent damping mode.
    • Both Left and Right Normal Force Signal outputs will be set to the default output states.
    • The SERVICE RIDE CONTROL message will be displayed.

Conditions for Clearing the MIL/DTC

    • The scan tool can be used to clear the DTC.
    • The On-Board diagnostics CLEAR RSS CODES feature can be used to clear the DTC.
    • The DTC is saved as history when the Electronic Suspension Control Module no longer sees voltage outside the normal range. The DTC will clear if the fault does not return after 50 consecutive ignition cycles.

Diagnostic Aids

This fault condition may be set due to the Electronic Suspension Control position sensor supply over-current fault. If this is the case, the position sensor supply over-current fault (C0696) must be diagnosed first.

Test Description

The number(s) below refer to the step number(s) on the diagnostic table.

  1. Tests for the proper operation of the circuit in the low voltage range.

  2. Tests for the proper operation of the circuit in the high voltage range. If the fuse in the jumper opens when you perform this test, the signal circuit is shorted to ground.

  3. Tests for a short to voltage in the 5 volt reference circuit.

  4. Tests for a high resistance or an open in the ground circuit.

Step

Action

Value(s)

Yes

No

1

Did you perform the Road Sensing Suspension Diagnostic System Check?

--

Go to Step 2

Go to Diagnostic System Check

2

  1. Install a scan tool.
  2. Turn ON the ignition, with the engine OFF.
  3. With the scan tool, observe the LF Position Sensor data parameter in the Electronic Suspension Control Module data list.

Does the scan tool indicate that the LF Position Sensor data parameter is within the specified range?

0.35 - 4.75 V

Go to Diagnostic Aids

Go to Step 3

3

  1. Turn OFF the ignition.
  2. Disconnect the LF Position sensor.
  3. Turn ON the ignition, with the engine OFF.
  4. With a scan tool, observe the LF Position Sensor data parameter.

Does the scan tool indicate that the LF Position Sensor data parameter is less than the specified value?

0.35 V

Go to Step 4

Go to Step 10

4

  1. Turn OFF the ignition.
  2. Connect a 3 amp fused jumper wire between the 5 volt reference circuit of the LF Position Sensor and the signal circuit of the LF Position Sensor.
  3. Turn ON the ignition, with the engine OFF.
  4. With a scan tool, observe the LF Position Sensor data parameter.

Does the scan tool indicate that the LF Position Sensor data parameter is greater than the specified value?

4.75 V

Go to Step 5

Go to Step 8

5

  1. Disconnect the fused jumper wire.
  2. Measure the voltage between the 5 volt reference circuit of the LF Position Sensor and the ground circuit of the LF Position Sensor.

Does the voltage measure less than the specified value?

5 V

Go to Step 6

Go to Step 7

6

  1. Turn OFF the ignition.
  2. Disconnect the negative battery cable.
  3. Measure the resistance from the ground circuit of the LF Position Sensor to a good ground.

Does the resistance measure less than the specified value?

5 ohms

Go to Step 12

Go to Step 11

7

Test the 5 volt reference circuit of the LF Position Sensor for a short to voltage. Refer to Circuit Testing and Wiring Repairs in Wiring Systems.

Did you find and correct the condition?

--

Go to Step 16

Go to Step 13

8

Test the 5 volt reference circuit of the LF Position Sensor for a short to ground, a high resistance, or an open. Refer to Circuit Testing and Wiring Repairs in Wiring Systems.

Did you find and correct the condition?

--

Go to Step 16

Go to Step 9

9

Test the signal circuit of the LF Position Sensor for a short to ground, a high resistance, or an open. Refer to Circuit Testing and Wiring Repairs in Wiring Systems.

Did you find and correct the condition?

--

Go to Step 16

Go to Step 13

10

Test the signal circuit of the LF Position Sensor for a short to voltage. Refer to Circuit Testing and Wiring Repairs in Wiring Systems.

Did you find and correct the condition?

--

Go to Step 16

Go to Step 13

11

  1. Disconnect the Electronic Suspension Control Module.
  2. Test the ground circuit of the LF Position Sensor for a high resistance or an open. Refer to Circuit Testing and Wiring Repairs in Wiring Systems.

Did you find and correct the condition?

--

Go to Step 16

Go to Step 13

12

Inspect for poor connections at the harness connector of the LF Position Sensor. Refer to Testing for Intermittent Conditions and Poor Connections and Connector Repairs in Wiring Systems.

Did you find and correct the condition?

--

Go to Step 16

Go to Step 14

13

Inspect for poor connections at the harness connector of the Electronic Suspension Control Module. Refer to Testing for Intermittent Conditions and Poor Connections and Connector Repairs in Wiring Systems.

Did you find and correct the condition?

--

Go to Step 16

Go to Step 15

14

Replace the LF Position Sensor. Refer to Electronic Suspension Front Position Sensor Replacement .

Did you complete the replacement?

--

Go to Step 16

--

15

Important: Perform the set up procedure for the Electronic Suspension Control Module.

Replace the Electronic Suspension Control Module. Refer to Electronic Suspension Control Module Replacement .

Did you complete the replacement?

--

Go to Step 16

--

16

  1. Use the scan tool in order to clear the DTCs.
  2. Operate the vehicle within the Conditions for Running the DTC as specified in the supporting text.

Does the DTC reset?

--

Go to Step 2

System OK