GM Service Manual Online
For 1990-2009 cars only

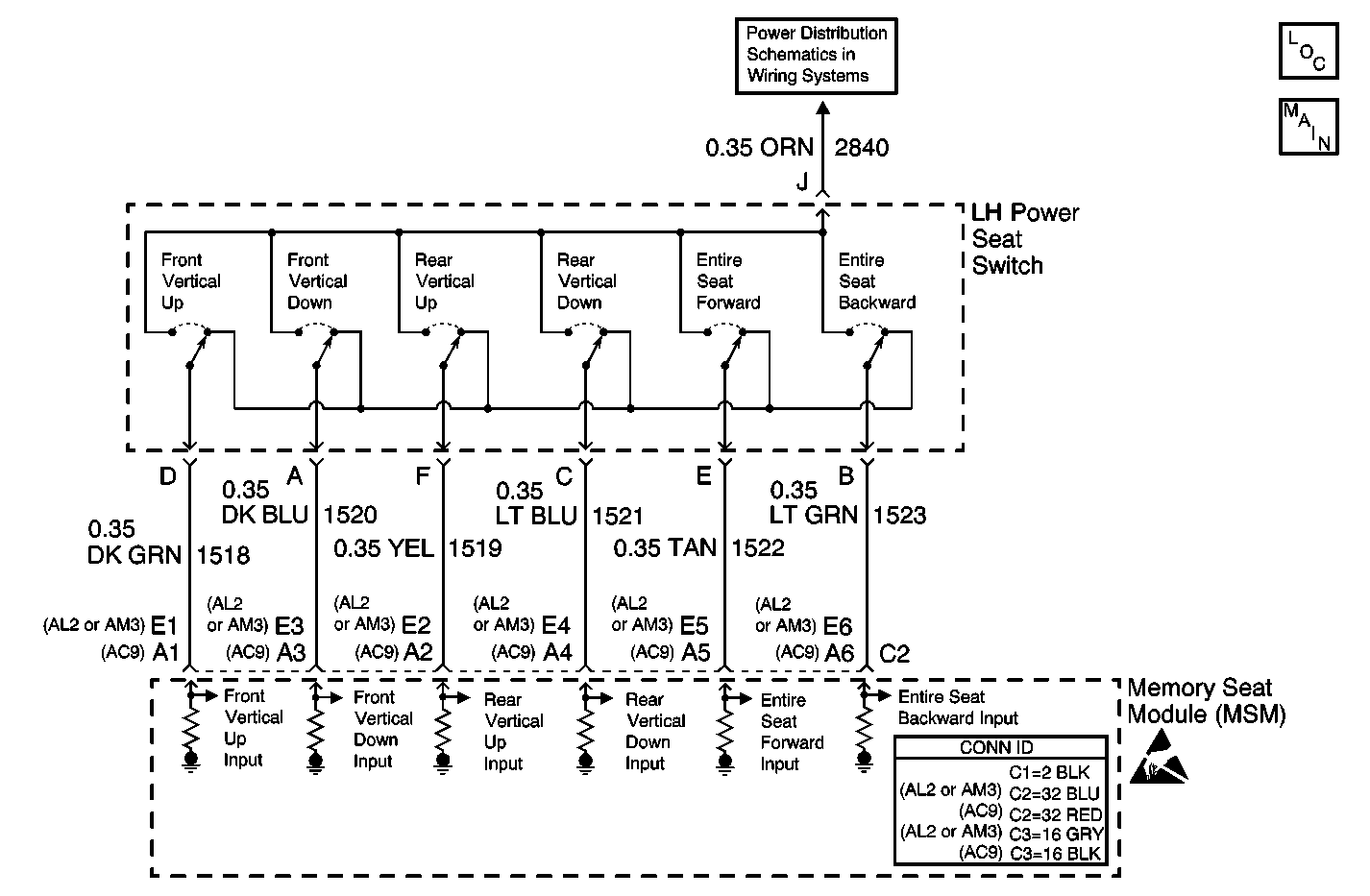
Object Number: 609759  Size: MF
Power Seat Systems Components
Memory Seat Schematics With AL2 PWR, GND, Seat SW and MSM
MEM T&T, RRLUM/ANT, and HTDST LF Fuses
Handling ESD Sensitive Parts Notice

Circuit Description

When the power seat switches are pressed they send a 12 volt signal to the memory seat module (MSM). The MSM commands the driver seat to move in response to the switch signals.

Conditions for Running the DTC

The MSM must be powered and can not have DTC B1327 -- Battery Voltage Low as an active DTC for this DTC to set.

Conditions for Setting the DTC

    • If a seat switch continues to be active for 30 seconds after a motor controlled by that switch reaches the end of its travel, the switch will be considered shorted and the MSM will set the DTC.
    • If a position sensor DTC is current and the associated switch is active for 30 continuous seconds, the switch will be considered shorted and the MSM will set a switch DTC.
    • A switch DTC will not set if DTC B1327 is current.

Action Taken When the DTC Sets

    • A motor output driven in response to a switch considered failed, is deactivated for both directions.
    • All memory recall commands are ignored.
    • The MSM will respond to any other switch signal that has not set a DTC.

Conditions for Clearing the DTC

The DTC automatically clears when the switch circuit setting the DTC is no longer active.

Test Description

The numbers below refer to the step numbers on the diagnostic table.

  1. Checks the existing state of the driver's memory/seat switch by using the current state of the input parameter. If all of seat switch parameters display active, possibly one of the seat switch input circuits is shorted to voltage.

  2. When the seat switch is disconnected, this step determines if the seat switch contacts are stuck closed, or if one of the switch input circuits is possibly shorted to voltage.

  3. Determines if the switch input circuit is shorted to battery positive voltage (B+).

  4. This step verifies the repair.

Step

Action

Value(s)

Yes

No

1

Did you perform the Diagnostic System Check - Power Seat Systems?

--

Go to Step  2

Go to Diagnostic System Check - Power Seat Systems

2

  1. Install a scan tool.
  2. Turn ON the ignition, with the engine OFF.
  3. With a scan tool, observe the Seat Forward parameter in the Memory Seat Module data list.

Does the scan tool display Inactive?

--

Go to Step  3

Go to Step  4

3

  1. With a scan tool, observe the Seat Forward parameter.
  2. Activate the seat FORWARD switch.

Does the Seat Forward parameter change state?

--

Go to Testing for Intermittent Conditions and Poor Connections in Wiring Systems

Go to Step  4

4

  1. Turn OFF the ignition.
  2. Disconnect the seat switch harness connector.
  3. Turn ON the ignition, with the engine OFF.
  4. With a scan tool, observe all of the seat switch parameters in the Memory Seat Module data list.

Does the scan tool display Inactive for all of the parameters?

--

Go to Step  7

Go to Step  5

5

Test the switch input circuit that displays active for a short to voltage. Refer to Circuit Testing and Wiring Repairs in Wiring Systems.

Did you find and correct the condition?

--

Go to Step  10

Go to Step  6

6

Inspect for poor connections at the harness connector of the memory seat module. Refer to Testing for Intermittent Conditions and Poor Connections and Connector Repairs in Wiring Systems.

Did you find and correct the condition?

--

Go to Step  10

Go to Step  8

7

Inspect for poor connections at the harness connector of the seat switch assembly. Refer to Testing for Intermittent Conditions and Poor Connections and Connector Repairs in Wiring Systems.

Did you find and correct the condition?

--

Go to Step  10

Go to Step  9

8

Replace the memory seat module. Refer to Memory Seat Control Module Replacement .

Did you complete the replacement?

--

Go to Step  10

--

9

Replace the seat switch assembly. Refer to Power Seat Switch Replacement .

Did you complete the replacement?

--

Go to Step  10

--

10

  1. Use the scan tool in order to clear the DTCs.
  2. Operate the vehicle within the Conditions for Running the DTC as specified in the supporting text.

Does the DTC reset?

--

Go to Step  2

System OK