GM Service Manual Online
For 1990-2009 cars only

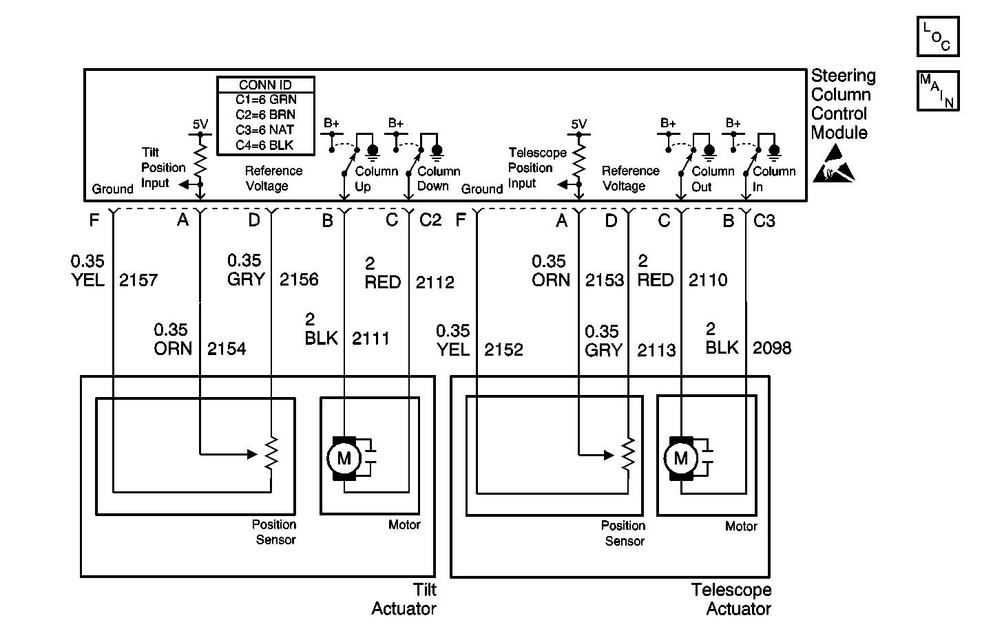
Object Number: 543734  Size: MF
Tilt Wheel/Column Components
Tilt/Telescoping Steering Column Module Schematics
Handling ESD Sensitive Parts Notice

Circuit Description

The tilt/telescoping steering column module (SCCM) receives ground inputs from contacts inside the tilt/telescoping switch. The SCCM then supplies battery voltage to the tilt motor UP or DOWN circuit, or, the telescope motor IN or OUT circuit depending on which direction of movement is requested. Both motors are reversible and the circuits are simply reversed to accomplish movement in opposite directions.

Conditions for Running the DTC

The SCCM checks the tilt and telescope motors for excessive current every 300 milliseconds if there is no code B1327 currently set.

Conditions for Setting the DTC

The SCCM sets DTC B2891 any time it detects the motor current is out-of-range for 100 milliseconds.

Action Taken When the DTC Sets

When DTC B2891 is set as current, the steering column tilt/telescoping module (SCCM) enables the affected motor for manual and memory recall positioning. A reoccurrence of the over current condition causes the affected motor to stop.

Conditions for Clearing the DTC

    • The SCCM detects that motor current is no longer present.
    • Use the On-Boards clearing DTCs feature.
    • Use a scan tool.

Diagnostic Aids

Since most occurrences of this DTC may be caused by excessive current during cold weather conditions, review the circumstances with the customer to verify the conditions under which the DTC set.

Step

Action

Value(s)

Yes

No

1

Did you perform the Tilt/Telescoping Steering Column Diagnostic System Check?

--

Go to Step 2

Go to Tilt/Telescoping Steering Column Diagnostic System Check

2

  1. Turn OFF the ignition.
  2. Install a scan tool.
  3. Turn the ignition ON, with the engine OFF.
  4. Observe the Motor Current parameter in the Tilt/Telescope Module Data Display list while activating the tilt/telescoping steering column manual switch from the Idle position to the Up and Down positions.

Does the Motor Current parameter display more than the specified value?

7  amps

Go to Step 4

Go to Step 3

3

With the scan tool, observe the Motor Current parameter while operating the switch from the Idle position to the In and Out positions.

Does the Motor Current parameter display more than the specified value?

7  amps

Go to Step 5

Go to Diagnostic Aids

4

Important: Perform the set up procedure for the tilt/telescoping steering column control module.

Replace the tilt actuator. Refer to Tilt Motor Assembly - Disassemble - Off Vehicle .

Did you complete the replacement?

--

Go to Step 6

--

5

Important: Perform the set up procedure for the tilt/telescoping steering column control module.

Replace the telescope actuator. Refer to Telescope Motor Assembly - Disassemble - Off Vehicle .

Did you complete the replacement?

--

Go to Step 6

--

6

  1. Use the scan tool in order to clear DTCs.
  2. Operate the vehicle within the Conditions for Running the DTC as specified in the supporting text.

Does the DTC reset?

--

Go to Step 2

System OK