GM Service Manual Online
For 1990-2009 cars only

Object Number: 474572  Size: MF
Body Control Module Components
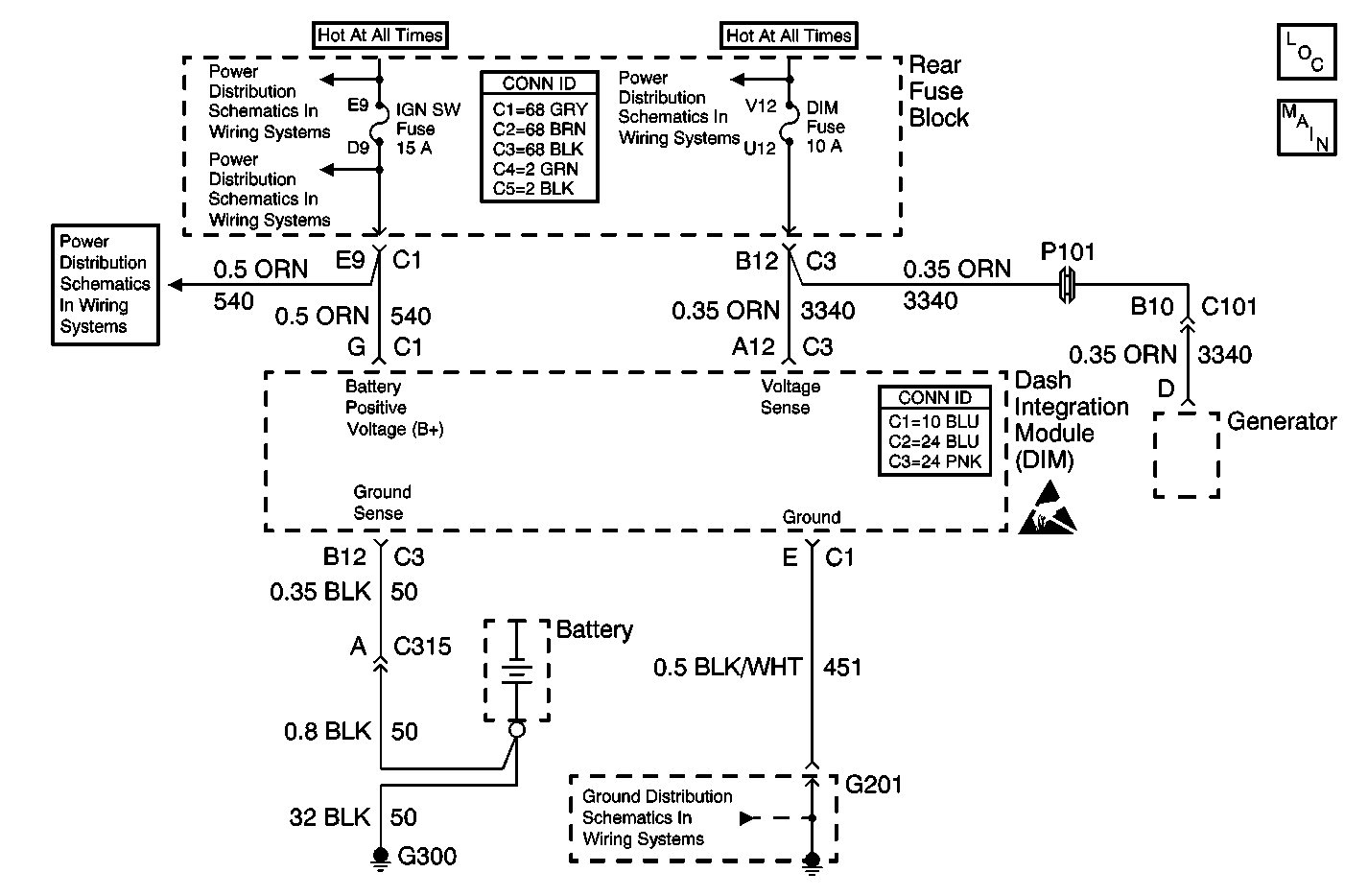
Dash Integration Module (DIM) - Power, Ground and Serial Data
Handling ESD Sensitive Parts Notice
RR BLO, RRDR MDL, HVAC BLO, STOP LP, IGN SW, and TSIG/HAZ Fuses
Rear Fuse Block Battery Voltage
RR BLO, RRDR MDL, HVAC BLO, STOP LP, IGN SW, and TSIG/HAZ Fuses
Power and Grounding Connector End Views Fuse Blocks and Ignition Switch
Rear Fuse Block Battery Voltage
Body Control System Connector End Views
G201 - Steering Column

Circuit Description

The dash integration module (DIM) has an internal battery voltage sensor and a reference voltage. The DIM compares these voltages every 300 milliseconds.

Conditions for Running the DTC

This DTC shall run only if the DIM has power and ground. This DTC shall execute regardless of the source voltage.

Conditions for Setting the DTC

This code shall be set after 10 consecutive readings that the two voltages differ 1 volt or greater.

Action Taken When the DTC Sets

All writes to the EEPROM shall be suspended.

Conditions for Clearing the MIL/DTC

In order to clear the DTC from a current status, the two voltages shall differ less than 1 volt for ten consecutive readings.

Step

Action

Value(s)

Yes

No

1

Did you Diagnostic System Check - Engine Electrical in Engine Electrical?

--

Go to Step 2

Go to Diagnostic System Check - Engine Electrical in Engine Electrical

2

  1. Turn OFF the ignition.
  2. Disconnect the Dash Integration Module (DIM).
  3. Turn ON the ignition, with the engine OFF.
  4. Measure the voltage from the voltage sensor input circuit of the DIM to the voltage sensor ground circuit of the DIM.

Is the voltage greater than the specified value?

12 V

Go to Step 3

Go to Step 4

3

Measure the voltage from the voltage sensor input circuit of the DIM to a good ground.

Is the voltage greater than the specified value?

12 V

Go to Step 7

Go to Step 6

4

Measure the voltage from the input circuit of the DIM to the ground circuit of the DIM.

Is the voltage greater than the specified value?

12 V

Go to Step 10

Go to Step 5

5

Measure the voltage from the input circuit of the DIM to a good ground.

Is the voltage greater than the specified value?

12 V

Go to Step 9

Go to Step 8

6

Test the voltage sensor input circuit for a high resistance or an open. Refer to Circuit Testing and Wiring Repairs in Wiring Systems.

Did you find and correct the condition?

--

Go to Step 12

Go to Step 10

7

Test the voltage sensor ground circuit for a high resistance or an open. Refer to Circuit Testing and Wiring Repairs in Wiring Systems.

Did you find and correct the condition?

--

Go to Step 12

Go to Step 10

8

Test the DIM input circuit for a high resistance or an open. Refer to Circuit Testing and Wiring Repairs in Wiring Systems.

Did you find and correct the condition?

--

Go to Step 12

Go to Step 10

9

Test the DIM ground circuit for a high resistance or an open. Refer to Circuit Testing and Wiring Repairs in Wiring Systems.

Did you find and correct the condition?

--

Go to Step 12

Go to Step 10

10

Inspect for poor connections at the harness connector of the DIM. Refer to Testing for Intermittent Conditions and Poor Connections and Connector Repairs in Wiring Systems.

Did you find and correct the condition?

--

Go to Step 12

Go to Step 11

11

Important:: Perform the set up procedure for the DIM.

Replace the DIM.

Refer to Dash Integration Module Replacement .

Did you complete the replacement?

--

Go to Step 12

--

12

  1. Use the scan tool in order to clear the DTCs.
  2. Operate the vehicle within the Conditions for Running the DTC as specified in the supporting text.

Does the DTC reset?

--

Go to Step 2

System OK