GM Service Manual Online
For 1990-2009 cars only
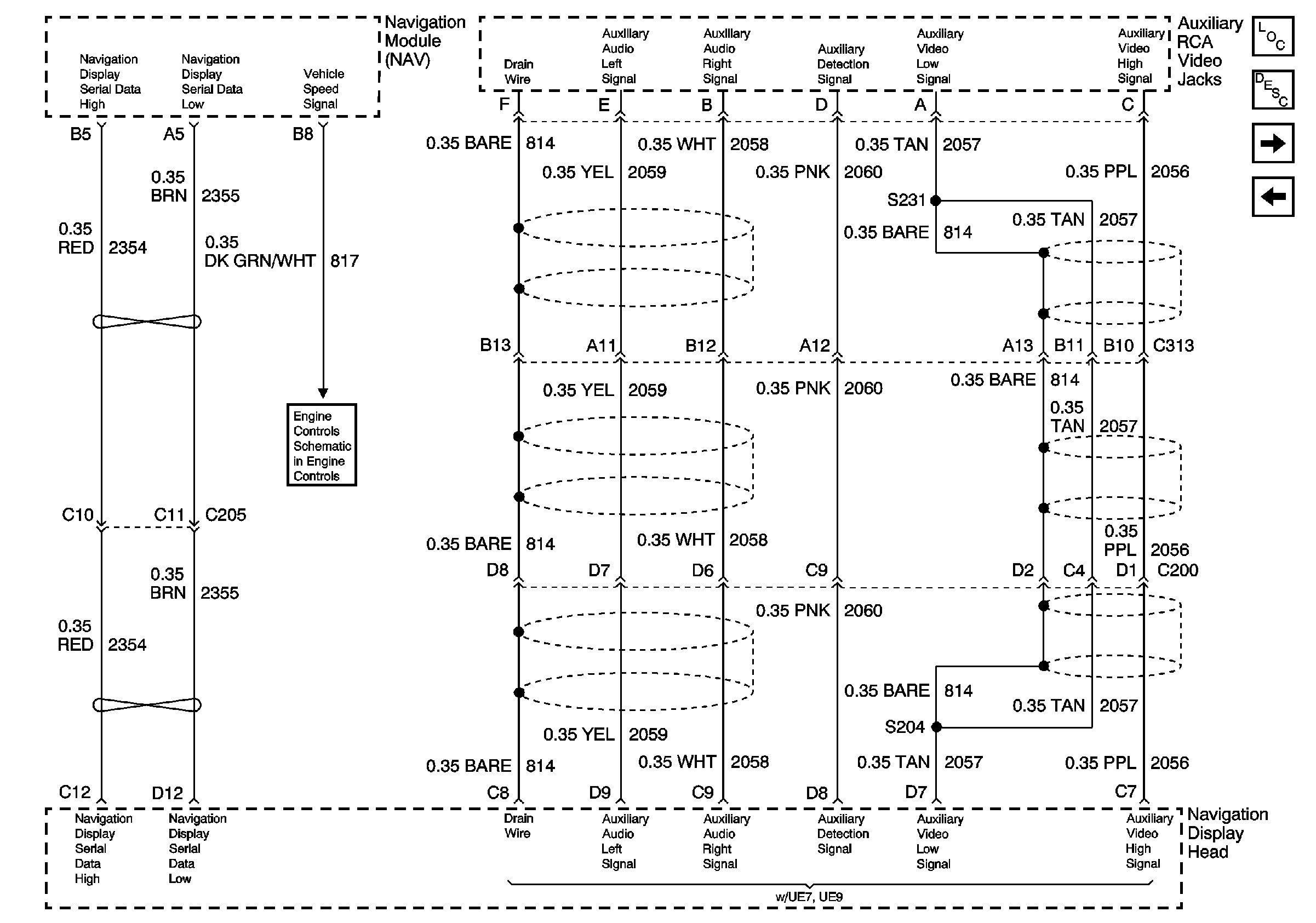
Figure 1:

Power, Ground and Class 2


Object Number: 661775  Size: FS
Master Electrical Component List
Gateway Communication and Video Jacks
Class 2 Serial Data (2 of 3)
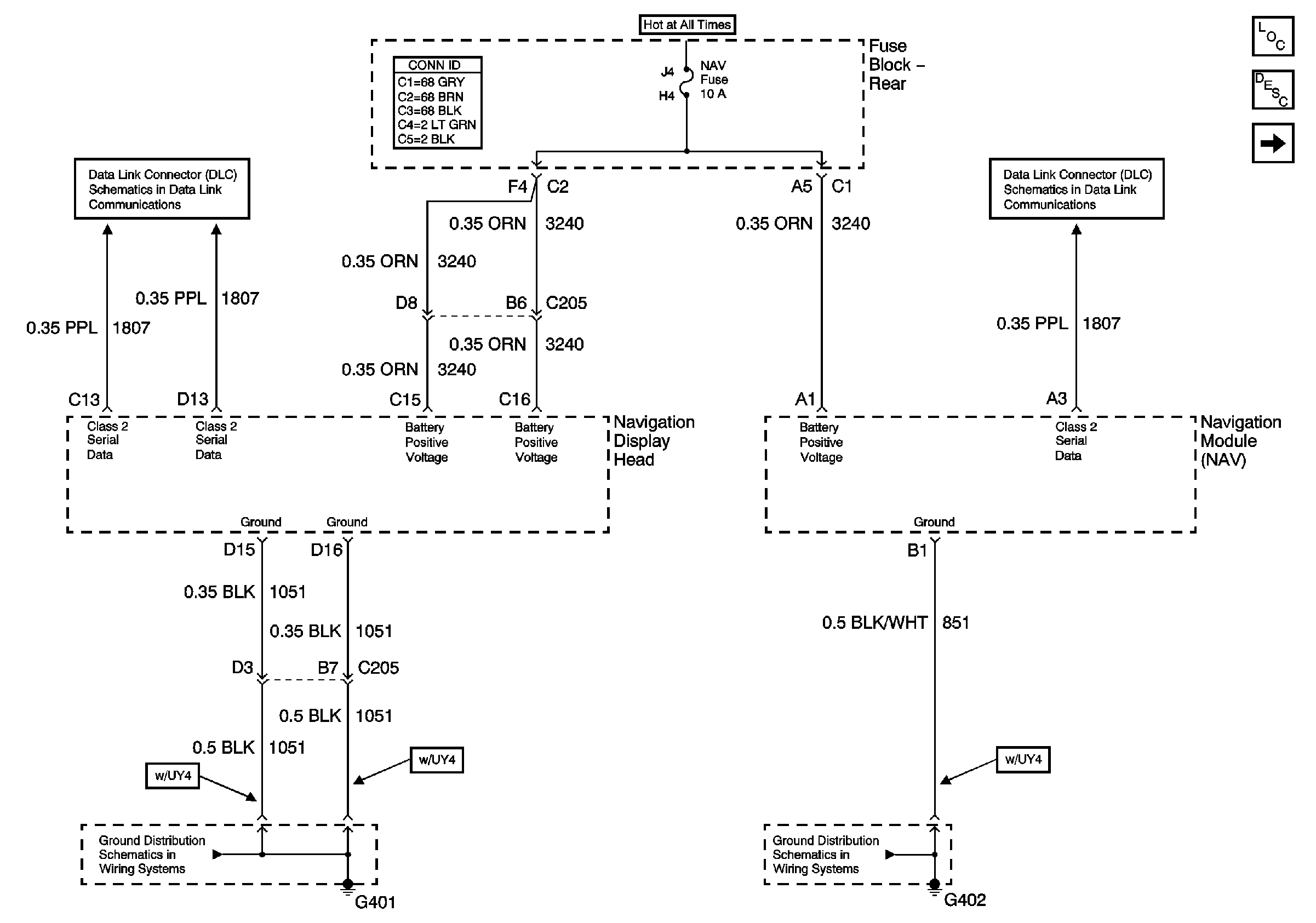
G402 Headliner, Fuel Sender, V4U/B9Q
NAV Fuse and PWR Seat Circuit Breaker
Class 2 Serial Data (1 of 3)
G401
Figure 2:

Gateway Communication and Video Jacks


Object Number: 661785  Size: FS
Master Electrical Component List
Video and Radio Communications
Power, Ground and Class 2
Cruise Control and Vehicle Speed Signal
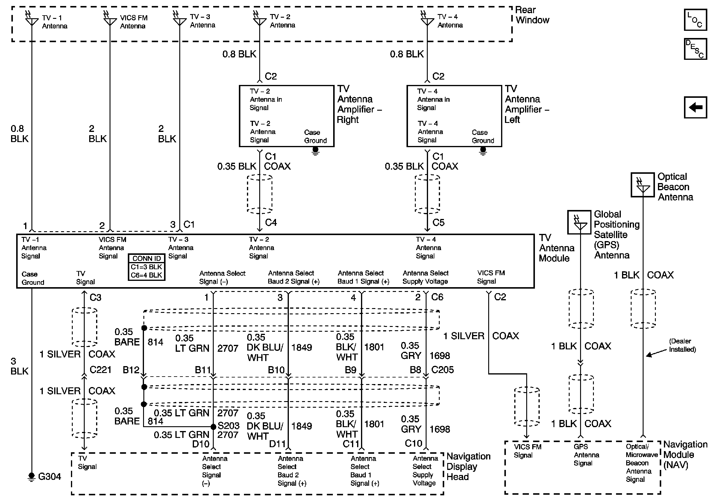
Figure 3:

Video and Radio Communications


Object Number: 661787  Size: FS
Master Electrical Component List
Antennas
Gateway Communication and Video Jacks
Figure 4:

Antennas


Object Number: 661789  Size: FS
Master Electrical Component List
Navigation System Description and Operation
Video and Radio Communications