GM Service Manual Online
For 1990-2009 cars only
Figure 1:

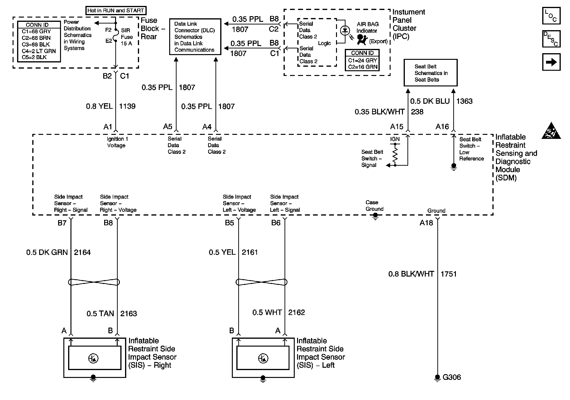
Power, Ground and Side Impact Sensors


Object Number: 663384  Size: FS
Master Electrical Component List
SIR System Description and Operation
SDM Front and Rear Side Inflator Modules (w/AW9)
SIR Caution
G300,G303,G304,G306
SIR, Vent Sol, and IGN 1 Fuses
Class 2 Serial Data (1 of 3)
Fasten Seat Belt Switch and Indicator
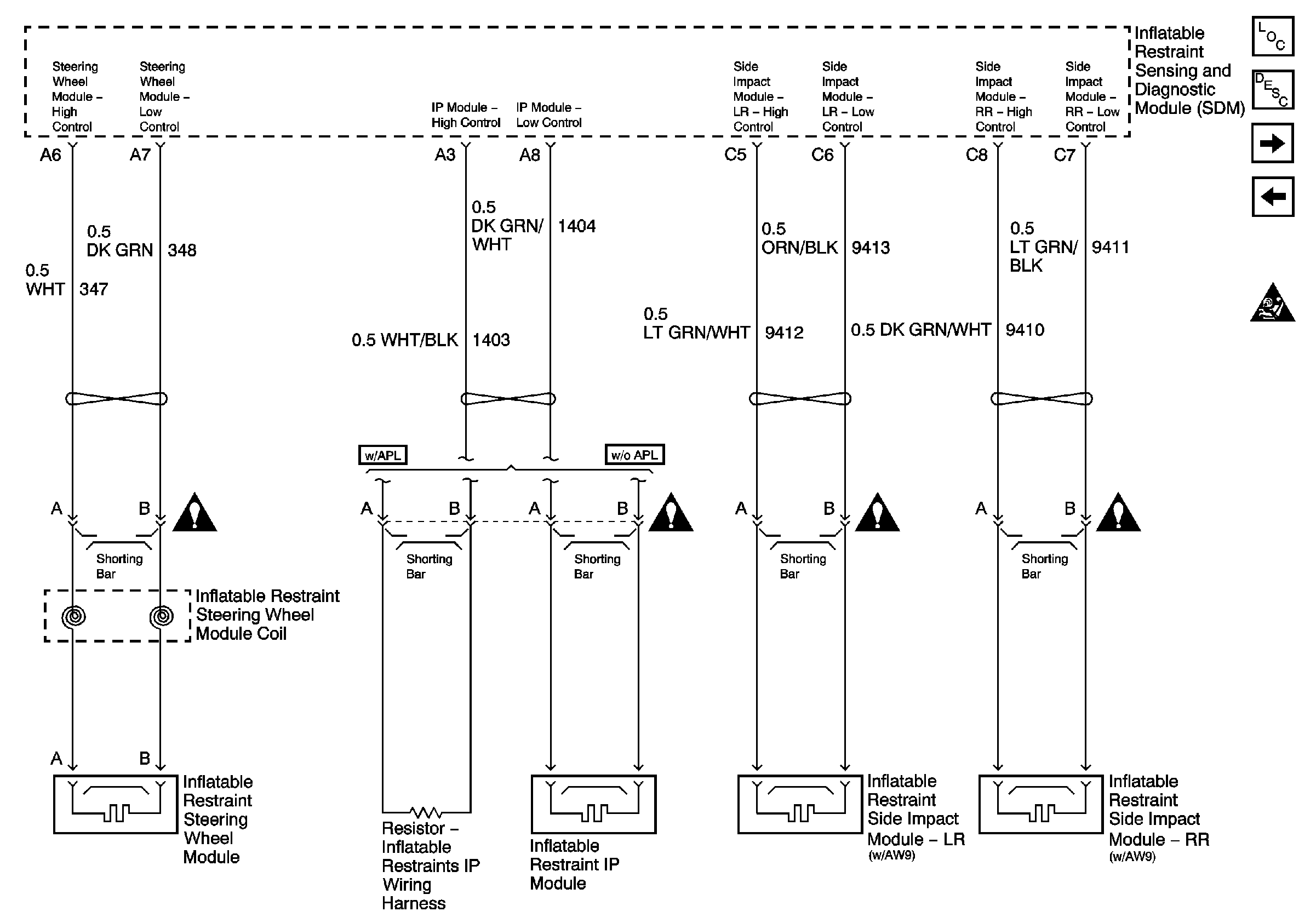
Figure 2:

SDM Front and Rear Side Inflator Modules (w/AW9)


Object Number: 663385  Size: FS
Master Electrical Component List
SIR System Description and Operation
SDM Side Inflator Modules and Pretentionsioners
Power, Ground and Side Impact Sensors
SIR Caution
SIR Schematic Icons
SIR Schematic Icons
SIR Schematic Icons
SIR Schematic Icons
Figure 3:

SDM Side Inflator Modules and Pretentionsioners


Object Number: 663386  Size: FS
Master Electrical Component List
SIR System Description and Operation
SDM Front and Rear Side Inflator Modules (w/AW9)
SIR Caution
SIR Schematic Icons
SIR Schematic Icons