GM Service Manual Online
For 1990-2009 cars only
Makes
🢒
Cadillac
🢒
2001
🢒
DeVille
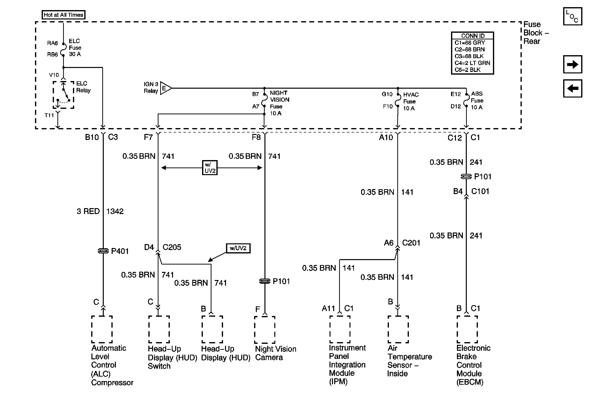
🢒 ELC, Night Vision, HVAC, ABS Fuses
ELC, Night Vision, HVAC, ABS Fuses
ELC, Night Vision, HVAC, ABS Fuses
Master Electrical Component List
IGN 3 Fuses