GM Service Manual Online
For 1990-2009 cars only
Makes
🢒
Cadillac
🢒
2001
🢒
DeVille
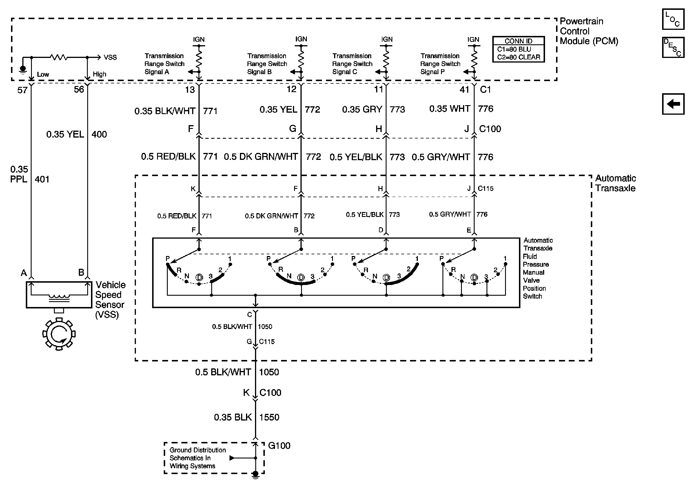
🢒 IMS Switch and VSS
IMS Switch and VSS
IMS Switch and VSS
Master Electrical Component List
Powertrain Control Module Description
Automatic Transaxle - Sensors
G100