GM Service Manual Online
For 1990-2009 cars only
Makes
🢒
Cadillac
🢒
2001
🢒
DeVille
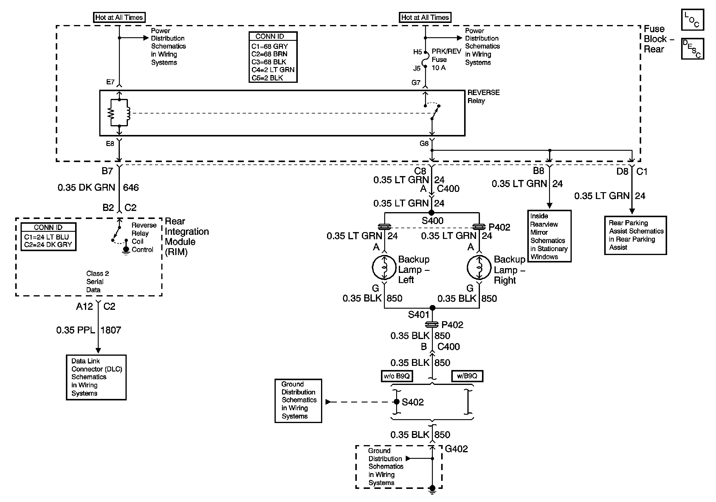
🢒 Backup Lamps
Backup Lamps
Master Electrical Component List
Exterior Lighting Systems Description and Operation
Rear Parking Aid Module - Power and Ground
Retained Accessory Power (RAP)
G402 Backup Lamps, Courtesy Lamps and License Lamp
G402 Backup Lamps, Courtesy Lamps and License Lamp
PRK/REV, PRK BRK, and RR DEFOG Fuses
Class 2 Serial Data (1 of 3)