GM Service Manual Online
For 1990-2009 cars only
Makes
🢒
Cadillac
🢒
2001
🢒
DeVille
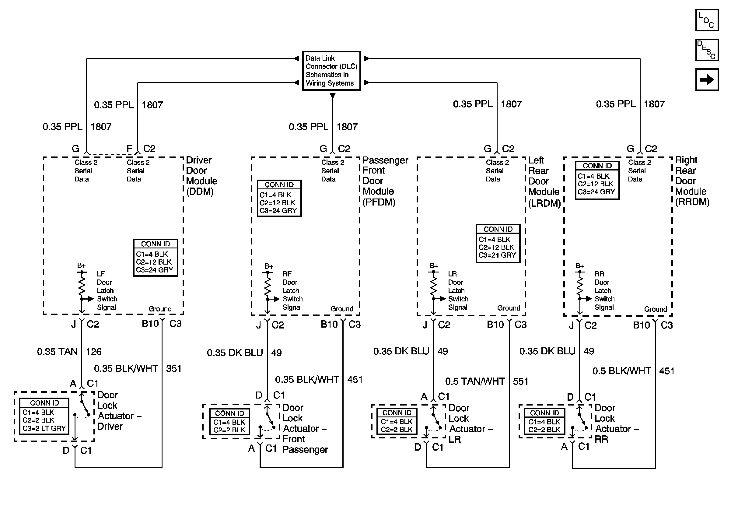
🢒 Door Open Inputs
Door Open Inputs
Door Open Inputs
Master Electrical Component List
Interior Lighting Systems Description and Operation
Interior Lamp Relay, Headlamp Switch, and Rear Door Courtesy Lamps
Class 2 Serial Data (1 of 3)