GM Service Manual Online
For 1990-2009 cars only
Makes
🢒
Cadillac
🢒
2001
🢒
DeVille
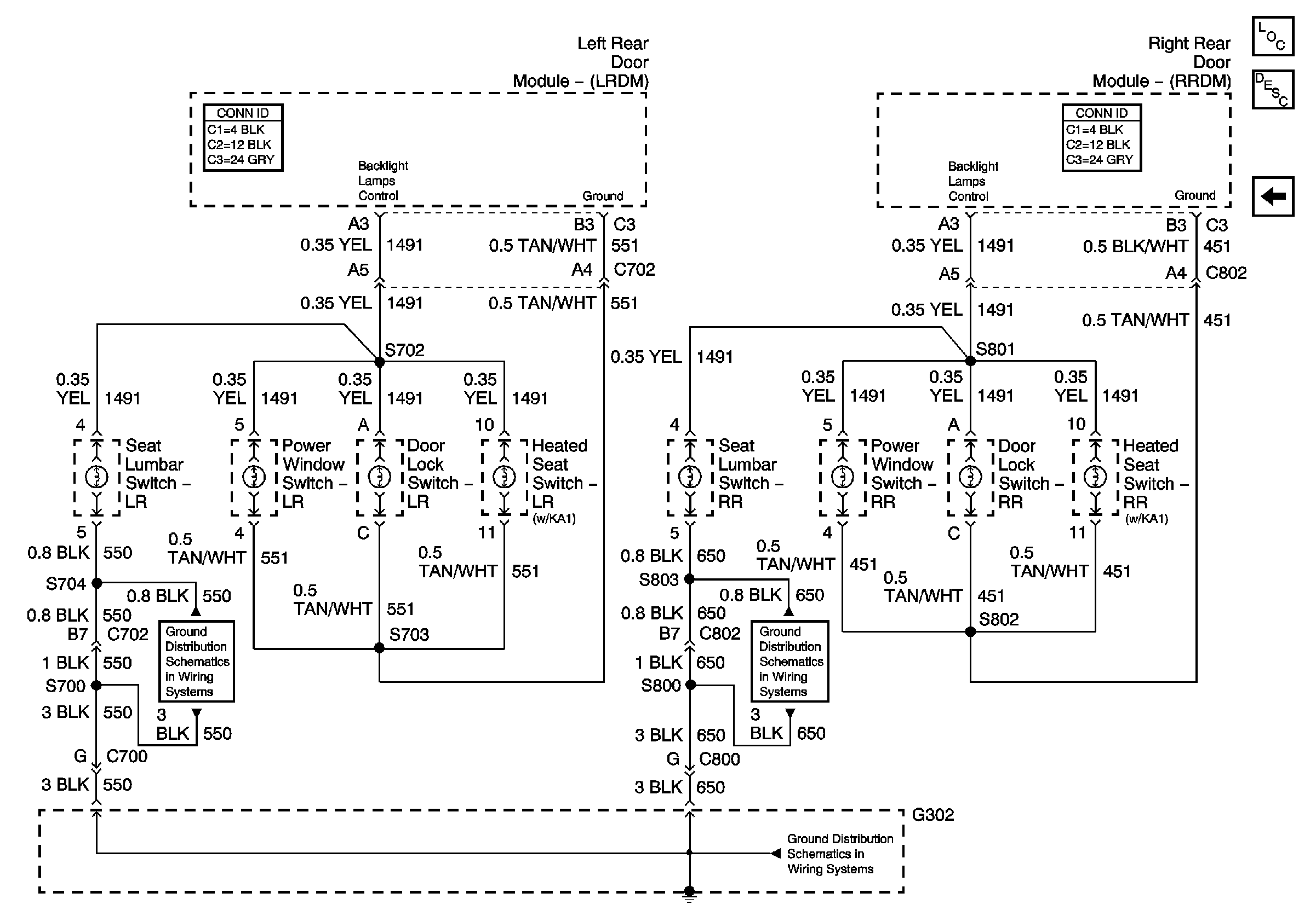
🢒 Rear Door Dimming
Rear Door Dimming
Rear Door Dimming
Master Electrical Component List
Interior Lighting Systems Description and Operation
Middle Door Dimming
G302 Right Front Seat
G302 Right Front Seat
G302 Right Front Seat