GM Service Manual Online
For 1990-2009 cars only
Makes
🢒
Cadillac
🢒
2001
🢒
DeVille
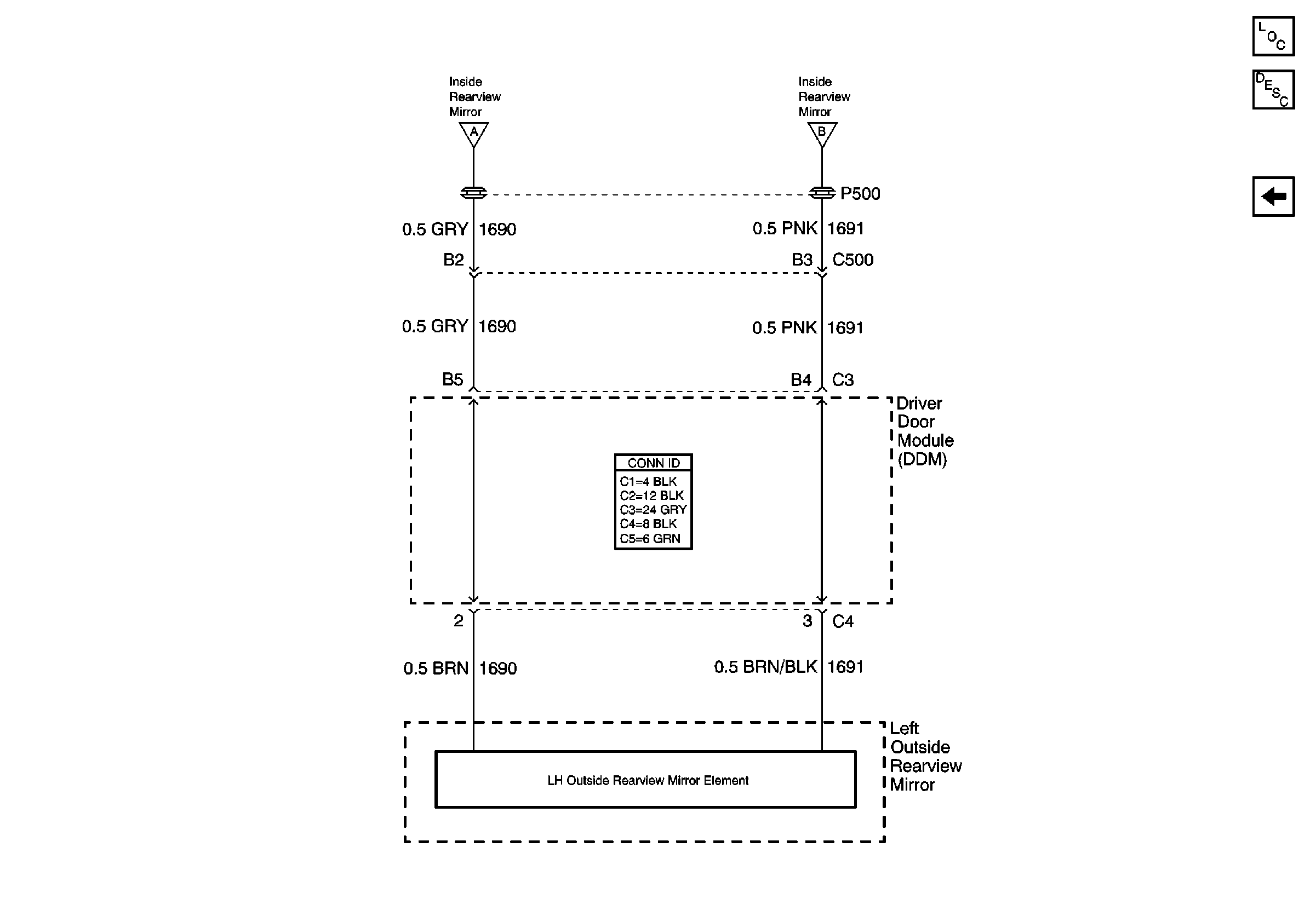
🢒 Left Outside Rearview Mirror
Left Outside Rearview Mirror
Left Outside Rearview Mirror
Master Electrical Component List
Automatic Day-Night Mirror Description and Operation
Inside Rear View Mirror