GM Service Manual Online
For 1990-2009 cars only
Makes
🢒
Cadillac
🢒
2001
🢒
DeVille
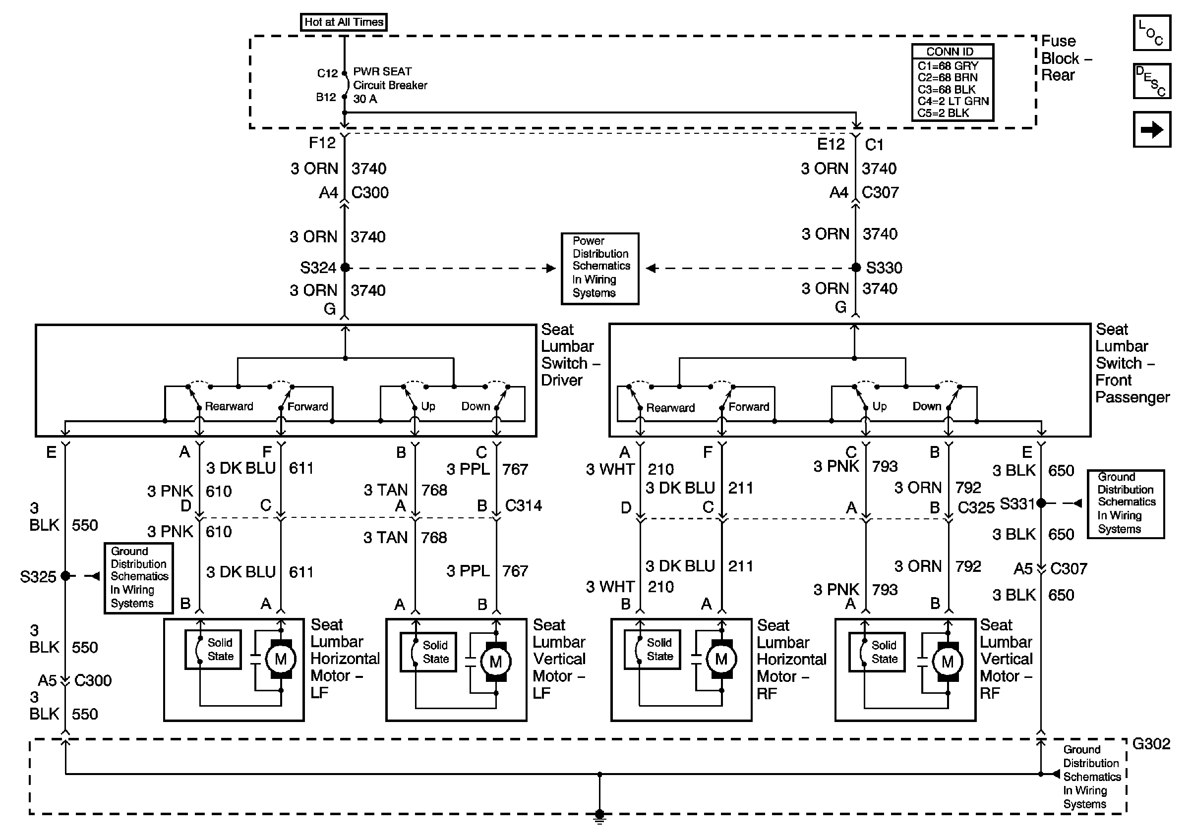
🢒 Lumbar Support Front Seats (AL2)
Lumbar Support Front Seats (AL2)
Lumbar Support Front Seats (AL2)
Master Electrical Component List
Lumbar Support Description and Operation w/o Memory-A45
Lumbar Support Rear Seats
G302 Right Front Seat
G302 Right Front Seat
G302 Left Front Seat
NAV Fuse and PWR Seat Circuit Breaker
NAV Fuse and PWR Seat Circuit Breaker