GM Service Manual Online
For 1990-2009 cars only
Makes
🢒
Cadillac
🢒
2001
🢒
DeVille
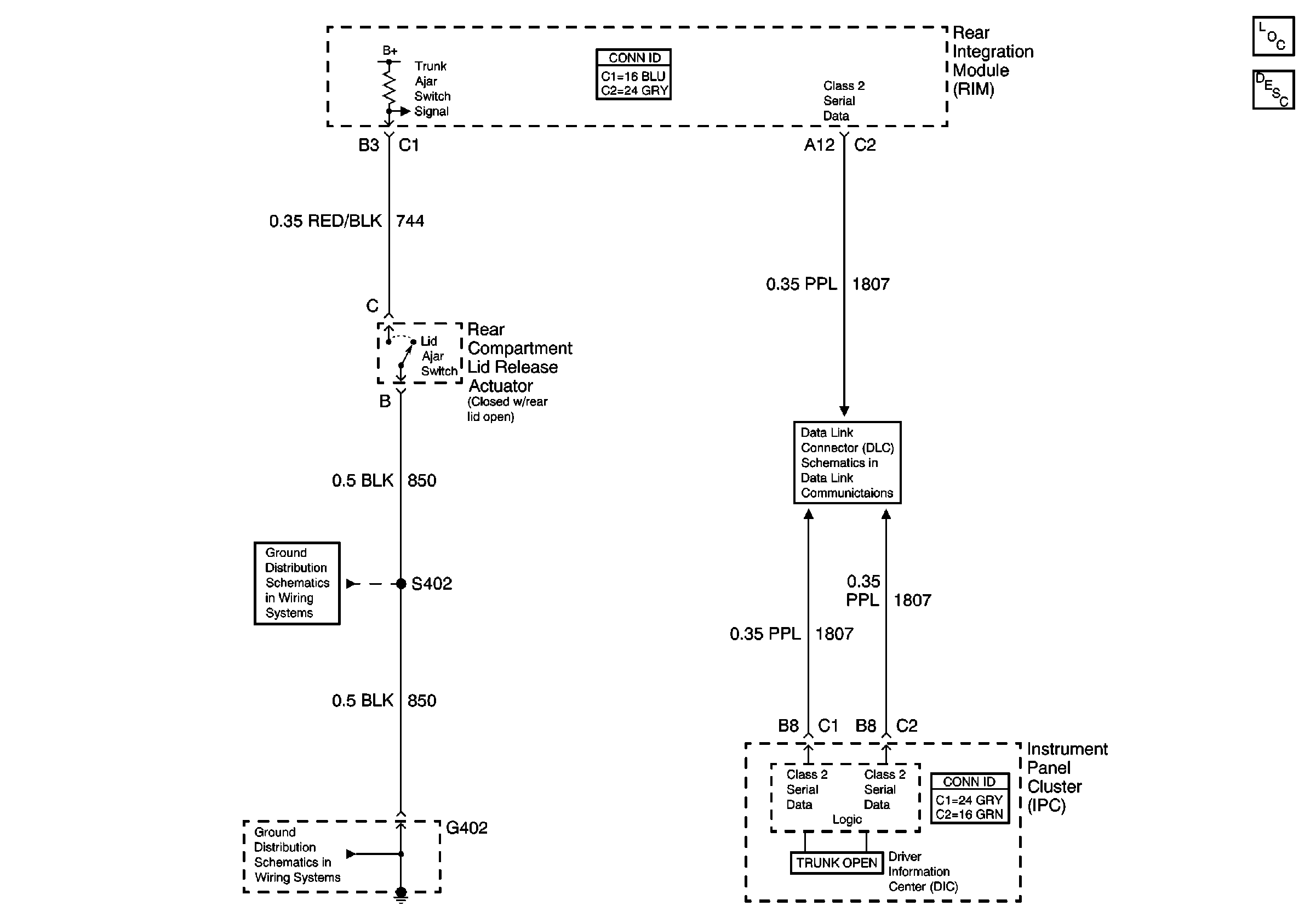
🢒 Rear Compartment Lid Ajar Signal
Rear Compartment Lid Ajar Signal
Rear Compartment Lid Ajar Signal
Master Electrical Component List
Instrument Cluster Description and Operation
Driver Information Center
Class 2 Serial Data (1 of 3)
G402 Backup Lamps, Courtesy Lamps and License Lamp
G402 Backup Lamps, Courtesy Lamps and License Lamp