GM Service Manual Online
For 1990-2009 cars only

Rear Seat Back Cushion Replacement 1stDesign

Removal Procedure

    Caution: When you are performing service on or near the SIR components or the SIR wiring, you must disable the SIR system. Refer to Disabling the SIR System. Failure to follow the correct procedure could cause air bag deployment, personal injury, or unnecessary SIR system repairs.


    Object Number: 106073  Size: SH
  1. Remove the upper trunk trim. Refer to Rear Compartment Front Trim Panel Replacement in Body Rear End.
  2. Remove the fasteners and the cable clips from the trunk pass-through release cable.
  3. Remove the rear seat cushion. Refer to Rear Seat Cushion Replacement .
  4. Remove the center seat belt and shoulder belt buckle/seat back anchor bolts.
  5. Place the center shoulder belt on the rear shelf panel.

  6. Object Number: 106075  Size: SH
  7. Using a straight flat-bladed tool, insert the tool between the top of the seat back and rear of the shelf panel.

  8. Object Number: 625748  Size: SH
  9. Push down on the flat-bladed tool in order to release the rear seat back retainers.

  10. Object Number: 106079  Size: SH
  11. Release the four retainers and pull the seat back away from the cross car beam.

  12. Object Number: 493748  Size: SH
  13. Remove the pass through cable (1) from the seat back pass through.
  14. Disconnect the heated seat and rear lumbar electrical connector, if equipped.
  15. Position the rear shoulder belts in order to clear the rear seat back during removal.
  16. Remove the rear seat back.

Installation Procedure


    Object Number: 106079  Size: SH
  1. Install the rear seat back into the car.

  2. Object Number: 493748  Size: SH
  3. Install the pass through cable (1) to the seat back pass through door.
  4. Install the heated seat electrical and rear lumbar connectors, if equipped.
  5. Position the rear shoulder belts over the seat back.
  6. Align the four retainer clips on the seat back with the slots on the cross car beam.
  7. Push on the seat back firmly , at the top, in order to engage the upper seat back clips.

  8. Object Number: 106073  Size: SH
  9. Position the center shoulder belt over the seat back.
  10. Notice: Use the correct fastener in the correct location. Replacement fasteners must be the correct part number for that application. Fasteners requiring replacement or fasteners requiring the use of thread locking compound or sealant are identified in the service procedure. Do not use paints, lubricants, or corrosion inhibitors on fasteners or fastener joint surfaces unless specified. These coatings affect fastener torque and joint clamping force and may damage the fastener. Use the correct tightening sequence and specifications when installing fasteners in order to avoid damage to parts and systems.

    Important: 

       • Ensure that the bolt threads and bolt holes are free of any sealer patch material.
       • Ensure the seat belt buckles are properly positioned.
       • Ensure that the seat back frame wire hold downs are properly positioned between the dimples on the floor pan.

  11. Install the center seat belt and outer shoulder belt buckle anchor bolts.
  12. Tighten
    Tighten the bolts to 41 N·m (30 lb ft).

  13. Install the rear seat cushion. Refer to Rear Seat Cushion Replacement .
  14. Install the pass-through release cable handle fasteners and cable clips.
  15. Install the upper trunk trim. Refer to Rear Compartment Front Trim Panel Replacement in Body Rear End.

Rear Seat Back Cushion Replacement 2nd Design

Removal Procedure

    Caution: Refer to SIR Caution in the Preface section.


    Object Number: 106073  Size: SH
  1. Remove the upper trunk trim. Refer to Rear Compartment Front Trim Panel Replacement in Body Rear End.
  2. Remove the nut from the trunk pass-through release cable.
  3. Remove the rear seat cushion. Refer to Rear Seat Cushion Replacement .
  4. Remove the center seat belt and shoulder belt buckle/seat back anchor bolts.
  5. Place the center shoulder belt on the rear shelf panel.

  6. Object Number: 106075  Size: SH
  7. Using a straight flat-bladed tool, insert the tool between the top of the seat back and the rear shelf panel.

  8. Object Number: 625748  Size: SH
  9. Push down on the flat-bladed tool in order to release the rear seat back clips.

  10. Object Number: 106079  Size: SH
  11. Release the four clips and pull the seat back away from the cross car beam.

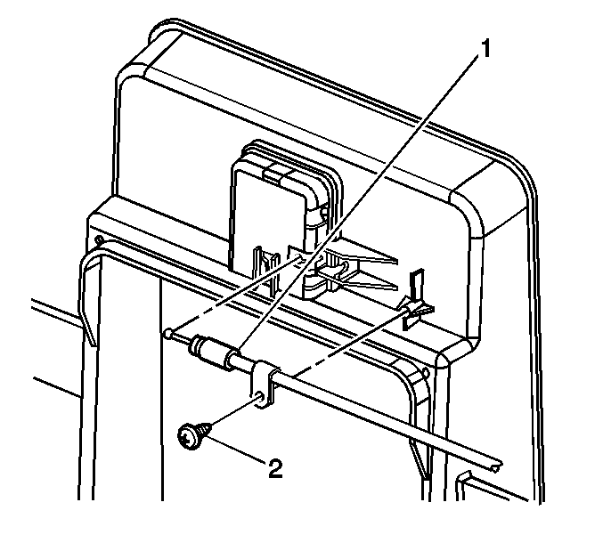
  12. Object Number: 832887  Size: SH
  13. Remove the pass through cable screw (2) from the seat back pass through.
  14. Remove the pass through cable (1) from the seat back pass through.
  15. Disconnect the heated seat and rear lumbar electrical connector, if equipped.
  16. Position the rear shoulder belts in order to clear the rear seat back during removal.
  17. Remove the rear seat back.

Installation Procedure


    Object Number: 106079  Size: SH
  1. Partially install the rear seat back to the vehicle.

  2. Object Number: 832887  Size: SH
  3. Install the pass through cable (1) to the seat back pass through.
  4. Notice: Use the correct fastener in the correct location. Replacement fasteners must be the correct part number for that application. Fasteners requiring replacement or fasteners requiring the use of thread locking compound or sealant are identified in the service procedure. Do not use paints, lubricants, or corrosion inhibitors on fasteners or fastener joint surfaces unless specified. These coatings affect fastener torque and joint clamping force and may damage the fastener. Use the correct tightening sequence and specifications when installing fasteners in order to avoid damage to parts and systems.

  5. Install the pass through cable screw (2) to the seat back pass through release cable.
  6. Tighten
    Tighten the screw to 2 N·m (18 lb in).

  7. Install the heated seat electrical and rear lumbar connectors, if equipped.
  8. Position the rear shoulder belts over the seat back.
  9. Align the four clips on the seat back with the slots on the cross car beam.
  10. Push on the seat back firmly , at the top, in order to engage the upper seat back clips.

  11. Object Number: 106073  Size: SH
  12. Position the center shoulder belt over the seat back.
  13. Important: 

       • Ensure that the bolt threads and bolt holes are free of any sealer patch material.
       • Ensure the seat belt buckles are properly positioned.
       • Ensure that the seat back frame wire hold downs are properly positioned between the dimples on the floor pan.

  14. Install the center seat belt and outer shoulder belt buckle anchor bolts.
  15. Tighten
    Tighten the bolts to 41 N·m (30 lb ft).

  16. Install the rear seat cushion. Refer to Rear Seat Cushion Replacement .
  17. Install the pass-through release cable handle nut.
  18. Tighten
    Tighten the bolts to 9 N·m (80 lb in).

  19. Install the upper trunk trim. Refer to Rear Compartment Front Trim Panel Replacement in Body Rear End.