GM Service Manual Online
For 1990-2009 cars only
Makes
🢒
Cadillac
🢒
2002
🢒
DeVille
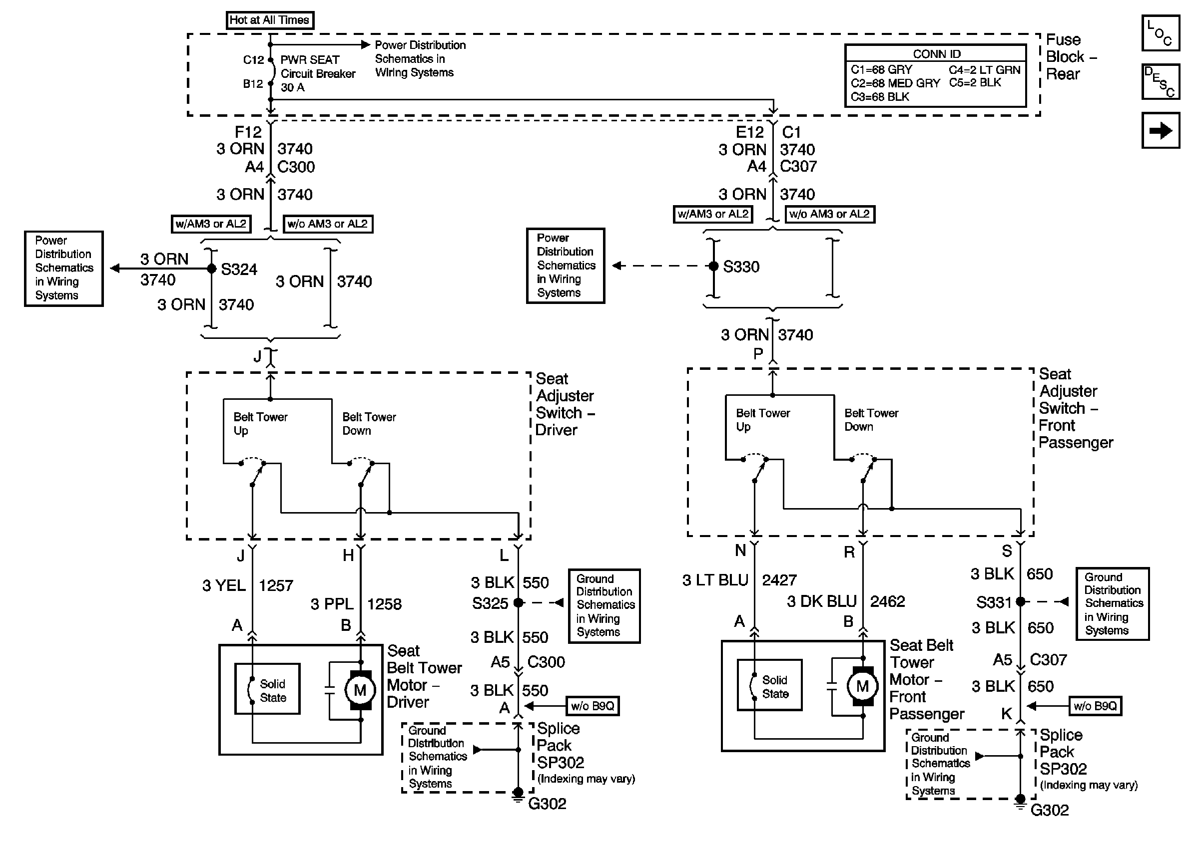
🢒 Left/Right Belt Towers, Power, Ground, Switches and Motors
Left/Right Belt Towers, Power, Ground, Switches and Motors
Left/Right Belt Towers, Power, Ground, Switches and Motors
Master Electrical Component List
Seat Belt System Description and Operation
Power, Ground Left Belt Tower Switch, Motor, MSM (w/A45/AL2)
G302 1 of 3
G302 2 of 3
G302 2 of 3
NAV Fuse and PWR Seat Circuit Breaker
NAV Fuse and PWR Seat Circuit Breaker
G302 1 of 3