GM Service Manual Online
For 1990-2009 cars only

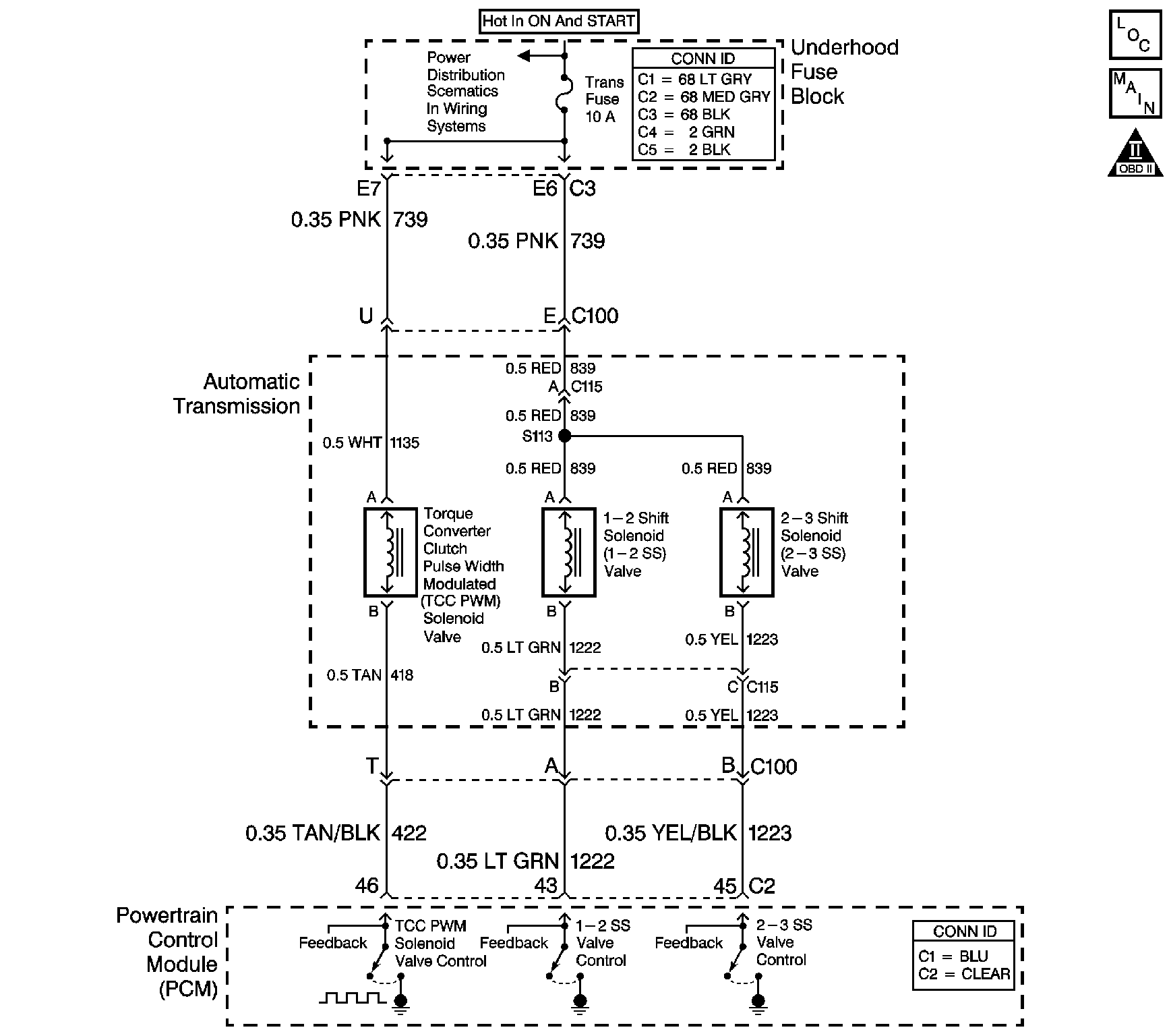
Object Number: 703062  Size: LF
Master Electrical Component List
Automatic Transmission Controls Schematics
OBD II Symbol Description Notice

Circuit Description

Ignition voltage is provided to the torque converter clutch pulse width modulated (TCC PWM) solenoid valve. The PCM controls the ON and OFF time of the solenoid by providing a ground through the output driver module (ODM). The PCM uses a PWM duty cycle, in order to control application and release of the TCC. When the solenoid is commanded OFF, the PCM senses high volts. When the solenoid is commanded ON, the PCM senses low volts.

If the PCM detects a continuous open, short to ground or short to voltage in the TCC PWM solenoid valve circuit, then DTC P1860 sets. DTC P1860 is a type B DTC.

Conditions for Running the DTC

    • The system voltage is 8-18 volts.
    • The engine run time is greater than 5 seconds.
    • The TCC PWM solenoid valve duty cycle is 10 percent or less or 90 percent or greater.

Conditions for Setting the DTC

The TCC PWM solenoid valve feedback circuit indicates a continuous open, short to ground or short to voltage for 4.3 seconds.

Action Taken When the DTC Sets

    • The PCM illuminates the malfunction indicator lamp (MIL) during the second consecutive trip in which the Conditions for Setting the DTC are met.
    • The PCM inhibits 4th gear when the transmission is in hot mode.
    • The PCM freezes transmission adapt functions.
    • The PCM records the operating conditions when the Conditions for Setting the DTC are met. The PCM stores this information as Freeze Frame and Failure Records.
    • The PCM stores DTC P1860 in PCM history during the second consecutive trip in which the Conditions for Setting the DTC are met.

Conditions for Clearing the MIL/DTC

    • The PCM turns OFF the MIL during the third consecutive trip in which the diagnostic test runs and passes.
    • A scan tool can clear the MIL/DTC.
    • The PCM clears the DTC from PCM history if the vehicle completes 40 warm-up cycles without an emission-related diagnostic fault occurring.
    • The PCM cancels the DTC default actions when the ignition switch is OFF long enough in order to power down the PCM.

Test Description

The numbers below refer to the step numbers on the diagnostic table.

  1. This step tests the PCM and the wiring to the AT inline 20-way connector.

  2. This step tests the control circuit for a short to voltage.

  3. This step tests the circuit for correct resistance.

DTC P1860

Step

Action

Value(s)

Yes

No

1

Did you perform the Powertrain Diagnostic System Check?

--

Go to Step 2

Go to Diagnostic System Check - Engine Controls in Engine Controls

2

  1. Install a scan tool.
  2. Turn ON the ignition, with the engine OFF.
  3. Important: Before clearing the DTC, use the scan tool in order to record the Freeze Frame and Failure Records. Using the Clear Info function erases the Freeze Frame and Failure Records from the PCM.

  4. Record the DTC Freeze Frame and Failure Records.
  5. Clear the DTC.

Is DTC P1842 or P1845 also set?

--

Go to Step 3

Go to Step 8

3

  1. Remove the TRANS fuse.
  2. Inspect the fuse for an open.
  3. Refer to Wiring Repairs in Wiring Systems.

Did you find the condition?

--

Go to Step 4

Go to Step 6

4

Important: The condition that affects this circuit may exist in other connecting branches of the circuit. Refer to Power Distribution Schematics in Wiring Systems for complete circuit distribution.

Test the ignition 1 voltage circuit (CKT 739) of the TCC PWM solenoid valve for a short to ground between the underhood fuse block and the AT inline 20-way connector.

Refer to Circuit Testing and Wiring Repairs in Wiring Systems.

Did you find and correct the condition?

--

Go to Step 25

Go to Step 5

5

Important: The condition that affects this circuit may exist in other connecting branches of the circuit. Refer to Power Distribution Schematics in Wiring Systems for complete circuit distribution.

Test the ignition 1 voltage circuit (CKT 1135) of the TCC PWM solenoid valve for a short to ground between the AT inline 20-way connector and the TCC PWM solenoid valve.

Refer to Circuit Testing in Wiring Systems.

Did you find the condition?

--

Go to Step 22

--

6

Test the ignition 1 voltage circuit (CKT 739) of the TCC PWM solenoid valve for an open between the underhood fuse block and the AT inline 20-way connector.

Refer to Circuit Testing and Wiring Repairs in Wiring Systems.

Did you find and correct the condition?

--

Go to Step 25

Go to Step 7

7

Test the ignition 1 voltage circuit (CKT 1135) of the TCC PWM solenoid valve for an open between the AT inline 20-way connector and the TCC PWM solenoid valve.

Refer to Circuit Testing in Wiring Systems.

Did you find the condition?

--

Go to Step 22

--

8

  1. Turn OFF the ignition.
  2. Disconnect the AT inline 20-way connector. Additional DTCs may set.
  3. Install the J 44152 Jumper Harness (20 pins) on the engine side of the AT inline 20-way connector.
  4. Using the J 35616 GM Terminal Test Kit, connect a test lamp between terminals U and T of the J 44152 .
  5. Refer to Automatic Transmission Inline Harness Connector End View .

  6. Turn ON the ignition, with the engine OFF.

Is the test lamp ON?

--

Go to Step 9

Go to Step 11

9

  1. Turn OFF the ignition.
  2. Disconnect the PCM connector C2. Additional DTCs may set.
  3. Turn ON the ignition, with the engine OFF.

Is the test lamp ON?

--

Go to Step 10

Go to Step 24

10

Test the control circuit (CKT 422) of the TCC PWM solenoid valve for a short to ground between the PCM connector C2 and the AT inline 20-way connector.

Refer to Circuit Testing and Wiring Repairs in Wiring Systems.

Did you find and correct the condition?

--

Go to Step 25

--

11

Using the scan tool, cycle the TCC PWM solenoid valve ON and OFF three times.

Does the test lamp cycle ON and OFF as commanded?

--

Go to Step 16

Go to Step 12

12

Is the test lamp always OFF?

--

Go to Step 13

--

13

Test the TCC PWM solenoid control circuit (CKT 422) and the Ignition 1 voltage circuit (CKT 739) for an open between the PCM connector C2 and the AT inline 20-way connector.

Refer to Circuit Testing and Wiring Repairs in Wiring Systems.

Did you find and correct the condition?

--

Go to Step 25

Go to Step 14

14

Connect a test lamp from terminal T of the J 44152 to ground.

Refer to Automatic Transmission Inline Harness Connector End View .

Is the test lamp ON?

--

Go to Step 15

Go to Step 24

15

Test the control circuit (CKT 422) of the TCC PWM solenoid valve for a short to voltage between the PCM connector C2 and the AT inline 20-way connector.

Refer to Circuit Testing and Wiring Repairs in Wiring Systems.

Did you find and correct the condition?

--

Go to Step 25

--

16

  1. Turn OFF the ignition.
  2. Disconnect the J 44152 from the engine side of the AT inline 20-way connector.
  3. Install the J 44152 on the transmission side of the AT inline 20-way connector.
  4. Using the DMM and the J 35616 , measure the resistance between terminals U and T of the J 44152 .

Refer to Automatic Transmission Inline Harness Connector End View .

Is the resistance within the specified range?

10-15 ohms

Go to Step 19

Go to Step 17

17

Is the resistance greater than the specified value?

15 ohms

Go to Step 18

Go to Step 19

18

  1. Test the control circuit (CKT 418) of the TCC PWM solenoid valve for an open between the AT inline 20-way connector and the TCC PWM solenoid valve.
  2. Test the ignition 1 voltage circuit (CKT 1135) of the TCC PWM solenoid valve for an open between the AT inline 20-way connector and the TCC PWM solenoid valve.

Refer to Circuit Testing in Wiring Systems.

Did you find a condition?

--

Go to Step 22

Go to Step 23

19

Measure the resistance from terminal T of the J 44152 to ground.

Refer to Automatic Transmission Inline Harness Connector End View .

Is the resistance less than the specified value?

100 ohms

Go to Step 20

Go to Step 21

20

Test the control circuit (CKT 418) of the TCC PWM solenoid valve for a short to ground between the AT inline 20-way connector and the TCC PWM solenoid valve.

Refer to Circuit Testing in Wiring Systems.

Did you find a condition?

--

Go to Step 22

--

21

Measure the resistance between terminal T and all other terminals, except terminal U, of the J 44152 .

Refer to Automatic Transmission Inline Harness Connector End View .

Is the resistance between terminal T and any other terminal, except terminal U, less than the specified value?

100 ohms

Go to Step 22

Go to Step 23

22

Important: The automatic transmission wiring harness consists of two separate harnesses, the Automatic Transmission Wiring Harness Assembly, GM P/N 15320475, and the Automatic Transmission Wiring Extension Harness Assembly, GM P/N 15320478. In order to avoid the unnecessary replacement of parts, only replace the Automatic Transmission Wiring Harness Assembly, GM P/N 15320475.

Replace the automatic transmission wiring harness.

Refer to Transmission Overhaul in the 4T80-E section of the Transmission Unit Repair Manual.

Did you complete the replacement?

--

Go to Step 25

--

23

Replace the TCC PWM solenoid valve.

Refer to Transmission Overhaul in the 4T80-E section of the Transmission Unit Repair Manual.

Did you complete the replacement?

--

Go to Step 25

--

24

Replace the PCM.

Refer to Powertrain Control Module Replacement in Engine Controls.

Did you complete the replacement?

--

Go to Step 25

--

25

Perform the following procedure in order to verify the repair:

  1. Select DTC.
  2. Select Clear Info.
  3. Operate the vehicle under the following conditions:
  4. • Drive the vehicle in D4.
    • Increase vehicle speed until the TCC is applied.
    • Ensure that DTCs P0741 and P0742 have both run and passed.
    • Refer to Conditions for Running the DTC, P0741 and P0742.
  5. Select Specific DTC.
  6. Enter DTC P1860.

Has the test run and passed?

--

System OK

Go to Step 1