GM Service Manual Online
For 1990-2009 cars only
Makes
🢒
Cadillac
🢒
2003
🢒
DeVille
🢒
Body and Accessories
🢒
Seats
🢒 Power Seats Schematics
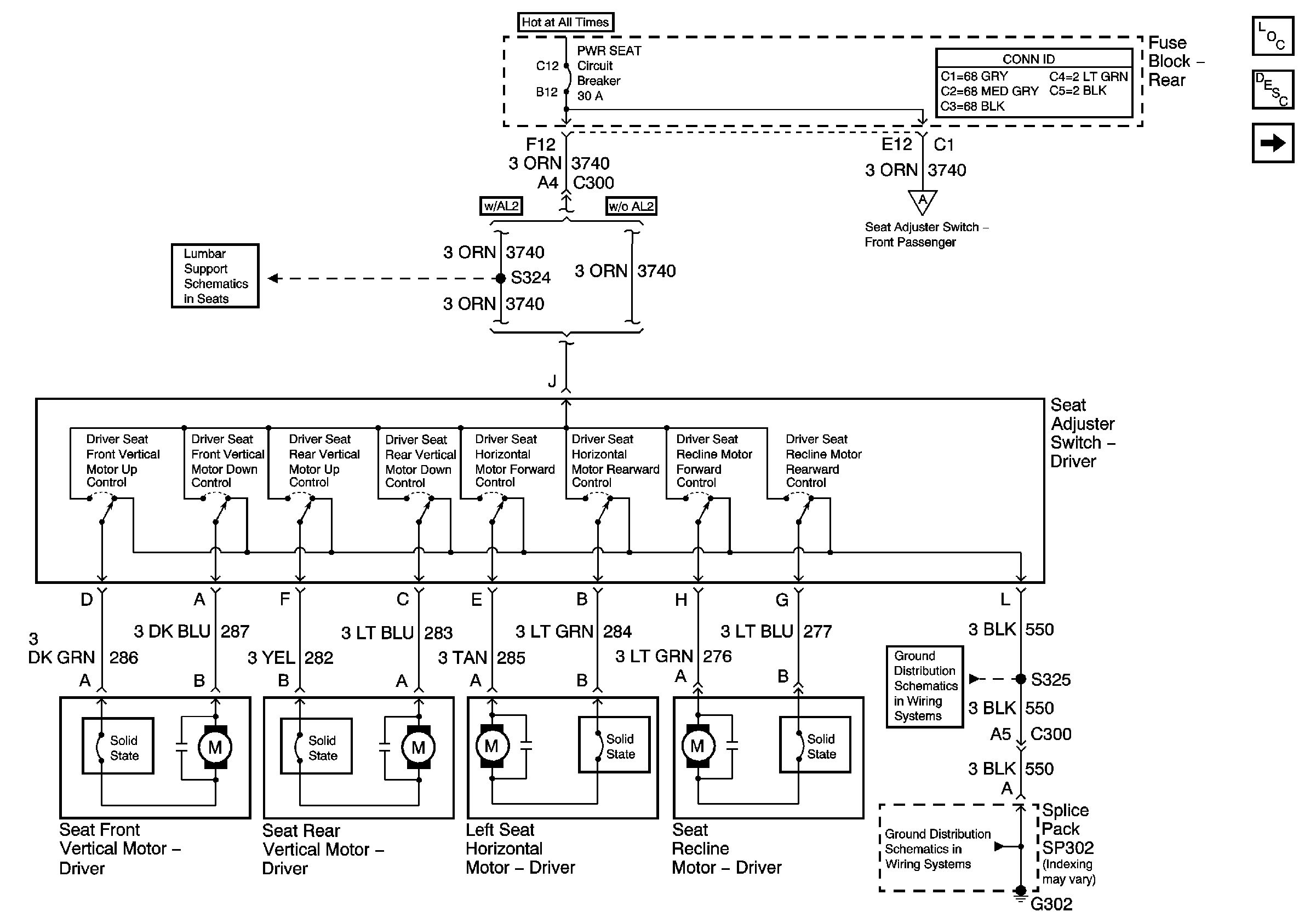
Figure
1:
Driver Seat Switch and Motors
Master Electrical Component List
Power Seats System Description and Operation
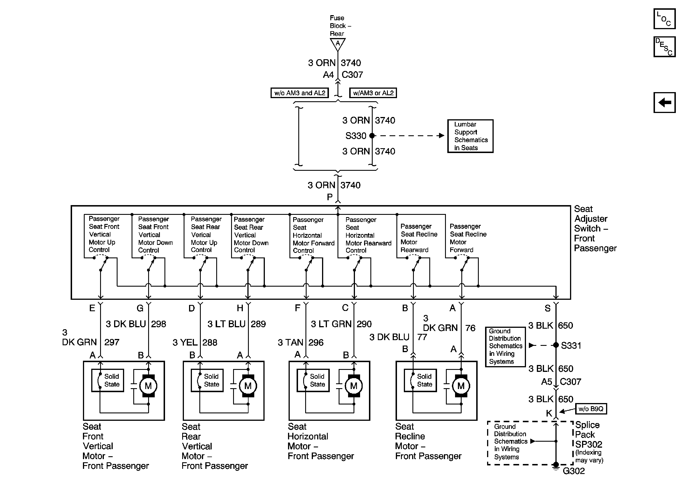
Passenger Seat Switch and Motors
Passenger Seat Switch and Motors
Front Seats (w/AL2)
G302 (2 of 3)
G302 (2 of 3)
Figure
2:
Passenger Seat Switch and Motors
Master Electrical Component List
Power Seats System Description and Operation
Driver Seat Switch and Motors
G302 (1 of 3)
G302 (1 of 3)
Driver Seat Switch and Motors
Front Seats (w/AL2)
Front Seats (w/AL2)