GM Service Manual Online
For 1990-2009 cars only
Makes
🢒
Cadillac
🢒
2004
🢒
DeVille
🢒
Accessories
🢒
Entertainment
🢒 Power Antenna Schematics
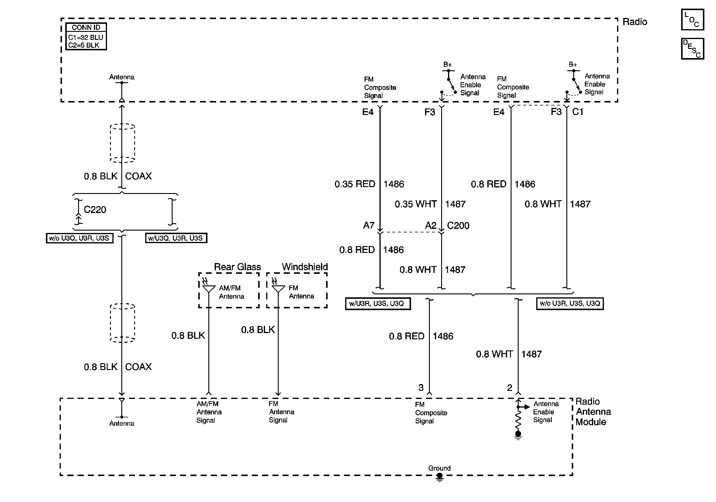
Power Antenna Schematics w/ B9Q
Master Electrical Component List
Radio/Audio System Description and Operation
G201 (1 of 3)
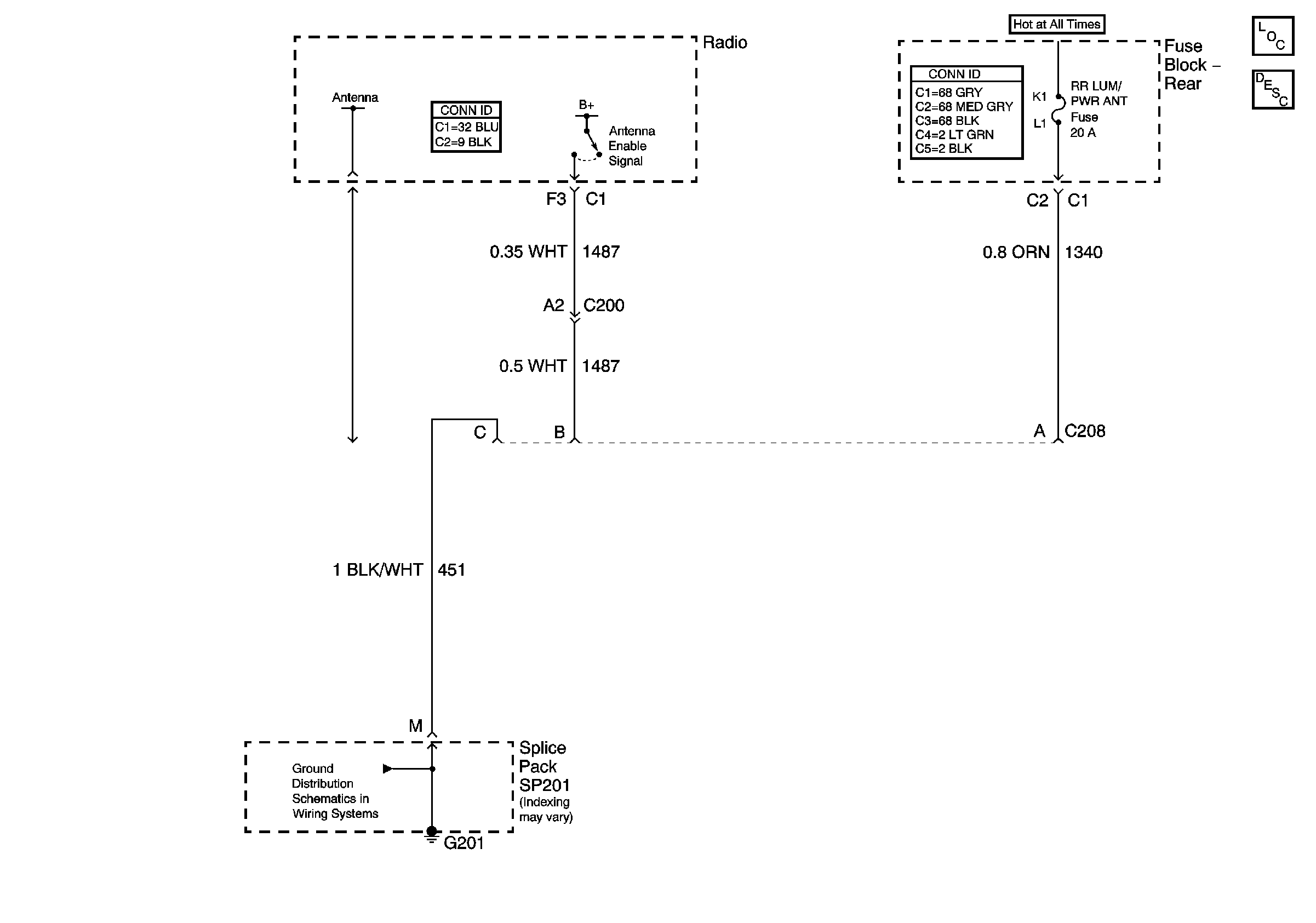
Power Antenna Schematics w/o B9Q
Master Electrical Component List
Radio/Audio System Description and Operation