GM Service Manual Online
For 1990-2009 cars only

Front Upper Speaker Replacement Windshield Pillar

Removal Procedure

  1. Remove the windshield pillar garnish molding. Refer to Windshield Pillar Garnish Molding Replacement in Interior Trim.

  2. Object Number: 568421  Size: SH
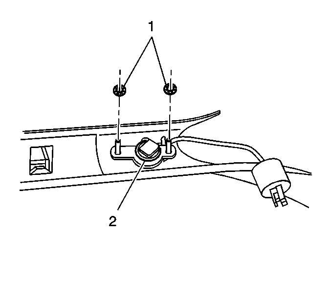
  3. Remove the speaker fasteners (1) from the windshield pillar garnish molding.

  4. Object Number: 568420  Size: SH
  5. Remove the speaker and bracket assembly from the windshield pillar garnish molding.

Installation Procedure


    Object Number: 568420  Size: SH
  1. Install the speaker and bracket assembly to the studs on the windshield garnish molding.

  2. Object Number: 568421  Size: SH
  3. Install the speaker assembly fasteners (1) in order to retain the speaker and bracket assembly (2) to the windshield garnish molding.
  4. Install the windshield garnish molding. Refer to Windshield Pillar Garnish Molding Replacement in Interior Trim.