GM Service Manual Online
For 1990-2009 cars only
Figure 1:

Power, Ground and Sensors


Object Number: 798025  Size: FS
Master Electrical Component List
SIR System Description and Operation
Steering Wheel, IP, LR Side, and RR Side Inflator Modules
Seat Belt Schematics
SIR Schematic Icons
SIR Schematic Icons
SIR Schematic Icons
SIR Schematic Icons
Rear Fuse Block- SIR, VENT SOL, IGN 1Fuse
Class 2 Serial Data (1 of 3)
Figure 2:

Front and Rear Side Inflator Modules


Object Number: 798024  Size: FS
Master Electrical Component List
SIR System Description and Operation
LF Side and RF Side Inflator Modules and Pretensioners
Power, Ground and Side Impact Sensors
SIR Schematic Icons
SIR Schematic Icons
SIR Schematic Icons
SIR Schematic Icons
SIR Schematic Icons
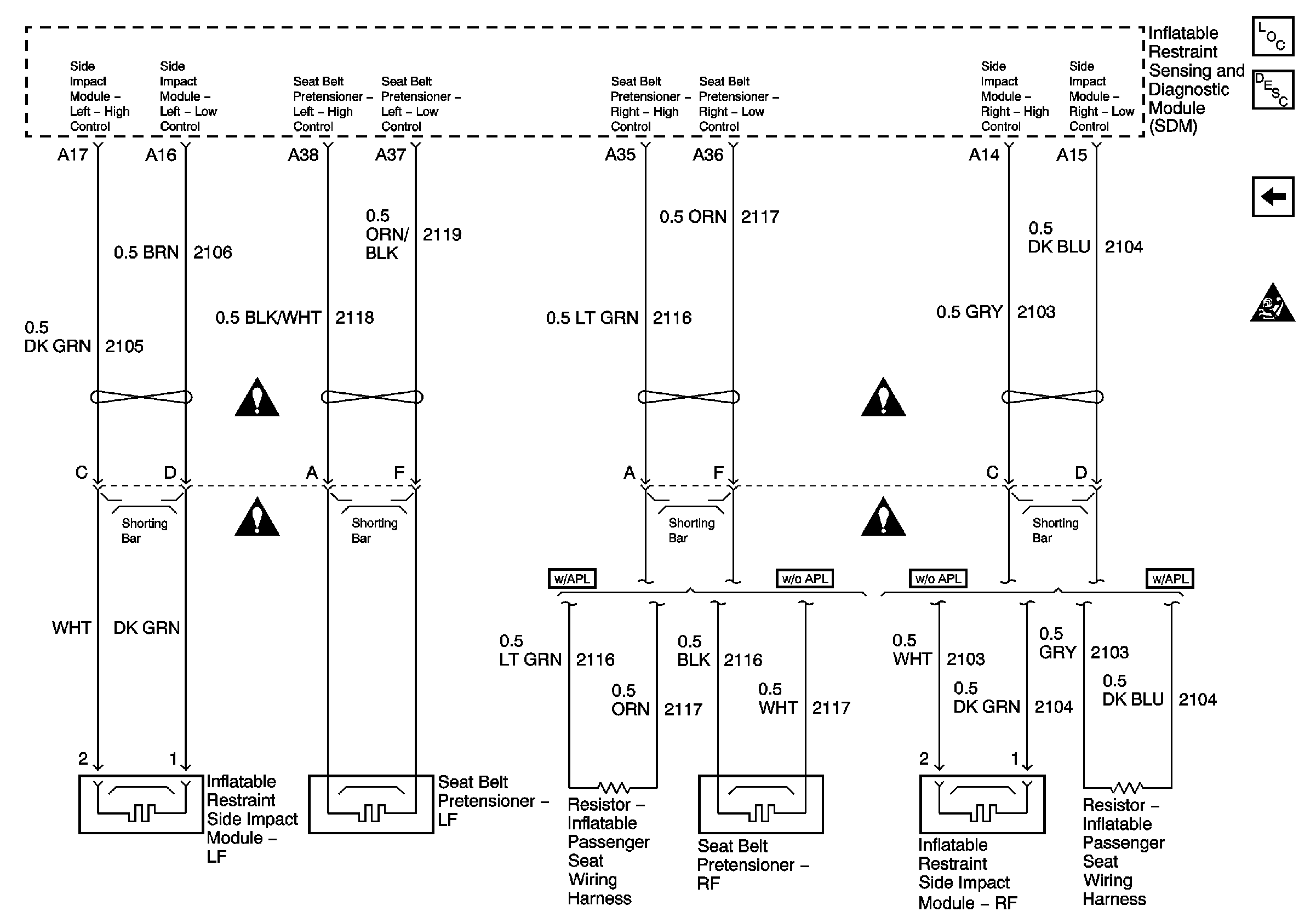
Figure 3:

Side Inflator Modules and Pretensioners


Object Number: 798027  Size: FS
Master Electrical Component List
SIR System Description and Operation
Steering Wheel, IP, LR Side, and RR Side Inflator Modules
SIR Schematic Icons
SIR Schematic Icons
SIR Schematic Icons
SIR Schematic Icons
SIR Schematic Icons