GM Service Manual Online
For 1990-2009 cars only
Makes
🢒
Cadillac
🢒
2004
🢒
DeVille
🢒
Transmission/Transaxle
🢒
Automatic Transaxle - 4T80-E
🢒 Body Control System Component Views
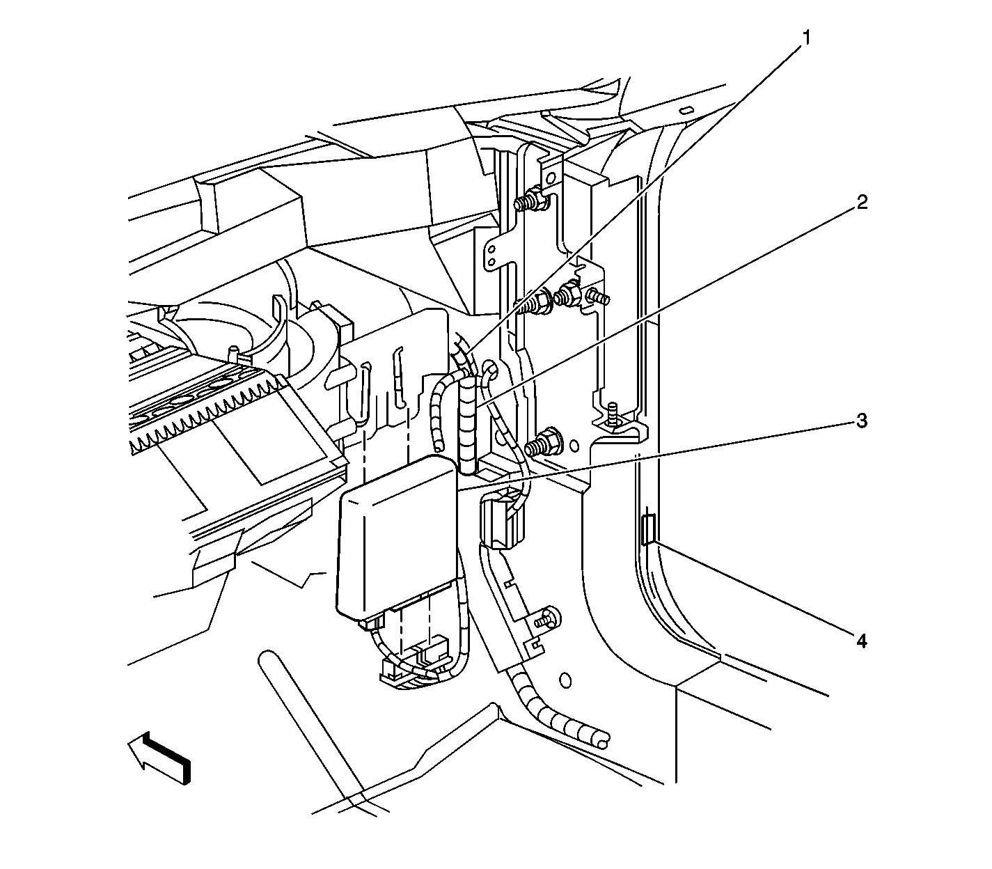
Figure
1:
Right Side of the Instrument Panel, Near the Blower Motor
(1)
S216
(2)
S217
(3)
Dash Integration Module (DIM)
(4)
G201
Figure
2:
Passenger Compartment, Center of the Instrument Panel
(1)
Sunload Sensor Assembly
(2)
Speaker - Front I/P Midrange
(3)
Hazard Switch
(4)
Instrument Panel Integration Module (IPM)
(5)
Radio (w/o U3R, U3S, U3Q)
(6)
Driver Information Center (DIC) Switch - Right
Figure
3:
Right Rear of the Passenger Compartment, Behind the Rear Seat Back
(1)
Cellular Telephone Module
(2)
Rear Integration Module (RIM)